TOP
|
特許
|
意匠
|
商標
特許ウォッチ
Twitter
他の特許を見る
10個以上の画像は省略されています。
公開番号
2025143036
公報種別
公開特許公報(A)
公開日
2025-10-01
出願番号
2024042719
出願日
2024-03-18
発明の名称
半導体記憶装置、メモリシステム、および方法
出願人
キオクシア株式会社
代理人
弁理士法人酒井国際特許事務所
主分類
G06F
12/06 20060101AFI20250924BHJP(計算;計数)
要約
【課題】インタフェースチップが備えるフィーチャレジスタ群に好適にパラメータデータを格納できる半導体記憶装置、メモリシステムおよび方法を提供する。
【解決手段】半導体記憶装置は、第1装置(メモリチップCP0-0~CP0-3,CP1-0~CP1-3)と、第2装置(インタフェースチップ)と、を備える。第1装置は、第1アドレス空間がマッピングされた第1レジスタ群(フィーチャレジスタ群203)と、メモリセルアレイと、を備える。第2装置は、第1アドレス空間とは排他な共通の第2アドレス空間がマッピングされた複数のページを含む第2レジスタ群(フィーチャレジスタ群112)を備える。第2装置は、設定コマンドのコマンドシーケンスを受信したとき、コマンドシーケンスに含まれるアドレスが第1値である場合に複数のページのうちのパラメータデータの格納先のページを設定コマンドのコマンドシーケンスに基づいて特定する。
【選択図】図3
特許請求の範囲
【請求項1】
アドレスを含む設定コマンドのコマンドシーケンスが入力される端子群と、
第1アドレス空間がマッピングされた第1レジスタ群と、メモリセルアレイと、を備え、前記アドレスが前記第1アドレス空間に含まれる場合に前記第1レジスタ群へのパラメータデータの格納を行い、前記アドレスが前記第1アドレス空間に含まれない場合に前記第1レジスタ群へのパラメータデータの格納を行わない、第1装置と、
前記端子群と前記第1装置との間に配され、前記第1アドレス空間とは排他な共通の第2アドレス空間がマッピングされた複数のページを含む第2レジスタ群を備え、前記アドレスが第1値である場合に前記複数のページのうちのパラメータデータの格納先のページを前記コマンドシーケンスに基づいて特定する、ように構成された第2装置と、
を備える半導体記憶装置。
続きを表示(約 2,500 文字)
【請求項2】
前記設定コマンドのコマンドシーケンスは前記アドレスに加えてデータを含み、
前記第1値は、前記第2アドレス空間に含まれ、
前記第2装置は、
前記第1値のアドレスを含む前記設定コマンドのコマンドシーケンスである第1コマンドシーケンスを前記端子群を介して受信した場合、前記第1コマンドシーケンスに含まれるデータに基づいて前記複数のページのうちの1つのページを特定し、
前記第1コマンドシーケンスの後に前記第1値と異なる前記第2アドレス空間に含まれる第2値のアドレスを含む前記設定コマンドのコマンドシーケンスである第2コマンドシーケンスを前記端子群を介して受信した場合、特定された前記1つのページ内の前記第2値が示す位置に前記第2コマンドシーケンスに含まれるデータをパラメータデータとして格納する、
請求項1に記載の半導体記憶装置。
【請求項3】
前記第1装置にLUN(Logical Unit Number)が与えられ、
前記設定コマンドのコマンドシーケンスは前記アドレスに加えてパラメータデータを含み、
前記アドレスは、前記第1アドレス空間および前記第2アドレス空間のうちの何れかに含まれる第1アドレスと、前記LUNが指定され得る第2アドレスと、を含み、
前記第1値は、前記複数のページのそれぞれ異なるページに対応付けられた値の群のうちの何れかであり、
前記第2装置は、前記第1アドレスが前記第2アドレス空間に含まれる場合、前記第2アドレスを前記第1値として解釈し、前記複数のページのうちの前記第1値に対応した1つのページの前記第1アドレスが示す位置に前記パラメータデータを格納する、
請求項1に記載の半導体記憶装置。
【請求項4】
前記第1装置にLUNが与えられ、
前記第1値は、前記LUNとは排他な、前記複数のページのそれぞれ異なるページに対応付けられた値の群のうちの何れかであり、
前記設定コマンドのコマンドシーケンスは前記アドレスに加えてパラメータデータを含み、
前記アドレスは、前記第1アドレス空間および前記第2アドレス空間のうちの何れかに含まれる第1アドレスと、前記LUNまたは前記第1値が指定され得る第2アドレスと、を含み、
前記第2装置は、前記第2アドレスが前記第1値である場合、前記複数のページのうちの前記第1値に対応した1つのページの前記第1アドレスが示す位置に前記パラメータデータを格納する、
請求項1に記載の半導体記憶装置。
【請求項5】
第1アドレス空間に含まれるアドレスを含む設定コマンドのコマンドシーケンスが入力される端子群と、
第1レジスタ群と、メモリセルアレイと、を備える第1装置と、
前記端子群と前記第1装置との間に配され、第2レジスタ群と、第1情報が格納されたメモリと、を備える第2装置と、
を備え、
前記第1アドレス空間は、前記第1レジスタ群へのアクセスに使用される第1空間と、前記第2レジスタ群へのアクセスに使用される前記第1空間とは排他な第2空間と、を含み、
前記第1情報は、前記第2空間と前記第2レジスタ群との対応が記録された情報であり、
前記第1装置は、前記アドレスが前記第1空間に含まれる場合に前記第1レジスタ群へのパラメータデータの格納を行い、前記アドレスが前記第1空間に含まれない場合に前記第1レジスタ群へのパラメータデータの格納を行わず、
前記第2装置は、前記アドレスが前記第2空間に含まれる場合に前記第2レジスタ群へのパラメータデータの格納を行い、前記アドレスが前記第2空間に含まれない場合に前記第2レジスタ群へのパラメータデータの格納を行わない、
半導体記憶装置。
【請求項6】
前記第2レジスタ群は複数の記憶領域を含み、
前記第2空間は、複数の第1アドレスを含み、
前記第1情報は、前記複数の第1アドレスと前記複数の記憶領域との対応が記録され、
前記第2装置は、前記アドレスが前記複数の第1アドレスの何れかである場合に前記複数の記憶領域のうちの前記第1情報によって前記アドレスに対応付けられた記憶領域へのパラメータデータの格納を行う、
請求項5に記載の半導体記憶装置。
【請求項7】
前記第1アドレス空間は、複数の第2アドレスが対応付けられた複数の第3空間を含み、前記複数の第3空間のそれそれは複数のセグメントを含み、
前記第1空間および前記第2空間は、互いに排他なセグメント群からなる、
請求項6に記載の半導体記憶装置。
【請求項8】
前記設定コマンドは、SetFeatureコマンドである、
請求項1または請求項5に記載の半導体記憶装置。
【請求項9】
請求項1~請求項7の何れか一項に記載の半導体記憶装置と、
前記半導体記憶装置に対して前記設定コマンドのコマンドシーケンスを送信するメモリコントローラと、
を備えるメモリシステム。
【請求項10】
アドレスを含む設定コマンドのコマンドシーケンスが入力される端子群と、第1アドレス空間がマッピングされた第1レジスタ群と、メモリセルアレイと、を備える第1装置と、前記端子群と前記第1装置との間に配され、前記第1アドレス空間とは排他な共通の第2アドレス空間がマッピングされた複数のページを含む第2レジスタ群を備える第2装置と、を備える半導体記憶装置を制御する方法であって、
前記第2装置が受信した前記コマンドシーケンスに含まれる前記アドレスが第1値である場合に前記複数のページのうちのパラメータデータの格納先のページを前記コマンドシーケンスに基づいて特定すること、
を含む方法。
発明の詳細な説明
【技術分野】
【0001】
本実施形態は、半導体記憶装置、メモリシステム、および方法に関する。
続きを表示(約 2,700 文字)
【背景技術】
【0002】
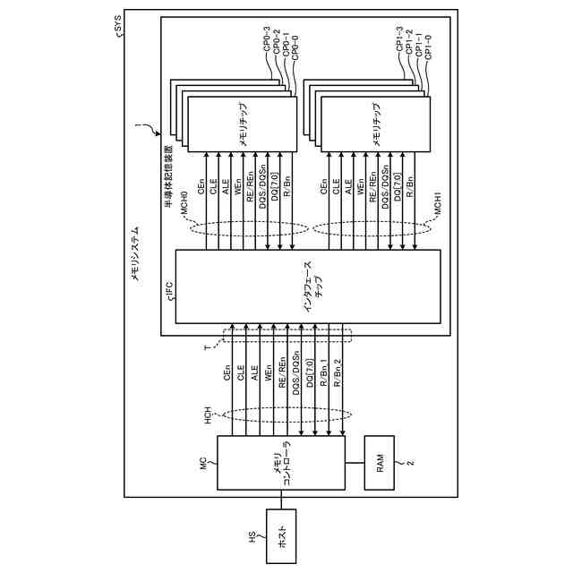
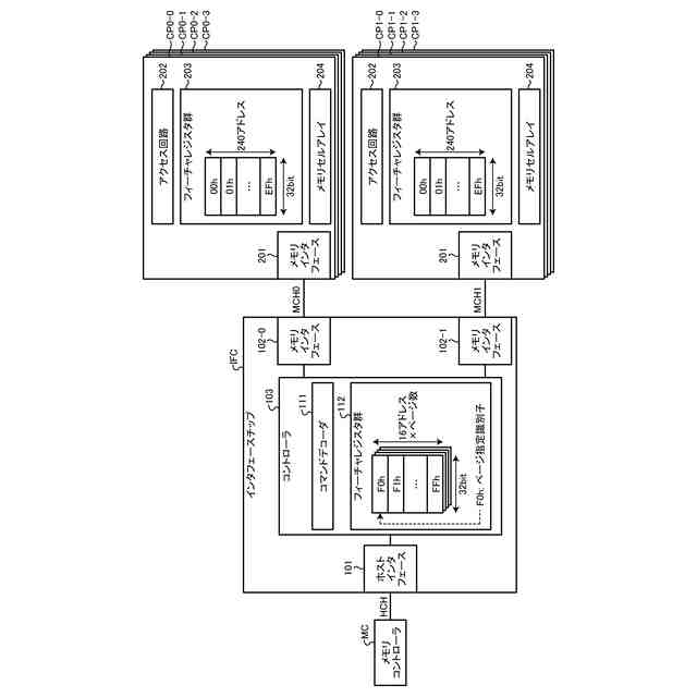
複数のメモリチップと外部のコントローラ(以降、メモリコントローラと表記する)に接続される外部端子群との間にインタフェースチップと称される半導体集積回路を配した半導体記憶装置がある。この半導体記憶装置では、メモリコントローラと複数のメモリチップとの間のデータ転送がインタフェースチップを介して行われる。インタフェースチップによって伝送線路の負荷が分散されることで、メモリチップが多数設けられた場合であってもメモリシステムは高速に動作することが可能とされる。
【0003】
インタフェースチップは、メモリチップと同様、機能設定用のレジスタであるフィーチャレジスタ群を備える。メモリチップが備えるフィーチャレジスタ群およびインタフェースチップが備えるフィーチャレジスタ群のそれぞれに対するパラメータデータの格納は、共通する特定のコマンドを用いて実行される。
【先行技術文献】
【特許文献】
【0004】
米国特許第11537537号明細書
【発明の概要】
【発明が解決しようとする課題】
【0005】
一つの実施形態は、インタフェースチップが備えるフィーチャレジスタ群に好適にパラメータデータを格納できる半導体記憶装置、メモリシステム、および方法を提供することを目的とする。
【課題を解決するための手段】
【0006】
一つの実施形態によれば、半導体記憶装置は、端子群と、第1装置と、第2装置と、を備える。端子群には、アドレスを含む設定コマンドのコマンドシーケンスが入力される。第1装置は、第1アドレス空間がマッピングされた第1レジスタ群と、メモリセルアレイと、を備える。第1装置は、アドレスが第1アドレス空間に含まれる場合に第1レジスタ群へのパラメータデータの格納を行う。第1装置は、アドレスが第1アドレス空間に含まれない場合に第1レジスタ群へのパラメータデータの格納を行わない。第2装置は、端子群と第1装置との間に配される。第2装置は、第1アドレス空間とは排他な共通の第2アドレス空間がマッピングされた複数のページを含む第2レジスタ群を備える。第2装置は、アドレスが第1値である場合に複数のページのうちのパラメータデータの格納先のページをコマンドシーケンスに基づいて特定する、ように構成される。
【図面の簡単な説明】
【0007】
第1の実施形態のメモリシステムの構成の一例を示す模式的な図。
第1の実施形態のインタフェースチップと各メモリチップとの間のより詳細な接続関係を説明するための模式的な図。
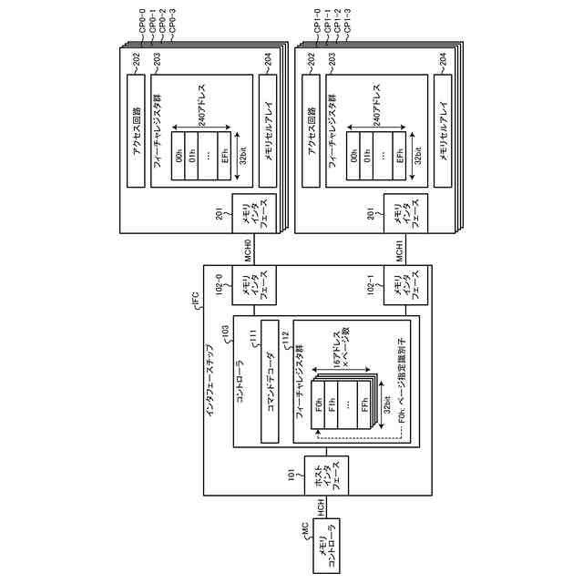
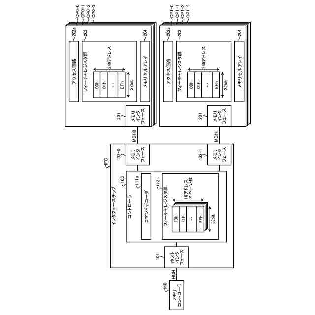
第1の実施形態にかかるインタフェースチップおよび各メモリチップの構成の一例を説明するための図。
第1の実施形態にかかるSetFeatureコマンドの転送のためのコマンドシーケンスの構成を示す図。
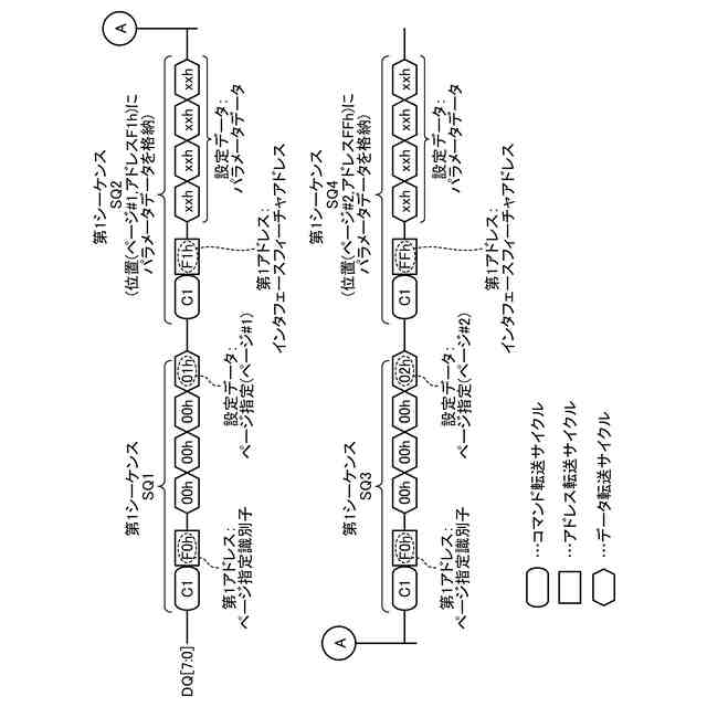
第1シーケンスを用いた第1の実施形態のパラメータデータの設定方法を説明するための図。
第1の実施形態にかかるインタフェースチップの動作の一例を示すフローチャート。
第1の実施形態にかかるメモリチップの動作の一例を示すフローチャート。
第1の実施形態にかかるSetFeatureコマンドの転送のための別のコマンドシーケンスである第2シーケンスの構成を示す図。
第2の実施形態にかかるインタフェースチップおよび各メモリチップの構成の一例を説明するための図。
第2の実施形態にかかる第2シーケンスの構成を示す図。
第2シーケンスを用いた第2の実施形態のパラメータデータの設定方法を説明するための図。
第2の実施形態にかかるインタフェースチップの動作の一例を示すフローチャート。
第2の実施形態にかかるメモリチップの動作の一例を示すフローチャート。
第3の実施形態にかかる第2シーケンスの構成を示す図。
第3の実施形態にかかるインタフェースチップおよび各メモリチップの構成の一例を説明するための図。
第3の実施形態にかかる変換テーブルの構成の一例を示す図。
第3の実施形態にかかるインタフェースチップの動作の一例を示すフローチャート。
第3の実施形態にかかるメモリチップの動作の一例を示すフローチャート。
第4の実施形態にかかるインタフェースチップおよび各メモリチップの構成の一例を説明するための図。
第4の実施形態にかかる変換テーブルの構成の一例を示す図。
第1シーケンスを用いた第4の実施形態のパラメータデータの設定方法を説明するための図。
第4の実施形態にかかるインタフェースチップの動作の一例を示すフローチャート。
第4の実施形態にかかるメモリチップの動作の一例を示すフローチャート。
第5の実施形態にかかるインタフェースチップおよび各メモリチップの構成の一例を説明するための図。
第5の実施形態にかかる変換テーブルの構成の一例を示す図。
第5の実施形態にかかる第1シーケンスの構成を示す図。
第1シーケンスを用いた第5の実施形態のパラメータデータの設定方法を説明するための図。
第1シーケンスを用いた第5の実施形態のパラメータデータの設定方法を説明するための別の図。
第5の実施形態にかかるインタフェースチップの動作の一例を示すフローチャート。
第5の実施形態にかかるメモリチップの動作の一例を示すフローチャート。
【発明を実施するための形態】
【0008】
以下に添付図面を参照して、実施形態にかかる半導体記憶装置、メモリシステム、および方法を詳細に説明する。なお、これらの実施形態により本発明が限定されるものではない。
【0009】
(第1の実施形態)
図1は、第1の実施形態のメモリシステムSYSの構成の一例を示す模式的な図である。
【0010】
メモリシステムSYSは、ホストHSに接続可能である。ホストHSとメモリシステムSYSとを接続する通信路および当該通信路を介した通信が準拠する規格は、特定の規格に限定されない。ホストHSは、例えばパーソナルコンピュータ、携帯情報端末、またはサーバなどである。ホストHSは、メモリシステムSYSにアクセスする際に、メモリシステムSYSにアクセスコマンドを送信する。アクセスコマンドは、ライトコマンドまたはリードコマンドなどを含む。
(【0011】以降は省略されています)
この特許をJ-PlatPat(特許庁公式サイト)で参照する
関連特許
個人
工程設計支援装置
1か月前
個人
フラワーコートA
1か月前
個人
地球保全システム
2日前
個人
冷凍食品輸出支援構造
29日前
個人
為替ポイント伊達夢貯
29日前
個人
携帯情報端末装置
1か月前
個人
表変換編集支援システム
22日前
個人
知財出願支援AIシステム
29日前
個人
結婚相手紹介支援システム
1か月前
個人
AIによる情報の売買の仲介
1か月前
個人
パスワード管理支援システム
22日前
個人
行動時間管理システム
24日前
個人
AIキャラクター制御システム
22日前
個人
パスポートレス入出国システム
1か月前
個人
食品レシピ生成システム
1日前
株式会社アジラ
進入判定装置
1か月前
株式会社キーエンス
受発注システム
1日前
株式会社キーエンス
受発注システム
1日前
日本精機株式会社
施工管理システム
1か月前
個人
システム及びプログラム
15日前
株式会社キーエンス
受発注システム
1日前
個人
海外支援型農作物活用システム
14日前
個人
音声対話型帳票生成支援システム
22日前
個人
社会還元・施設向け供給支援構造
22日前
個人
冷凍加工連携型農場運用システム
29日前
個人
人格進化型対話応答制御システム
22日前
サクサ株式会社
中継装置
22日前
個人
未来型家系図構築システム
14日前
キヤノン株式会社
表示システム
1日前
大阪瓦斯株式会社
住宅設備機器
1か月前
個人
SaaS型勤務調整支援システム
22日前
大同特殊鋼株式会社
疵判定方法
8日前
個人
食事受注会計処理システム
1か月前
株式会社村田製作所
ラック
1か月前
個人
リテールレボリューションAIタグ
1か月前
株式会社キーエンス
製品受発注システム
1日前
続きを見る
他の特許を見る