TOP
|
特許
|
意匠
|
商標
特許ウォッチ
Twitter
他の特許を見る
10個以上の画像は省略されています。
公開番号
2025141560
公報種別
公開特許公報(A)
公開日
2025-09-29
出願番号
2024041559
出願日
2024-03-15
発明の名称
半導体装置およびその製造方法
出願人
キオクシア株式会社
代理人
個人
,
個人
,
個人
,
個人
主分類
H10B
43/27 20230101AFI20250919BHJP()
要約
【課題】データリテンション特性の劣化を抑制することが可能な半導体装置およびその製造方法を提供する。
【解決手段】一の実施形態によれば、半導体装置は、複数の導電層と、電荷蓄積膜と、絶縁膜と、を備える。複数の導電層は、第1方向に互いに離隔されている。複数の導電層は、金属膜と、金属膜を覆い、チタンシリコン窒化物を含有する第1膜と、を有する。電荷蓄積膜は、導電層の側面に対向する。絶縁膜は、導電層と電荷蓄積膜との間に設けられている。
【選択図】図5
特許請求の範囲
【請求項1】
第1方向に互いに離隔された複数の導電層であって、金属膜と、前記金属膜を覆い、チタンシリコン窒化物を含有する第1膜と、を有する複数の導電層と、
前記導電層の側面に対向する電荷蓄積膜と、
前記導電層と前記電荷蓄積膜との間に設けられた絶縁膜と、
を備える半導体装置。
続きを表示(約 950 文字)
【請求項2】
前記第1膜におけるシリコンの濃度は54%以上である、請求項1に記載の半導体装置。
【請求項3】
前記第1膜の厚さは3nm以下である、請求項1に記載の半導体装置。
【請求項4】
前記絶縁膜は、前記第1膜に接して設けられた第1絶縁膜と、前記第1絶縁膜と前記電荷蓄積膜との間に設けられた第2絶縁膜とを有する、請求項1に記載の半導体装置。
【請求項5】
前記第1絶縁膜は、アルミニウム酸化物を含有し、前記第2絶縁膜は、シリコン酸化物を含有する、請求項4に記載の半導体装置。
【請求項6】
前記第1膜と前記第1絶縁膜との界面における不純物の濃度は前記第2絶縁膜における前記不純物の濃度よりも高い請求項4に記載の半導体装置。
【請求項7】
前記第1絶縁膜における前記不純物の濃度は前記第2絶縁膜における前記不純物の濃度よりも高い請求項6に記載の半導体装置。
【請求項8】
前記第1膜と前記第1絶縁膜との界面における前記不純物の濃度は1×10
20
atoms/cm
3
よりも高く、
前記第2絶縁膜は、
前記界面よりも前記不純物の濃度が低い第1部分と、
前記第1部分に対して前記電荷蓄積膜側に位置し、前記第1部分よりも厚みが厚く、前記不純物の濃度が前記第1部分よりも低い1×10
20
atoms/cm
3
以下である第2部分と、
を有する請求項6に記載の半導体装置。
【請求項9】
前記第1膜における不純物の濃度は、前記金属膜側から前記絶縁膜側に向かって増加し、前記絶縁膜における前記不純物の濃度は、前記第1膜側から前記電荷蓄積膜側に向かって減少する、請求項1に記載の半導体装置。
【請求項10】
前記第1膜における前記不純物の濃度は、前記金属膜側から前記絶縁膜側に向かって実質的に単調増加し、前記絶縁膜における前記不純物の濃度は、前記第1膜側から前記電荷蓄積膜側に向かって実質的に単調減少する、請求項9に記載の半導体装置。
(【請求項11】以降は省略されています)
発明の詳細な説明
【技術分野】
【0001】
本発明の実施形態は、半導体装置およびその製造方法に関する。
続きを表示(約 2,500 文字)
【背景技術】
【0002】
3次元半導体メモリなどの半導体装置では、ブロック絶縁膜への水素の拡散に起因して、電荷蓄積膜に捕獲された電子がブロック絶縁膜側に抜ける電子抜けが発生することがある。電子抜けが発生すると、データリテンション特性が劣化することがある。
【先行技術文献】
【特許文献】
【0003】
特開2010-3741号公報
【発明の概要】
【発明が解決しようとする課題】
【0004】
データリテンション特性の劣化を抑制することが可能な半導体装置およびその製造方法を提供する。
【課題を解決するための手段】
【0005】
一の実施形態によれば、半導体装置は、複数の導電層と、電荷蓄積膜と、絶縁膜と、を備える。複数の導電層は、第1方向に互いに離隔されている。複数の導電層は、金属膜と、金属膜を覆い、チタンシリコン窒化物を含有する第1膜と、を有する。電荷蓄積膜は、導電層の側面に対向する。絶縁膜は、導電層と電荷蓄積膜との間に設けられている。
【図面の簡単な説明】
【0006】
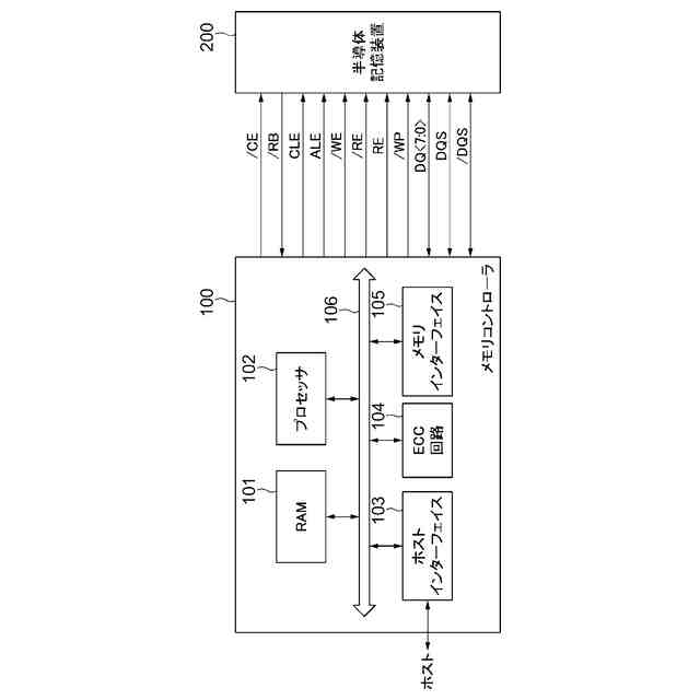
実施形態によるメモリシステムの概略構成を示すブロック図である。
実施形態による半導体記憶装置の概略構成を示すブロック図である。
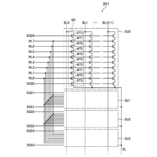
実施形態による半導体記憶装置の等価回路を示す回路図である。
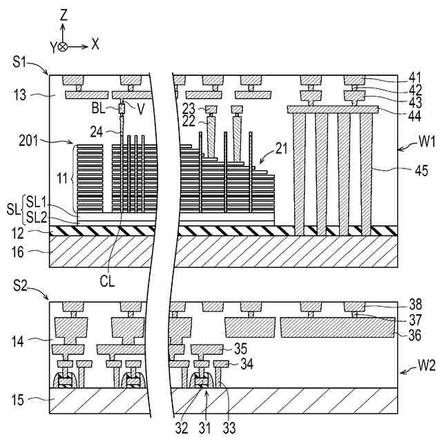
実施形態による半導体記憶装置の断面構造を示す断面図である。
実施形態による半導体記憶装置における柱状部の断面構造を示す断面図である。
実施形態による半導体記憶装置において、図5のVI-VI断面を示す断面図である。
実施形態による半導体記憶装置の製造方法を示す断面図である。
実施形態による半導体記憶装置の詳細な製造方法を示す断面図である。
図8に続く、実施形態による半導体記憶装置の製造方法を示す断面図である。
図9に続く、実施形態による半導体記憶装置の製造方法を示す断面図である。
実施例による半導体記憶装置のデータリテンション特性を説明するための説明図である。
実施例による半導体記憶装置において、バリアメタル膜の厚みと第2ブロック膜中の水素濃度との関係を示すグラフである。
実施例による半導体記憶装置において、メモリホールの周辺側から中心側に向かう方向の深さと水素濃度との関係を示すグラフである。
実施例による半導体記憶装置において、バリアメタル膜の厚みとデータリテンション特性との関係を示すグラフである。
実施例による半導体記憶装置において、第2ブロック膜中の水素濃度とデータリテンション特性との関係を示すグラフである。
実施例による半導体記憶装置において、バリアメタル膜の厚みとデータリテンション特性との関係を示すグラフである。
実施例による半導体記憶装置において、SiNとTiNとのサイクル比とデータリテンション特性との関係を示すグラフである。
【発明を実施するための形態】
【0007】
以下、実施形態について図面を参照しながら説明する。説明の理解を容易にするため、各図面において同一の構成要素に対しては可能な限り同一の符号を付して、重複する説明は省略する。
【0008】
図1は、実施形態によるメモリシステムの概略構成を示すブロック図である。図1に示されるように、本実施形態のメモリシステムは、メモリコントローラ100と、半導体記憶装置200とを備える。半導体記憶装置200は、半導体装置の一例である。半導体記憶装置200は、NAND型のフラッシュメモリとして構成される不揮発性の半導体記憶装置である。メモリシステムは、ホストと接続可能である。ホストは、例えばパーソナルコンピュータや携帯端末等の電子機器である。なお、図1では半導体記憶装置200が1つのみ図示されているが、実際のメモリシステムには半導体記憶装置200が複数設けられている。
【0009】
メモリコントローラ100は、ホストからの書き込みリクエストに従って、半導体記憶装置200へのデータの書き込みを制御する。また、メモリコントローラ100は、ホストからの読み出しリクエストに従って、半導体記憶装置200からのデータの読み出しを制御する。メモリコントローラ100と半導体記憶装置200との間では、チップイネーブル信号/CE、レディービジー信号/RB、コマンドラッチイネーブル信号CLE、アドレスラッチイネーブル信号ALE、ライトイネーブル信号/WE、リードイネーブル信号RE,/RE、ライトプロテクト信号/WP、データの信号DQ<7:0>、及びデータストローブ信号DQS,/DQSの各信号が送受信される。
【0010】
チップイネーブル信号/CEは、半導体記憶装置200をイネーブルにするための信号である。レディービジー信号/RBは、半導体記憶装置200がレディ状態であるか、あるいはビジー状態であるかを示すための信号である。「レディ状態」とは、外部からの命令を受け付ける状態である。「ビジー状態」とは、外部からの命令を受け付けない状態である。コマンドラッチイネーブル信号CLEは、信号DQ<7:0>がコマンドであることを示す信号である。アドレスラッチイネーブル信号ALEは、信号DQ<7:0>がアドレスであることを示す信号である。ライトイネーブル信号/WEは、受信した信号を半導体記憶装置200に取り込むための信号である。ライトイネーブル信号/WEは、メモリコントローラ100によりコマンド、アドレス、及びデータを受信する都度アサートされる。メモリコントローラ100は、信号/WEが“L(Low)”レベルである間に信号DQ<7:0>を取り込むように、半導体記憶装置200に指示する。
(【0011】以降は省略されています)
この特許をJ-PlatPat(特許庁公式サイト)で参照する
関連特許
キオクシア株式会社
記憶装置
12日前
キオクシア株式会社
記憶装置
6日前
キオクシア株式会社
記憶装置
6日前
キオクシア株式会社
記憶装置
8日前
キオクシア株式会社
記憶装置
4日前
キオクシア株式会社
半導体装置
4日前
キオクシア株式会社
半導体装置
6日前
キオクシア株式会社
半導体装置
5日前
キオクシア株式会社
半導体装置
5日前
キオクシア株式会社
半導体装置
12日前
キオクシア株式会社
磁気記憶装置
8日前
キオクシア株式会社
通信システム
6日前
キオクシア株式会社
磁気記憶装置
8日前
キオクシア株式会社
磁気記憶装置
5日前
キオクシア株式会社
磁気記憶装置
6日前
キオクシア株式会社
磁気記憶装置
6日前
キオクシア株式会社
基板ユニット
8日前
キオクシア株式会社
半導体記憶装置
4日前
キオクシア株式会社
メモリシステム
5日前
キオクシア株式会社
半導体記憶装置
5日前
キオクシア株式会社
半導体記憶装置
8日前
キオクシア株式会社
半導体記憶装置
4日前
キオクシア株式会社
有機分子メモリ
4日前
キオクシア株式会社
メモリデバイス
11日前
キオクシア株式会社
メモリデバイス
4日前
キオクシア株式会社
半導体記憶装置
6日前
キオクシア株式会社
半導体記憶装置
4日前
キオクシア株式会社
半導体記憶装置
4日前
キオクシア株式会社
半導体記憶装置
6日前
キオクシア株式会社
メモリデバイス
6日前
キオクシア株式会社
半導体記憶装置
4日前
キオクシア株式会社
メモリシステム
18日前
キオクシア株式会社
半導体記憶装置
6日前
キオクシア株式会社
半導体記憶装置
8日前
キオクシア株式会社
半導体記憶装置
8日前
キオクシア株式会社
メモリデバイス
4日前
続きを見る
他の特許を見る