TOP
|
特許
|
意匠
|
商標
特許ウォッチ
Twitter
他の特許を見る
10個以上の画像は省略されています。
公開番号
2025141486
公報種別
公開特許公報(A)
公開日
2025-09-29
出願番号
2024041442
出願日
2024-03-15
発明の名称
水上移動体用推進装置
出願人
本田技研工業株式会社
代理人
弁理士法人大島特許事務所
主分類
B63H
20/00 20060101AFI20250919BHJP(船舶またはその他の水上浮揚構造物;関連艤装品)
要約
【課題】小型化の要請に応えつつ、回動部が大きく回動した場合の冷却効率を向上させる。
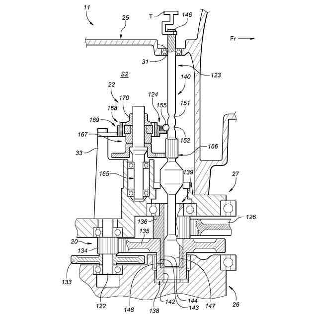
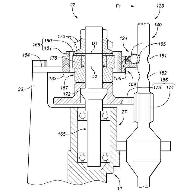
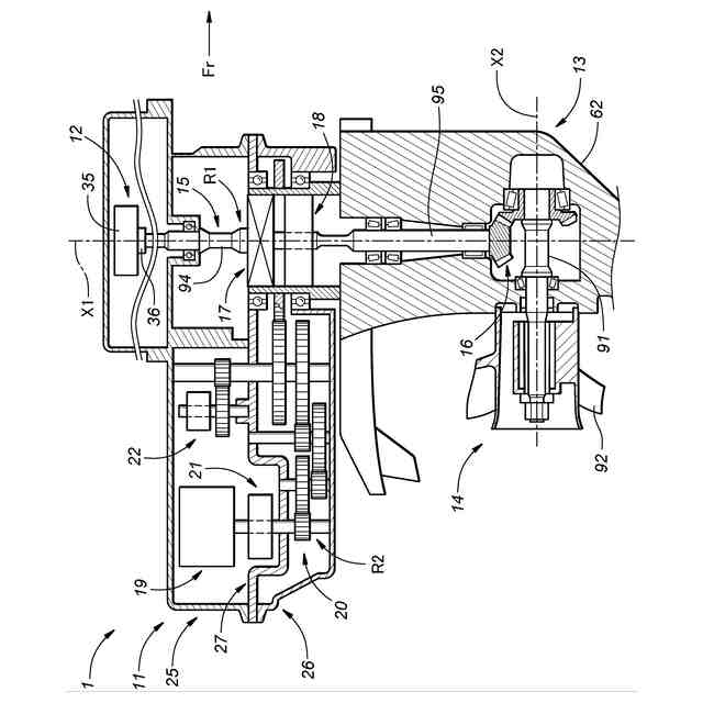
【解決手段】水上移動体用推進装置は、水上移動体の船体によって支持される上部ケース11と、上部ケース11に収容される推進モータと、上部ケース11に回動軸X1回りに回動可能に支持される下部ケース13と、下部ケース13に支持され、推進モータの駆動力によって推進軸回りに回転する推進器と、推進モータから推進器に至る駆動力伝達経路に設けられ、推進モータの回転を減速する減速機構17と、減速機構17に冷却媒体を供給する冷却媒体供給機構18と、を備え、下部ケース13は、回動軸X1を中心とする円筒形状の回動部38を有し、減速機構17及び冷却媒体供給機構18は、回動部38の内周に配置され、回動部38には、冷却媒体供給機構18の冷却媒体吸入口114が形成されている。
【選択図】図4
特許請求の範囲
【請求項1】
水上移動体用推進装置であって、
水上移動体の船体によって支持される上部ケースと、
前記上部ケースに収容される推進モータと、
前記上部ケースに回動軸回りに回動可能に支持される下部ケースと、
前記下部ケースに支持され、前記推進モータの駆動力によって推進軸回りに回転する推進器と、
前記推進モータから前記推進器に至る駆動力伝達経路に設けられ、前記推進モータの回転を減速する減速機構と、
前記減速機構に冷却媒体を供給する冷却媒体供給機構と、を備え、
前記下部ケースは、前記回動軸を中心とする円筒形状の回動部を有し、
前記減速機構及び前記冷却媒体供給機構は、前記回動部の内周に配置され、
前記回動部には、前記冷却媒体供給機構の冷却媒体吸入口が形成されている水上移動体用推進装置。
続きを表示(約 1,400 文字)
【請求項2】
前記減速機構は、前記回動部の上部の内周に配置され、
前記冷却媒体吸入口は、前記減速機構よりも下方に配置されている請求項1に記載の水上移動体用推進装置。
【請求項3】
前記駆動力伝達経路に設けられ、前記回動軸に沿って延びる駆動軸と、
前記下部ケースに収容され、前記駆動軸に取り付けられる第1ベアリングと、を更に備え、
前記下部ケースには、冷却媒体との熱交換部を有する冷却媒体の第1通路が形成され、
前記冷却媒体供給機構は、前記第1通路内の冷却媒体を循環させるように構成され、
前記第1ベアリングは、前記第1通路に配置されている請求項1又は2に記載の水上移動体用推進装置。
【請求項4】
前記第1ベアリングの下方に配置され、前記下部ケースに収容され、前記駆動軸に取り付けられる第2ベアリングと、
前記第2ベアリングの下方に配置され、前記下部ケースに収容され、前記駆動軸と前記推進器とを接続するベベルギヤ機構と、を更に備え、
前記下部ケースには、前記第1通路に対して区画された冷却媒体の第2通路が形成され、
前記第2ベアリング及び前記ベベルギヤ機構は、前記第2通路に配置されている請求項3に記載の水上移動体用推進装置。
【請求項5】
前記第1通路に配置され、冷却媒体を濾過するフィルタ部材を更に備え、
前記熱交換部は、
第1熱交換室と、
前記第1熱交換室と連通し、前記フィルタ部材を収容する第2熱交換室と、を有する請求項3に記載の水上移動体用推進装置。
【請求項6】
前記第1熱交換室と前記第2熱交換室とを区画する区画部材を更に備え、
前記フィルタ部材は、前記区画部材によって支持されている請求項5に記載の水上移動体用推進装置。
【請求項7】
前記下部ケースは、
前記第1通路から冷却媒体を排出するための第1排出口と、
前記第1通路と前記第1排出口とを連通させる第1排出通路と、
前記第1通路に対して区画された冷却媒体の第2通路と、
前記第2通路から冷却媒体を排出するための第2排出口と、
前記第2通路と前記第2排出口とを連通させる第2排出通路と、を有し、
前記第1排出口及び前記第2排出口は、前記推進軸が前後方向に延在する状態において、前方に向かって開口しており、
前記第1排出通路及び前記第2排出通路は、チルト角が最大になった状態において、鉛直方向に延在するように形成されている請求項3に記載の水上移動体用推進装置。
【請求項8】
前記第1通路の一部は、前記上部ケースと同じ高さに位置し、
前記第2通路の全体は、前記上部ケースよりも下方に位置し、
前記第2排出口は、前記第1排出口よりも下方に配置されている請求項7に記載の水上移動体用推進装置。
【請求項9】
前記冷却媒体吸入口は、前記推進軸が前後方向に延在する状態において、前記回動軸よりも後方に配置されている請求項1又は2に記載の水上移動体用推進装置。
【請求項10】
前記冷却媒体吸入口は、前記推進軸が前後方向に延在する状態において、前記回動軸よりも前方に配置されている請求項1又は2に記載の水上移動体用推進装置。
発明の詳細な説明
【技術分野】
【0001】
本発明は、水上移動体用推進装置に関する。
続きを表示(約 1,800 文字)
【背景技術】
【0002】
近年、低炭素社会又は脱炭素社会の実現に向けた取り組みが活発化し、船外機などの水上移動体用推進装置においてもCO
2
排出量の削減やエネルギー効率の改善のために、電動化技術に関する研究開発が行われている。
【0003】
例えば、特許文献1には、上部ケース(トップカバー)と、上部ケースに収容される推進モータ(モータ)と、を備えた水上移動体用推進装置(船外機)が開示されている。上部ケースの内部には、円筒状の回動部が設けられており、回動部の後方には、冷却媒体吸入口(オイル吸込口)が形成されている。
【先行技術文献】
【特許文献】
【0004】
特開2023-125742号公報
【発明の概要】
【発明が解決しようとする課題】
【0005】
特許文献1では、冷却媒体吸入口が回動部の外部に形成されているため、冷却媒体吸入口を回動部と一体に回動させることができない。そのため、回動部が大きく回動した場合に、回動部内の冷却媒体の位置に偏りが生じることで、回動部内の冷却媒体の位置と冷却媒体吸入口の位置との間にずれが生じ、回動部内の冷却媒体を冷却媒体吸入口から効率的に吸入することができなくなる虞がある。また、回動部内の潤滑を行うための潤滑媒体についても、同様の問題が生じ得る。このように、上記の従来技術には、回動部が大きく回動した場合の冷却効率の向上、または、潤滑性能の向上に改善の余地がある。また、一般的に、水上移動体用推進装置に対する小型化の要請がある。
【0006】
本発明は、以上の背景に鑑み、小型化の要請に応えつつ、回動部が大きく回動した場合の冷却効率を向上させることが可能な水上移動体用推進装置を提供することを課題とする。そして、延いてはエネルギー効率の改善に寄与するものである。
【課題を解決するための手段】
【0007】
上記課題を解決するために本発明のある態様は、水上移動体用推進装置(1)であって、水上移動体(3)の船体(4)によって支持される上部ケース(11)と、前記上部ケースに収容される推進モータ(12)と、前記上部ケースに回動軸(X1)回りに回動可能に支持される下部ケース(13)と、前記下部ケースに支持され、前記推進モータの駆動力によって推進軸(X2)回りに回転する推進器(14)と、前記推進モータから前記推進器に至る駆動力伝達経路(R1)に設けられ、前記推進モータの回転を減速する減速機構(17)と、前記減速機構に冷却媒体を供給する冷却媒体供給機構(18)と、を備え、前記下部ケースは、前記回動軸を中心とする円筒形状の回動部(38)を有し、前記減速機構及び前記冷却媒体供給機構は、前記回動部の内周に配置され、前記回動部には、前記冷却媒体供給機構の冷却媒体吸入口(114)が形成されている。
【0008】
この態様によれば、冷却媒体吸入口が回動部に形成されているため、冷却媒体吸入口を回動部と一体に回動させることができる。そのため、回動部が大きく回動して回動部内の冷却媒体の位置に偏りが生じた場合でも、回動部内の冷却媒体と対応する位置に冷却媒体吸入口を留めることができ、回動部内の冷却媒体を冷却媒体吸入口から効率的に吸入することができる。これにより、回動部が大きく回動した場合の冷却効率を向上させることができる。また、減速機構及び冷却媒体供給機構が回動部の内周に配置されているため、回動部、減速機構、及び冷却媒体供給機構をコンパクトに配置することができ、水上移動体用推進装置を小型化することができる。
【0009】
上記の態様において、前記減速機構は、前記回動部の上部の内周に配置され、前記冷却媒体吸入口は、前記減速機構よりも下方に配置されていても良い。
【0010】
この態様によれば、少ない量の冷却媒体によって冷却媒体吸入口を冷却媒体に浸し、冷却媒体の吸入効率を向上させることができる。また、冷却媒体の液面の高さを減速機構よりも下方に設定することで、減速機構が常に冷却媒体に浸っている場合と比較して、減速機構の攪拌抵抗を抑制することができる。
(【0011】以降は省略されています)
この特許をJ-PlatPat(特許庁公式サイト)で参照する
関連特許
本田技研工業株式会社
車両
5日前
本田技研工業株式会社
車両
12日前
本田技研工業株式会社
車両
13日前
本田技研工業株式会社
車両
13日前
本田技研工業株式会社
車両
12日前
本田技研工業株式会社
収容装置
13日前
本田技研工業株式会社
除草装置
12日前
本田技研工業株式会社
固体電池
8日前
本田技研工業株式会社
発電セル
12日前
本田技研工業株式会社
排気装置
12日前
本田技研工業株式会社
排気装置
12日前
本田技研工業株式会社
制御装置
12日前
本田技研工業株式会社
排気装置
12日前
本田技研工業株式会社
固体電池
12日前
本田技研工業株式会社
二次電池
8日前
本田技研工業株式会社
電気機器
13日前
本田技研工業株式会社
エンジン
13日前
本田技研工業株式会社
電気機器
13日前
本田技研工業株式会社
電気部品
13日前
本田技研工業株式会社
清掃装置
13日前
本田技研工業株式会社
触媒装置
8日前
本田技研工業株式会社
内燃機関
12日前
本田技研工業株式会社
樹脂成型品
13日前
本田技研工業株式会社
電極積層体
12日前
本田技研工業株式会社
鞍乗型車両
12日前
本田技研工業株式会社
全固体電池
8日前
本田技研工業株式会社
電動船外機
8日前
本田技研工業株式会社
鞍乗型車両
12日前
本田技研工業株式会社
鞍乗型車両
12日前
本田技研工業株式会社
リアクトル
12日前
本田技研工業株式会社
全固体電池
8日前
本田技研工業株式会社
作業システム
13日前
本田技研工業株式会社
始動制御装置
12日前
本田技研工業株式会社
始動制御装置
12日前
本田技研工業株式会社
燃料電池装置
12日前
本田技研工業株式会社
V型エンジン
13日前
続きを見る
他の特許を見る