TOP
|
特許
|
意匠
|
商標
特許ウォッチ
Twitter
他の特許を見る
10個以上の画像は省略されています。
公開番号
2025140063
公報種別
公開特許公報(A)
公開日
2025-09-29
出願番号
2024039224
出願日
2024-03-13
発明の名称
ステントデリバリーシステムの製造方法及びステントデリバリーシステム
出願人
テルモ株式会社
代理人
個人
,
個人
,
個人
,
個人
主分類
A61F
2/844 20130101AFI20250919BHJP(医学または獣医学;衛生学)
要約
【課題】ステントがクリンプされたバルーンカテーテルの細径化を実現する、ステントデリバリーシステムの製造方法及びステントデリバリーシステムを提供する。
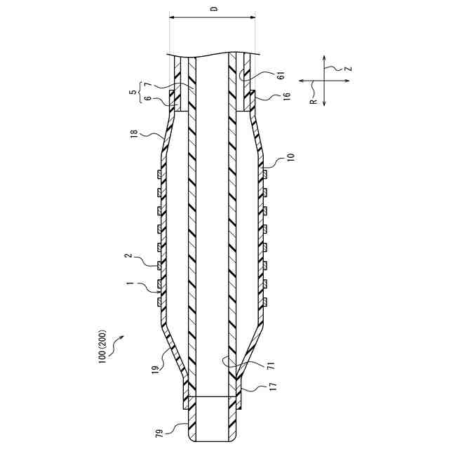
【解決手段】ステントデリバリーシステム200の製造方法は、バルーン1と、バルーン1を支持するシャフト5と、を有するバルーンカテーテル100と、バルーン1上に配置され、筒状形状に形成されたステント2と、を備え、シャフト5の延在方向におけるバルーン1の端部がシャフト5に接合されているステントデリバリーシステム100の製造方法であって、ステント2の筒内にバルーン1を挿入した状態で、ステント2の径方向における内側向きにステント2を圧縮してステント2とバルーン1とを縮径し、その後に圧縮を解放する第一縮径工程を含み、第一縮径工程では、ステント2を第一直径まで圧縮し、第一直径は、バルーン1がシャフト2に融着されている基端側接合部16の直径以下である。
【選択図】図3
特許請求の範囲
【請求項1】
流体の供給又は排出により膨張又は収縮されるバルーンと、前記バルーンを支持し、前記流体の供給又は排出を行うシャフトと、を有するバルーンカテーテルと、前記バルーン上に配置され、筒状形状に形成されたステントと、を備え、前記シャフトの延在方向における前記バルーンの端部が前記シャフトに接合されているステントデリバリーシステムの製造方法であって、
前記ステントの筒内にバルーンを挿入した状態で、前記ステントの径方向における内側向きに前記ステントを圧縮して前記ステントと前記バルーンとを縮径し、その後に圧縮を解放する第一縮径工程を含み、
前記第一縮径工程では、前記ステントを第一直径まで圧縮し、
前記第一直径は、前記バルーンの基端部が前記シャフトに接合されている接合部の直径以下であるステントデリバリーシステムの製造方法。
続きを表示(約 710 文字)
【請求項2】
前記第一縮径工程後に行われ、前記ステントの径方向における内側向きに前記ステントを圧縮して前記ステントと前記バルーンとを縮径し、その後に圧縮を解放する第二縮径工程と、を含み、
前記第二縮径工程では、前記ステントを第二直径まで圧縮し、
前記第二直径は、前記接合部の直径以下である請求項1に記載のステントデリバリーシステムの製造方法。
【請求項3】
前記第二縮径工程を2回以上繰り返す請求項2に記載のステントデリバリーシステムの製造方法。
【請求項4】
前記第二縮径工程における圧縮の開始径は、前記接合部の直径以下である請求項2又は3に記載のステントデリバリーシステムの製造方法。
【請求項5】
前記ステントの径方向に沿って、内側向きに、前記ステントの軸方向における長さ1mmあたり5N以上10N以下の荷重を加えた場合の前記ステントの直径の変化率が0.60%以下となった場合に前記第二縮径工程の繰り返しを終了する請求項4に記載のステントデリバリーシステムの製造方法。
【請求項6】
流体の供給又は排出により膨張又は収縮されるバルーンと、前記バルーンを支持し、前記流体の供給又は排出を行うシャフトと、を有するバルーンカテーテルと、
前記バルーン上に配置され、筒状形状に形成されたステントと、を備え、
前記バルーンは、前記シャフトの延在方向における端部が前記シャフトに接合されており、
前記ステントの直径は、前記バルーンの基端部が前記シャフトに接合されている接合部の直径以下であるステントデリバリーシステム。
発明の詳細な説明
【技術分野】
【0001】
本開示は、ステントデリバリーシステムの製造方法及びステントデリバリーシステムに関する。
続きを表示(約 1,500 文字)
【背景技術】
【0002】
特許文献1には、バルーンカテーテルにステントをクリンプする、ステントデリバリーシステムの製造方法が開示されている。このステントデリバリーシステムの製造方法では、準備したステントを、折り畳まれたバルーンの外径と同じかこれよりも小さい内径を有する第二の径に予め収縮しておき、これに対して折り畳まれたバルーンを挿入し、更にステントの外面から径方向内側に向けて圧力を印加してステントをクリンプが完了した径である第三の径に収縮する。このステントデリバリーシステムの製造方法では、ステントの脱落や移動を防止可能なステントデリバリーシステムを製造することができるとされている。
【先行技術文献】
【特許文献】
【0003】
2012-070912号公報
【発明の概要】
【発明が解決しようとする課題】
【0004】
ステントデリバリーシステムでは、バルーンカテーテルのバルーンにクリンプされた状態のステントの直径が大きいと、バルーンカテーテルの病変部の通過性が低下する場合がある。しかし、例えば特許文献1に開示されたような従来技術では細径化が十分ではなかった。そのため、ステントがクリンプされたバルーンカテーテルの細径化が望まれる。
【0005】
本開示は、かかる実状に鑑みて為されたものであって、その目的は、ステントがクリンプされたバルーンカテーテルの細径化を実現する、ステントデリバリーシステムの製造方法及びステントデリバリーシステムを提供することにある。
【課題を解決するための手段】
【0006】
上記目的を達成するための、本開示に係るステントデリバリーシステムの製造方法及びステントデリバリーシステムは以下のとおりである。
【0007】
[1] 流体の供給又は排出により膨張又は収縮されるバルーンと、前記バルーンを支持し、前記流体の供給又は排出を行うシャフトと、を有するバルーンカテーテルと、前記バルーン上に配置され、筒状形状に形成されたステントと、を備え、前記シャフトの延在方向における前記バルーンの端部が前記シャフトに接合されているステントデリバリーシステムの製造方法であって、
前記ステントの筒内にバルーンを挿入した状態で、前記ステントの径方向における内側向きに前記ステントを圧縮して前記ステントと前記バルーンとを縮径し、その後に圧縮を解放する第一縮径工程を含み、
前記第一縮径工程では、前記ステントを第一直径まで圧縮し、
前記第一直径は、前記バルーンの基端部が前記シャフトに接合されている接合部の直径以下であるステントデリバリーシステムの製造方法。
【0008】
[2] 前記第一縮径工程後に行われ、前記ステントの径方向における内側向きに前記ステントを圧縮して前記ステントと前記バルーンとを縮径し、その後に圧縮を解放する第二縮径工程と、を含み、
前記第二縮径工程では、前記ステントを第二直径まで圧縮し、
前記第二直径は、前記接合部の直径以下である上記[1]に記載のステントデリバリーシステムの製造方法。
【0009】
[3] 前記第二縮径工程を2回以上繰り返す上記[2]に記載のステントデリバリーシステムの製造方法。
【0010】
[4] 前記第二縮径工程における圧縮の開始径は、前記接合部の直径以下である上記[2]又は[3]に記載のステントデリバリーシステムの製造方法。
(【0011】以降は省略されています)
この特許をJ-PlatPat(特許庁公式サイト)で参照する
関連特許
テルモ株式会社
カテーテル
7日前
テルモ株式会社
カテーテル
7日前
テルモ株式会社
カテーテル
7日前
テルモ株式会社
医療デバイス
11日前
テルモ株式会社
採血管ホルダ
9日前
テルモ株式会社
体液流通用ポート
7日前
テルモ株式会社
液体循環システム
11日前
テルモ株式会社
液体排出システム
11日前
テルモ株式会社
画像診断用カテーテル
7日前
テルモ株式会社
医療用長尺体の製造方法
今日
テルモ株式会社
医療用具およびその製造方法
2日前
テルモ株式会社
動脈瘤治療システムおよび方法
今日
テルモ株式会社
身体組成計測装置、および制御方法
1日前
テルモ株式会社
医療用具包装体および医療用具包装袋
8日前
テルモ株式会社
ステントデリバリーシステムの製造方法
11日前
テルモ株式会社
カテーテルおよびカテーテルの製造方法
7日前
テルモ株式会社
カテーテルおよびカテーテルの製造方法
7日前
テルモ株式会社
カテーテルおよびカテーテルの製造方法
7日前
テルモ株式会社
情報処理方法、情報処理装置及びプログラム
今日
テルモ株式会社
情報処理方法、情報処理装置及びプログラム
今日
テルモ株式会社
カテーテルデバイス及び回収対象物の回収方法
7日前
テルモ株式会社
プログラム、情報処理方法、及び情報処理装置
今日
テルモ株式会社
情報処理方法、情報処理装置及びコンピュータプログラム
今日
テルモ株式会社
ステントデリバリーシステムの製造方法及びステントデリバリーシステム
11日前
テルモ株式会社
留置カテーテル、留置カテーテルシステム、判定装置、判定方法及びコンピュータプログラム
11日前
個人
短下肢装具
2か月前
個人
白内障治療法
7か月前
個人
前腕誘導装置
2か月前
個人
洗井間専家。
6か月前
個人
嚥下鍛錬装置
3か月前
個人
ホバーアイロン
6か月前
個人
胸骨圧迫補助具
1か月前
個人
汚れ防止シート
11日前
個人
矯正椅子
4か月前
個人
アイマスク装置
1か月前
個人
バッグ式オムツ
3か月前
続きを見る
他の特許を見る