TOP
|
特許
|
意匠
|
商標
特許ウォッチ
Twitter
他の特許を見る
公開番号
2025139611
公報種別
公開特許公報(A)
公開日
2025-09-29
出願番号
2024038541
出願日
2024-03-13
発明の名称
標高変化量算出システム
出願人
国際航業株式会社
代理人
弁理士法人 武政国際特許商標事務所
主分類
G01C
5/00 20060101AFI20250919BHJP(測定;試験)
要約
【課題】本願発明の課題は、従来の問題を解決することであり、すなわち周辺のメッシュに係る標高値を参考にしながらより確かな標高値の変化量を求めることができる標高変化量算出システムを提供することである。
【解決手段】本願発明の標高変化量算出システムは、同一の対象領域で異なる時期に得られた第1地形モデルと第2地形モデルを用い、第1地形モデルを構成する第1メッシュに係る標高値と第2地形モデルを構成する第2メッシュに係る標高値に基づいて「標高変化量」を求めるシステムであって、第2メッシュ抽出手段と中間標高値設定手段、中間標高差分算出手段、補正標高値設定手段、標高差分算出手段を備えたものである。このうち標高差分算出手段で算出された標高差分を2時期の標高変化量とする。
【選択図】図1
特許請求の範囲
【請求項1】
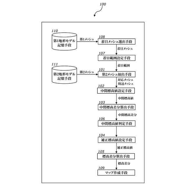
同一の対象領域で異なる時期に得られた第1地形モデルと第2地形モデルを用い、該第1地形モデルを構成する第1メッシュに係る標高値と、該第2地形モデルを構成する第2メッシュに係る標高値と、に基づいて標高変化量を求めるシステムであって、
複数の前記第1メッシュのうち1の該第1メッシュが「着目メッシュ」として選出されると、複数の前記第2メッシュのうち該着目メッシュと同位置にある該第2メッシュを「対応メッシュ」として抽出するとともに、該対応メッシュの周辺にある複数の該第2メッシュを「周辺メッシュ」として抽出する第2メッシュ抽出手段と、
前記対応メッシュに係る標高値と前記周辺メッシュに係る標高値の範囲内で、それぞれの標高差が等間隔となるように2以上の「周辺中間標高値」を設定する中間標高値設定手段と、
前記着目メッシュに係る標高値と、前記周辺中間標高値と、の差の絶対値を「中間標高差分」として算出する中間標高差分算出手段と、
それぞれの前記周辺メッシュに係る2以上の前記中間標高差分の中から、最小値を示す該中間標高差分に係る前記周辺中間標高値を「補正標高値」として設定する補正標高値設定手段と、
前記補正標高値設定手段で設定された前記補正標高値と、前記着目メッシュに係る標高値と、の標高差分を算出する標高差分算出手段と、を備え、
前記標高差分算出手段で算出された前記標高差分を前記標高変化量とする、
ことを特徴とする標高変化量算出システム。
続きを表示(約 660 文字)
【請求項2】
最小値を示す前記中間標高差分があらかじめ定めた閾値を上回るとき、該中間標高差分に係る前記周辺中間標高値を「不適周辺中間標高値」として判定する中間標高値判定手段を、さらに備え、
前記第2メッシュ抽出手段は、はじめに前記対応メッシュに隣接する前記第2メッシュを前記周辺メッシュとして抽出し、前記中間標高値判定手段によって前記不適周辺中間標高値として判定されると、さらに該周辺メッシュに隣接する前記第2メッシュを前記周辺メッシュとして抽出する、
ことを特徴とする請求項1記載の標高変化量算出システム。
【請求項3】
前記着目メッシュを基準とする「着目範囲」を設定する着目範囲設定手段を、さらに備え、
前記第2メッシュ抽出手段は、前記着目範囲設定手段によって設定された前記着目範囲に含まれる前記第2メッシュを前記周辺メッシュとして抽出する、
ことを特徴とする請求項1記載の標高変化量算出システム。
【請求項4】
前記中間標高値設定手段は、あらかじめ定めた区分数で、前記周辺中間標高値と前記着目メッシュに係る標高値を按分することによって、前記周辺中間標高値を設定する、
ことを特徴とする請求項1記載の標高変化量算出システム。
【請求項5】
前記区分数は、前記対応メッシュと前記周辺メッシュとの離隔距離をあらかじめ定めた単位距離で除した値に基づいて設定される、
ことを特徴とする請求項4記載の標高変化量算出システム。
発明の詳細な説明
【技術分野】
【0001】
本願発明は、2時期における標高値の変化量(以下、単に「標高変化量」という。)を求める技術であり、より具体的には、2時期の計測に伴う平面的なずれを勘案したうえで標高変化量を求めることができる標高変化量算出システムに関するものである。
続きを表示(約 1,800 文字)
【背景技術】
【0002】
地表面を形成する地形は、地殻変動に伴い微小ながら刻々と変化している。その変化速度は通常極めて緩慢であるが、大地震などに伴って急速に地形が変化し、場合によっては大規模な土砂の移動を引き起こすこともある。また、豪雨や地震により地すべりが活動を始めるとこれに応じて地表面も変動し始め、最終的にはその地すべりによって大量の土塊が移動し周辺に甚大な被害を与えることもある。
【0003】
これまで、繰り返し自然災害により甚大な被害を被ってきたが、地形の変動を追跡把握することによって、このような災害を未然に防ぎ、あるいは被害を軽減させることができる場合もある。また、一旦災害が発生した際に、災害前と災害後の地形を比較することで、被害個所の特定や災害要因を推定し、二次災害の可能性を判断することが可能となり、ひいては応急対策や復旧にとっても非常に有効な手段となる。このように、過去と現在など異なる時期で地形を比較することによってその変化を掌握することは、極めて有益となることが多い。
【0004】
2時期の地形を比較するのは、地形の変動のほか土地利用の変化にも利用することができる。例えば、2021年7月には熱海市伊豆山地区土砂災害が発生し、これを契機に全国的に盛土地形を把握する調査が進められているが、この場合も2時期の地形を比較することが有効である。すなわち、過去には谷地形であったが現在では平坦な地形であれば、その個所は盛土地形であると推定することができるわけである。
【0005】
ところが、2時期で計測された地形を比較することによってその変化を把握することは、それほど容易なことではない。 例えば、航空写真測量や航空レーザ計測による計測結果に基づいてDEM(Digital Elevation Model)やDSM(Digital Surface Model)といった地形モデルを作成し、この地形モデルを2時期で対比することでその変化を把握することが考えられる。この場合、双方の時期で計測された平面位置の精度に差異がなければ、概ね正確な標高値の変化を把握することができる。
【0006】
しかしながら、過去と現在では当然ながら計測機器の性能が異なり、故にその平面位置の計測精度も異なることとなる。このような場合、過去の計測で得られたDEM等を構成するメッシュ(以下、便宜上「前回メッシュ」という。)と、今回の計測で得られたDEM等を構成するメッシュ(以下、便宜上「今回メッシュ」という。)には、いわゆる「位置ずれ」が生じることが知られている。
【0007】
2時期におけるメッシュの位置ずれが生じる場合、正確な標高変化量を把握するためには、この位置ずれを考慮する必要がある。そこで、これまでにも位置ずれを調整したうえで2時期の標高値の変化を求める種々の技術が提案されてきた。例えば特許文献1では、2時期のメッシュの位置ずれは斜面の傾斜方向で決まることを前提とし、2時期のメッシュに係る方位を合わせたうえで標高値を比較する技術について提案している。
【先行技術文献】
【特許文献】
【0008】
特開2023-75394号公報
【発明の概要】
【発明が解決しようとする課題】
【0009】
上記したとおり特許文献1に開示される技術は、2時期のメッシュの位置ずれが斜面の傾斜方向で決まることを前提としたものである。しかしながらメッシュの位置ずれは、斜面の傾斜方向に限らず、多様な要因が複合していることが考えられる。上記したとおり2時期における平面位置の計測精度が異なるときは位置ずれが生じることがあり、そもそもDEM等は離散的な点群データをいわば強制的に整列配置したものであることから斜面の傾斜にかかわらずメッシュ毎に特有の位置ずれが発生していることもある。そして特許文献1では、このような要因によって生じる位置ずれを解決すべき手法が開示されていない。
【0010】
本願発明の課題は、従来の問題を解決することであり、すなわち周辺のメッシュに係る標高値を参考にしながらより確かな標高値の変化量を求めることができる標高変化量算出システムを提供することである。
【課題を解決するための手段】
(【0011】以降は省略されています)
特許ウォッチbot のツイートを見る
この特許をJ-PlatPat(特許庁公式サイト)で参照する
関連特許
国際航業株式会社
水位推定システム
2か月前
国際航業株式会社
標高変化量算出システム
2日前
国際航業株式会社
レーダー反射システム、及び計測方法
12日前
国立大学法人電気通信大学
計測点分類装置
26日前
国際航業株式会社
合成開口レーダー用リフレクタ、及び計測方法
12日前
個人
計量スプーン
22日前
個人
微小振動検出装置
1か月前
株式会社イシダ
X線検査装置
1か月前
日本精機株式会社
位置検出装置
今日
日本精機株式会社
位置検出装置
今日
日本精機株式会社
位置検出装置
今日
大和製衡株式会社
組合せ秤
5日前
大和製衡株式会社
組合せ秤
5日前
株式会社辰巳菱機
システム
1か月前
アンリツ株式会社
分光器
28日前
株式会社東芝
センサ
5日前
株式会社東芝
センサ
5日前
株式会社東芝
センサ
1か月前
アンリツ株式会社
分光器
28日前
株式会社ユーシン
操作検出装置
2日前
ダイハツ工業株式会社
測定用具
26日前
トヨタ自動車株式会社
表示装置
14日前
トヨタ自動車株式会社
検査装置
2日前
TDK株式会社
ガスセンサ
1か月前
株式会社カワタ
サンプリング装置
1か月前
学校法人立命館
液面レベルセンサ
1か月前
日本精工株式会社
分注装置
1か月前
TDK株式会社
磁気センサ
29日前
株式会社精工技研
光電圧プローブ
1か月前
株式会社ヨコオ
コンタクタ
26日前
個人
粘塑性を用いた有限要素法の定式化
14日前
株式会社ナリス化粧品
角層細胞採取用具
12日前
東レエンジニアリング株式会社
計量装置
2日前
TDK株式会社
磁気センサ
22日前
成田空港給油施設株式会社
保持治具
13日前
三菱マテリアル株式会社
温度センサ
1か月前
続きを見る
他の特許を見る