TOP
|
特許
|
意匠
|
商標
特許ウォッチ
Twitter
他の特許を見る
公開番号
2025139293
公報種別
公開特許公報(A)
公開日
2025-09-26
出願番号
2024038142
出願日
2024-03-12
発明の名称
誘導装置及び誘導システム
出願人
株式会社小糸製作所
代理人
個人
主分類
F21V
33/00 20060101AFI20250918BHJP(照明)
要約
【課題】低コストに構成できるとともに、ユーザを好適に誘導することが可能な誘導装置および誘導システムを提供する。
【解決手段】ユーザ(車両・人間)が利用する複数の区画域(駐車スペース)PSが設けられた場所に備えられ、ユーザを区画域PSに誘導するための誘導システムである。ユーザを検出するセンサー2と、複数の区画域PSのそれぞれに配設された複数の誘導装置1と、センサー2で検出したユーザの検出情報に基づいて誘導装置1を制御する制御装置3を備える。誘導装置1は区画域PSを照明する照明手段と、区画域PSの床面に所要の光パターンLpを投影する投影手段と、区画域PS及びその近傍領域に向けて音声を発声する発音手段を備え、制御装置3はこれら照明手段と投影手段と発音手段を駆動制御する。
【選択図】 図1
特許請求の範囲
【請求項1】
ユーザが利用するための複数の区画域が設けられた場所に備えられ、当該区画域を利用するユーザを誘導するための誘導装置であり、少なくとも前記複数の区画域に備えられて当該区画域を照明する照明手段と、前記区画域の床面に所要の光パターンを投影する投影手段と、前記区画域及びその近傍領域に存在するユーザに向けて音声を発声する発音手段を備え、前記照明手段と、前記投影手段と、前記発音手段が一体に組み付けられている誘導装置。
続きを表示(約 1,100 文字)
【請求項2】
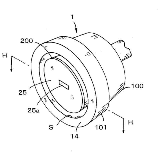
筒型容器状に形成されたアウターハウジングを備え、当該アウターハウジング内にインナーハウジングが配設され、前記照明手段は前記アウターハウジングに組み付けられ、前記投影手段と前記発音手段は前記インナーハウジングに組み付けられる請求項1に記載の誘導装置。
【請求項3】
前記インナーハウジングの開口に投影アウターレンズが配設され、当該投影アウターレンズの周囲に沿って環状をした照明アウターレンズが配設され、前記投影アウターレンズと前記照明アウターレンズの間の環状の空隙が前記発音手段の発音口として構成される請求項2に記載の誘導装置。
【請求項4】
前記投影手段は、前記投影アウターレンズに設けられた透光部の形状を光パターンとして投影する構成であり、前記発音手段はスピーカを備える構成である請求項3に記載の誘導装置。
【請求項5】
ユーザが利用するための複数の区画域が設けられた場所に備えられ、当該場所に存在するユーザを前記区画域あるいは他の領域に誘導するための誘導システムであって、前記場所に存在するユーザを検出するセンサーと、少なくとも前記複数の区画域のそれぞれに配設された複数の誘導装置と、前記センサーと前記誘導装置に接続され、前記センサーで検出したユーザの検出情報に基づいて前記誘導装置を制御する制御装置を備えており、前記誘導装置は前記区画域を照明する照明手段と、当該区画域の床面に所要の光パターンを投影する投影手段と、当該区画域及びその近傍領域に向けて音声を発声する発音手段を備え、前記制御装置はこれら照明手段と投影手段と発音手段を駆動制御することを特徴とする誘導システム。
【請求項6】
前記制御装置は、前記複数の誘導装置のうち、前記ユーザの移動経路に沿って存在する複数の誘導装置を選択的に、あるいは合一的に駆動制御する請求項5に記載の誘導システム。
【請求項7】
前記制御装置は、前記複数の誘導装置を前記ユーザの移動経路に沿って順序的に駆動制御する請求項6に記載の誘導システム。
【請求項8】
前記制御装置は、前記ユーザが使用可能な区画域を前記投影手段で光パターンを投影して表示すること、前記区画域を前記照明手段にて照明すること、前記区画域において前記発音手段により音声を発音することの少なくとも1つを行う請求項5に記載の誘導システム。
【請求項9】
前記区画域は駐車場の駐車スペースであり、前記ユーザは車両及び人間であり、前記誘導装置は当該駐車スペースの上部に配設され、前記投影手段は前記駐車スペースまたはその近傍の床面に予め設定された光パターンを投影する投影装置で構成される請求項5に記載の誘導システム。
発明の詳細な説明
【技術分野】
【0001】
本発明は駐車場等においてユーザ(車両および人間)が場内を安全かつ好適に移動することができるようにユーザを誘導するための誘導装置及び誘導システムに関する。
続きを表示(約 1,800 文字)
【背景技術】
【0002】
駐車場を利用しようとするユーザが駐車スペースまで好適に移動できるように誘導するための装置が提案されている。特許文献1には、駐車場に配設した照明灯にユーザに対する案内のための表示を行う表示手段と、ユーザを撮像する撮像手段が組み込まれ、撮像手段で撮像して得た画像情報に基づいてユーザを検出し、表示手段での表示を制御する案内制御手段を備えた誘導技術が提案されている。この表示手段として、駐車場の床面に所要の光パターンを投影する投影装置が設けられている。
【0003】
また、特許文献2には、駐車スペースにおける好適な駐車領域に車両を駐車する際に、駐車場の床面に多数個のライトを配列し、これらライトを選択的に点灯することによりユーザを駐車位置に誘導する誘導技術が提案されている。
【先行技術文献】
【特許文献】
【0004】
特開2023-69105号公報
特開2023-136353号公報
【発明の概要】
【発明が解決しようとする課題】
【0005】
特許文献1の誘導技術は、駐車場の路面や壁面等に所要の光パターンを投影する構成であり、光パターンを適宜に変更することにより好適な誘導を行うことが可能である。しかし、このように投影する光パターンを変更可能な投影装置は、液晶表示装置や画像形成装置等の高コストの装置を備えることが必要となる。そのため、広い駐車場の全領域においてユーザに対して好適な誘導を行うためには、投影装置の数が増加することになり、高コストになるという課題が生じる。
【0006】
特許文献2の技術は、低コストのランプを用いた技術であるので、ランプ数が多数であってもコスト的には有利である。しかし、ランプの点灯で駐車スペースを表示することは可能であるが、駐車場内を移動するユーザに対して好適な誘導を行うことは難しい。
【0007】
本発明の目的は、低コストに構成できるとともに、ユーザを好適に誘導することが可能な誘導装置および誘導システムを提供する。
【課題を解決するための手段】
【0008】
本発明は、ユーザが利用するための複数の区画域が設けられた場所に備えられ、当該区画域を利用するユーザを誘導するための誘導装置であり、少なくとも複数の区画域に備えられて当該区画域を照明する照明手段と、区画域の床面に所要の光パターンを投影する投影手段と、区画域及びその近傍領域に存在するユーザに向けて音声を発声する発音手段を備える。その上で、誘導装置は、照明手段と、投影手段と、発音手段が一体に組み付けられている。
【0009】
本発明の誘導装置において、筒型容器状に形成されたアウターハウジングを備えており、当該アウターハウジング内にインナーハウジングが配設され、照明ユニットはアウターハウジングに組み付けられ、投影手段と発音手段はインナーハウジングに組み付けられる構成とすることが好ましい。この構成において、インナーハウジングの開口に投影アウターレンズが配設され、当該投影アウターレンズの周囲に沿って環状をした照明アウターレンズが配設され、投影アウターレンズと照明アウターレンズの間の環状の空隙が発音手段の発音口として構成される。さらに、投影手段は投影アウターレンズに設けられた透光部の形状を光パターンとして投影する構成であり、発音手段はスピーカを備える構成である。
【0010】
また、本発明は、ユーザが利用するための複数の区画域が設けられた場所に備えられ、当該場所に存在するユーザを区画域あるいは他の領域に誘導するための誘導システムであって、場所に存在するユーザを検出するセンサーと、少なくとも複数の区画域のそれぞれに配設された複数の誘導装置と、センサーと誘導装置に接続され、センサーで検出したユーザの検出情報に基づいて誘導装置を制御する制御装置を備える。その上で、誘導装置は区画域を照明する照明手段と、当該区画域の床面に所要の光パターンを投影する投影手段と、当該区画域及びその近傍領域に向けて音声を発声する発音手段を備え、制御装置はこれら照明手段と投影手段と発音手段を駆動制御する。
(【0011】以降は省略されています)
この特許をJ-PlatPat(特許庁公式サイト)で参照する
関連特許
株式会社小糸製作所
車輌用灯具
5日前
株式会社小糸製作所
車両用灯具
5日前
株式会社小糸製作所
車両用灯具
5日前
株式会社小糸製作所
車両用灯具
6日前
株式会社小糸製作所
車両用灯具
8日前
株式会社小糸製作所
車両用灯具
12日前
株式会社小糸製作所
車両用灯具
12日前
株式会社小糸製作所
車両用灯具
12日前
株式会社小糸製作所
画像投影装置
12日前
株式会社小糸製作所
道路冠水通知システム
6日前
株式会社小糸製作所
画像照射装置、画像投影装置、および画像照射方法
6日前
個人
室外機器
4か月前
個人
照明システム
3か月前
個人
車載機器の通気構造
1か月前
個人
消火器設置表示装置
2日前
個人
気泡を用いた遊具。
6か月前
株式会社遠藤照明
照明器具
5か月前
株式会社遠藤照明
照明装置
1か月前
デンカ株式会社
照明装置
4か月前
能美防災株式会社
表示灯
1か月前
個人
LEDライト
3か月前
株式会社小糸製作所
車両用灯具
22日前
株式会社小糸製作所
車両用灯具
22日前
デンカ株式会社
道路用照明
4か月前
アクア株式会社
冷蔵庫
2か月前
株式会社小糸製作所
誘導装置
1か月前
フルトラム株式会社
光学機器
21日前
株式会社小糸製作所
投光装置
1か月前
株式会社小糸製作所
投光装置
1か月前
瀧住電機工業株式会社
ダクトレール
7か月前
スタンレー電気株式会社
照射用光源
26日前
株式会社小糸製作所
車両用灯具
4か月前
株式会社小糸製作所
車両用灯具
4か月前
株式会社小糸製作所
車両用灯具
3か月前
株式会社小糸製作所
車両用灯具
5か月前
株式会社小糸製作所
表示用灯具
26日前
続きを見る
他の特許を見る