TOP
|
特許
|
意匠
|
商標
特許ウォッチ
Twitter
他の特許を見る
10個以上の画像は省略されています。
公開番号
2025139039
公報種別
公開特許公報(A)
公開日
2025-09-26
出願番号
2024037756
出願日
2024-03-12
発明の名称
表示灯
出願人
株式会社小糸製作所
代理人
弁理士法人あお葉国際特許事務所
主分類
F21S
9/02 20060101AFI20250918BHJP(照明)
要約
【課題】ハウジングの背面にねじが突出しない、光源モジュールの交換が容易な表示灯を提供する。
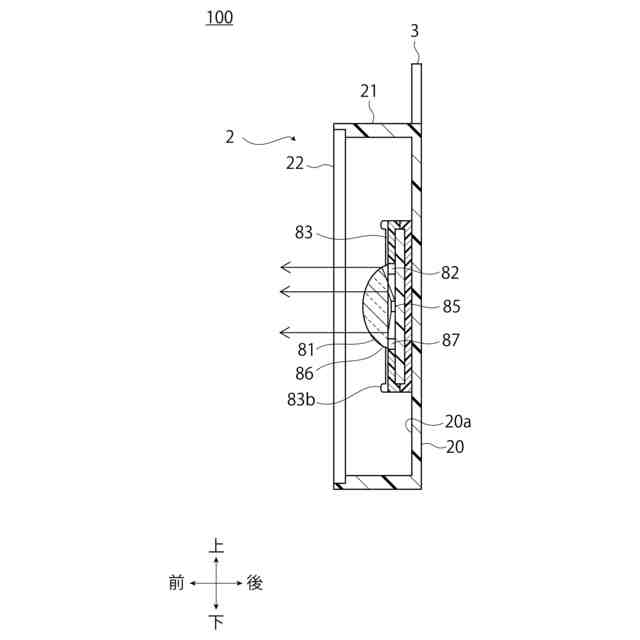
【解決手段】表示灯100は、平板状の光源モジュール8と、光源モジュール8の取付面20aを有するハウジング2と、光源モジュール8を横切って、光源モジュール8を取付面20aとの間に挟むことによりハウジング2に固定する少なくとも1つの固定部材10と、取付面20a内での光源モジュール8の移動を規制する位置決め手段6、とを備え、ハウジング2は、位置決めされた光源モジュール8の一方の側に形成された、固定部材10を光源モジュール8を横切る方向と交差する方向に延びる軸周りに回転可能に取り付ける取付部12と、取付部12と対向して他方の側に形成された、固定部材10の先端部10a
1
,10a
2
が係合する被係合部14とを有し、固定部材10は、弾性力の作用により被係合部14に係合して、光源モジュール8をハウジング2に固定する。
【選択図】図2
特許請求の範囲
【請求項1】
少なくとも1つの光源を有する平板状の光源モジュールと、
前記光源モジュールの取付面を有するハウジングと、
前記光源モジュールを横切って、前記光源モジュールを前記取付面との間に挟むことにより前記ハウジングに固定する少なくとも1つの固定部材と、
前記取付面内での前記光源モジュールの移動を規制する位置決め手段、とを備え、
前記ハウジングは、前記取付面において位置決めされた前記光源モジュールの一方の側に形成された、前記固定部材を、前記光源モジュールを横切る方向と交差する方向に延びる軸周りに回転可能に取り付ける取付部と、前記取付部と対向して他方の側に形成された、前記固定部材の先端部が係合する被係合部とを有し、
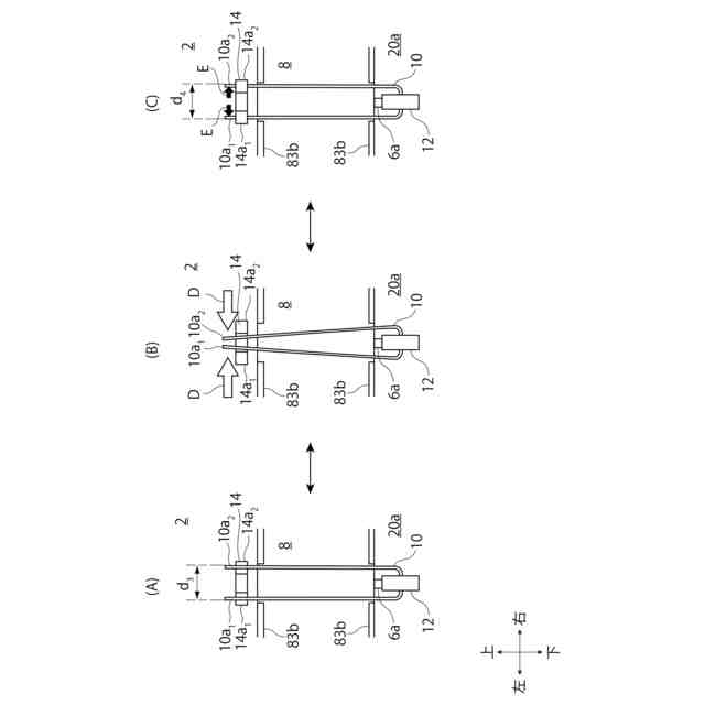
前記固定部材は、弾性力の作用により前記被係合部に係合して、前記光源モジュールを前記ハウジングに固定するように構成されていることを特徴とする表示灯。
続きを表示(約 470 文字)
【請求項2】
前記固定部材は、U字状に形成された線細工ばねであり、前記U字の湾曲部で前記取付部に取り付けられており、2つの先端部は自由端となっており、
前記被係合部として、前記2つの先端部に対応する2つの被係合部が形成されており、
前記2つの先端部は、前記対応する2つの被係合部にそれぞれ付勢されることにより、前記U字の外方に向けて弾性力が作用して係合することを特徴とする請求項1に記載の表示灯。
【請求項3】
前記線細工ばねの前記固定部材は、先端部が丸められていることを特徴とする請求項2に記載の表示灯。
【請求項4】
前記線細工ばねの前記固定部材は、前記対応する2つの被係合部との係合が解除されている状態において、前記取付部から先端へ向かうに従って、前記取付面から離れるように湾曲されていることを特徴とする請求項2または3に記載の表示灯。
【請求項5】
前記取付部は、前記光源モジュールの下方に設けられていることを特徴とする請求項1または2に記載の表示灯。
発明の詳細な説明
【技術分野】
【0001】
本開示は、表示灯に関し、より詳細には、片面に向かって光を出射する表示灯の光源モジュールの取付構造に関する。
続きを表示(約 1,400 文字)
【背景技術】
【0002】
従来、表示灯として、LED光源が基板に実装された光源モジュールを備え、前方に向かって開口する容器状のハウジングの後壁に光源モジュールが取り付けられ、ランプボディの開口部がアウターレンズで閉塞されて、片側面にのみ光を出射するように構成された薄型の表示灯が知られている(特許文献1等)。このような表示灯は、壁面、柱、天井等に取り付けて用いられる。
【0003】
特許文献1等に開示されているように、従来の表示灯では、光源モジュールをねじ止めにより、ハウジングに取り付けることが一般的である。
【先行技術文献】
【特許文献】
【0004】
特開2001-351427号公報
【発明の概要】
【発明が解決しようとする課題】
【0005】
しかし、特許文献1のように、光源モジュールをねじ止めにより固定する場合、ハウジングの背面、すなわち後壁の裏面側にねじの先端部が突出する。このため実際の製品では、ハウジングの背面のねじ取付部付近を、前方へ凹ませて後壁外周後端から突出しないようにする等の工夫が必要であった。また、ねじによる取付では、光源モジュールの交換の際、ねじを紛失する虞があり、作業に手間がかかるという問題もあった。このため、ハウジングの背面にねじが突出せず、かつ光源モジュールの交換が容易な表示灯の提案が求められていた。
【0006】
本発明は係る事情を鑑みてなされたものであり、ハウジングの背面にねじが突出しない、光源モジュールの交換が容易な表示灯を提供することを目的とする。
【課題を解決するための手段】
【0007】
上記目的を達成するために、本発明の1つの態様に係る表示灯は、以下の構成を有する。
【0008】
1.少なくとも1つの光源を有する平板状の光源モジュールと、前記光源モジュールの取付面を有するハウジングと、前記光源モジュールを横切って、前記光源モジュールを前記取付面との間に挟むことにより前記ハウジングに固定する少なくとも1つの固定部材と、前記取付面内での前記光源モジュールの移動を規制する位置決め手段、とを備え、前記ハウジングは、前記取付面において位置決めされた前記光源モジュールの一方の側に形成された、前記固定部材を前記光源モジュールを横切る方向と交差する方向に延びる軸周りに回転可能に取り付ける取付部と、前記取付部と対向して他方の側に形成された、前記固定部材の先端部が係合する被係合部とを有し、前記固定部材は、弾性力の作用により前記被係合部に係合して、前記光源モジュールを前記ハウジングに固定するように構成されている。
【0009】
2.また、上記1の構成において、前記固定部材は、U字状に形成された線細工ばねであり、前記U字の湾曲部で前記取付部に取り付けられており、2つの先端部は自由端となっており、前記被係合部として、前記2つの先端部に対応する2つの被係合部が形成されており、前記2つの先端部は、前記対応する2つの被係合部にそれぞれ付勢されることにより、前記U字の外方に向けて弾性力が作用して係合することも好ましい。
【0010】
3.また、上記2の態様において、前記線細工ばねの前記固定部材は、先端が丸められていることも好ましい。
(【0011】以降は省略されています)
この特許をJ-PlatPat(特許庁公式サイト)で参照する
関連特許
株式会社小糸製作所
車輌用灯具
7日前
株式会社小糸製作所
車両用灯具
7日前
株式会社小糸製作所
車両用灯具
7日前
株式会社小糸製作所
車両用灯具
8日前
株式会社小糸製作所
車両用灯具
10日前
株式会社小糸製作所
車両用灯具
14日前
株式会社小糸製作所
車両用灯具
14日前
株式会社小糸製作所
車両用灯具
14日前
株式会社小糸製作所
画像表示装置
1日前
株式会社小糸製作所
画像投影装置
14日前
株式会社小糸製作所
道路冠水通知システム
8日前
株式会社小糸製作所
レンズに付着する雪を融かす融雪機構
17日前
株式会社小糸製作所
画像照射装置、画像投影装置、および画像照射方法
8日前
株式会社小糸製作所
車両用赤外線センサ内蔵灯具
1日前
個人
室外機器
4か月前
個人
照明システム
3か月前
個人
気泡を用いた遊具。
6か月前
個人
車載機器の通気構造
1か月前
個人
消火器設置表示装置
4日前
株式会社遠藤照明
照明器具
5か月前
株式会社遠藤照明
照明装置
1か月前
株式会社小糸製作所
車両用灯具
24日前
株式会社小糸製作所
車両用灯具
24日前
個人
LEDライト
3か月前
デンカ株式会社
照明装置
4か月前
能美防災株式会社
表示灯
1か月前
デンカ株式会社
道路用照明
4か月前
株式会社小糸製作所
投光装置
1か月前
株式会社小糸製作所
誘導装置
1か月前
株式会社小糸製作所
投光装置
1か月前
スタンレー電気株式会社
照射用光源
28日前
フルトラム株式会社
光学機器
23日前
アクア株式会社
冷蔵庫
2か月前
株式会社小糸製作所
車両用灯具
3か月前
株式会社小糸製作所
車両用灯具
4か月前
株式会社小糸製作所
車両用灯具
3か月前
続きを見る
他の特許を見る