TOP
|
特許
|
意匠
|
商標
特許ウォッチ
Twitter
他の特許を見る
公開番号
2025136400
公報種別
公開特許公報(A)
公開日
2025-09-19
出願番号
2024034944
出願日
2024-03-07
発明の名称
合成開口レーダー用リフレクタ、及び計測方法
出願人
国際航業株式会社
代理人
弁理士法人 武政国際特許商標事務所
主分類
G01S
7/03 20060101AFI20250911BHJP(測定;試験)
要約
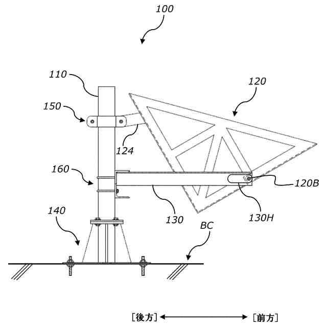
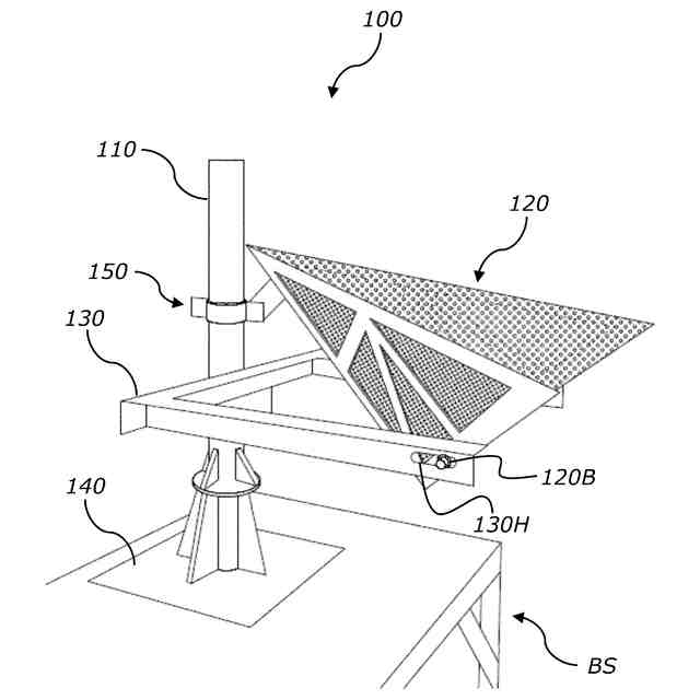
【課題】本願発明の課題は、従来の問題を解決することであり、すなわち反射板の傾きを調整することができる合成開口レーダー用リフレクタと、これを用いた計測方法を提供することである。
【解決手段】本願発明の合成開口レーダー用リフレクタは、支柱と反射体、アームを備えたものである。このうち反射体は、合成開口レーダーを反射する反射板を含んで構成され、アームは、反射体の両側に配置されて支柱に取り付けられる。また反射体は、アームのアーム軸に沿ってスライド可能となるように両側のアームに取り付けられ、その一部が支柱にピン結合される。そして反射体がアーム軸に沿ってスライドすると、反射体が回転することによってその傾きが変化する。
【選択図】図1
特許請求の範囲
【請求項1】
支柱と、
合成開口レーダーを反射する反射板を含んで構成される反射体と、
前記反射体の両側に配置されるアームと、を備え、
前記アームは、前記支柱に取り付けられ、
前記反射体は、前記アームのアーム軸に沿ってスライド可能となるように、両側の該アームに取り付けられ、
また前記反射体の一部が、前記支柱にピン結合され、
前記反射体が、前記アーム軸に沿ってスライドすると、傾きが変化する、
ことを特徴とする合成開口レーダー用リフレクタ。
続きを表示(約 670 文字)
【請求項2】
前記アームが、前記支柱の軸周りに回転するように前記支柱に取り付けられた、
ことを特徴とする請求項1記載の合成開口レーダー用リフレクタ。
【請求項3】
前記アームが、前記支柱の軸に沿ってスライド可能となるように、該支柱に取り付けられた、
ことを特徴とする請求項1記載の合成開口レーダー用リフレクタ。
【請求項4】
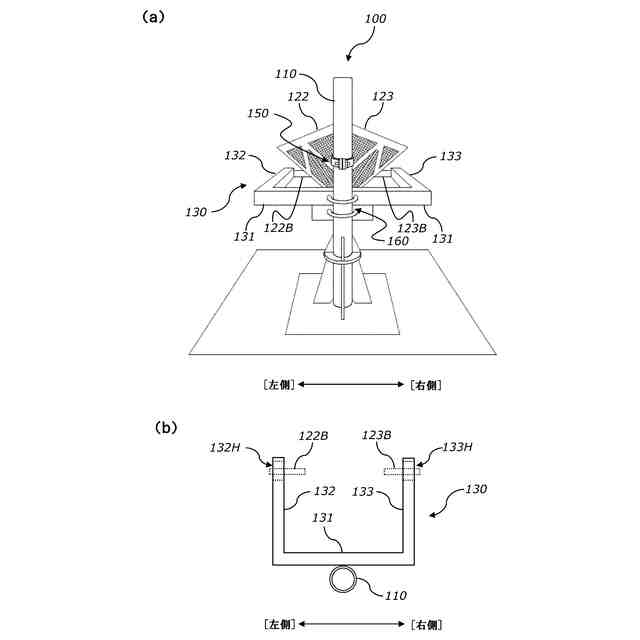
前記反射体は、底面に配置される底反射面、該底反射面の一方側に配置される左反射面、及び該底反射面の他方側に配置される右反射面によって形成され、
前記底反射面、前記左反射面、及び前記右反射面は、それぞれ前記反射板からなり、
前記アームには、前記アーム軸に沿ったスライド孔が設けられ、
前記反射体は、前記左反射面と前記右反射面が接合する背面側で前記支柱に取り付けられ、
前記左反射面に設けられた左張出材が前記スライド孔に挿入されるとともに、前記右反射面に設けられた右張出材が前記スライド孔に挿入された、
ことを特徴とする請求項1記載の合成開口レーダー用リフレクタ。
【請求項5】
請求項1記載の前記合成開口レーダー用リフレクタを、計画位置に設置するリフレクタ設置工程と、
前記反射体を前記アーム軸に沿ってスライドすることによって、該反射体の傾きを調整する角度調整工程と、を備え、
前記合成開口レーダー用リフレクタを利用して、前記合成開口レーダーによる計測を行う、
ことを特徴とする計測方法。
発明の詳細な説明
【技術分野】
【0001】
本願発明は、合成開口レーダーによる計測に関する技術であり、より具体的には、その傾きを容易に調整することができる合成開口レーダー用のリフレクタと、これを用いて計測する方法に関するものである。
続きを表示(約 1,900 文字)
【背景技術】
【0002】
我が国は地震が頻発する国として知られ、近年では令和6年能登半島地震をはじめ、東北地方太平洋沖地震や、兵庫県南部地震など大きな地震が発生し、そのたびに甚大な被害を被ってきた。また、地球温暖化に伴い、従来では見られなかったゲリラ豪雨や台風など、大規模な風水害も多発している。
【0003】
地震や台風等によって広範囲の建物被害を受けると、その全容を把握すべく上空からの調査が行われる。例えば、航空機で上空を飛行しながら撮影(いわゆる空撮)を行い、その画像を用いて被害状況を確認することがある。広範囲を対象として調査を行う技術としては、航空写真を利用する手法のほか、合成開口レーダー(SAR:Synthetic Aperture Radar)を利用した手法が知られている。例えば、2時期のSARの計測結果を比較する差分干渉合成開口レーダーで解析することによって、数センチオーダーの変位量を広範囲で得ることができる。2014年5月には陸域観測技術衛星2号「だいち2号」(ALOS-2)が打ち上げられ、また民間の超小型SAR衛星の開発と打ち上げも進められており、さらなるSARの活用が推進されているところである。
【0004】
合成開口レーダーによって行われる計測(以下、単に「合成開口レーダー計測」という。)は、衛星から照射したマイクロ波が地上で反射し、その反射波の信号強度や位相などから地物の位置や変位を把握する手法である。そして合成開口レーダー計測では、合成開口レーダー(つまり、マイクロ波)を強く反射するリフレクタが利用されることもある。リフレクタでの反射波は周囲よりも非常に強く、他の地物における反射波と区別することができるため、例えば座標が既知である基準点などにリフレクタ(コーナーリフレクタと称されることもある。)を設置するわけである。
【0005】
通常、一旦設置されたリフレクタに含まれる反射板(例えば金属板)の傾き(傾斜角度)が変更されることはなく、またリフレクタは設置されると長期に亘って移動されることもない。そのためリフレクタを設置するときは、反射板が常に適切な角度となるように配置したり、他者の障壁にならない場所を選定したりするなど、相当の配慮が必要であった。そこで、合成開口レーダー用のリフレクタに関する種々の技術がこれまでにも提案されている。例えば特許文献1では、地上に固定され、様々な方向から衛星の電波を反射することを目的とした「基準点用リフレクタ」について提案している。
【先行技術文献】
【特許文献】
【0006】
特開2019-220905号公報
【発明の概要】
【発明が解決しようとする課題】
【0007】
上記したとおり、通常はリフレクタの反射板の傾きを変更することがないことから、その反射板が計画された傾きとなるようにリフレクタを製作していた。そのため、特許文献1の基準点用リフレクタをはじめ従来のリフレクタは、反射板の傾きが固定されたままであり、つまりその後に反射板の傾きを変更することはできなかった。しかしながら、実際に現地でリフレクタを設置すると、衛星によって様々な方位から観測されるため反射板の傾きを変更することもあり、また周囲の環境や設置場所の傾斜などによっては反射板の傾きの調整が必要になることもある。この場合、従来では新たにリフレクタを製作するよりなかった。
【0008】
本願発明の課題は、従来の問題を解決することであり、すなわち反射板の傾きを調整することができる合成開口レーダー用リフレクタと、これを用いた計測方法を提供することである。
【課題を解決するための手段】
【0009】
本願発明は、反射板を支持するアームに沿ってその反射板がスライドする構成とし、これにより反射板の傾きが変更可能となる、という点に着目したものであり、従来にはなかった発想に基づいてなされた発明である。
【0010】
本願発明の合成開口レーダー用リフレクタは、支柱と反射体、アームを備えたものである。このうち反射体は、合成開口レーダーを反射する反射板を含んで構成され、アームは、反射体の両側に配置されて支柱に取り付けられる。また反射体は、アームのアーム軸に沿ってスライド可能となるように両側のアームに取り付けられ、その一部が支柱にピン結合される。そして反射体がアーム軸に沿ってスライドすると、反射体が回転することによってその傾きが変化する。
(【0011】以降は省略されています)
この特許をJ-PlatPat(特許庁公式サイト)で参照する
関連特許
国際航業株式会社
平面位置特定方法
1か月前
国際航業株式会社
建物情報取得システム
1か月前
国際航業株式会社
標高変化量算出システム
1か月前
国際航業株式会社
道路縁データ作成支援システム
1か月前
個人
採尿及び採便具
19日前
日本精機株式会社
検出装置
13日前
個人
計量機能付き容器
8日前
個人
アクセサリー型テスター
1か月前
個人
高精度同時多点測定装置
1か月前
甲神電機株式会社
電流検出装置
13日前
株式会社ミツトヨ
測定器
25日前
アズビル株式会社
電磁流量計
28日前
ダイキン工業株式会社
監視装置
1か月前
大成建設株式会社
風洞実験装置
8日前
株式会社ヨコオ
ソケット
1か月前
株式会社ヨコオ
ソケット
1か月前
トヨタ自動車株式会社
監視装置
1か月前
双庸電子株式会社
誤配線検査装置
14日前
長崎県
形状計測方法
1か月前
個人
システム、装置及び実験方法
28日前
愛知電機株式会社
軸部材の外観検査装置
22日前
ローム株式会社
半導体装置
1か月前
個人
非接触による電磁パルスの測定方法
11日前
個人
計量具及び計量機能付き容器
8日前
大和製衡株式会社
組合せ計量装置
22日前
大和製衡株式会社
組合せ計量装置
22日前
愛知時計電機株式会社
ガスメータ
25日前
TDK株式会社
磁気センサ
1か月前
日本信号株式会社
距離画像センサ
11日前
ローム株式会社
半導体装置
1か月前
日本特殊陶業株式会社
ガスセンサ
6日前
日東精工株式会社
振動波形検査装置
14日前
多摩川精機株式会社
冗長エンコーダ
1か月前
日本特殊陶業株式会社
センサ
25日前
三恵技研工業株式会社
融雪レドーム
1か月前
ダイハツ工業株式会社
移動支援装置
1か月前
続きを見る
他の特許を見る