TOP
|
特許
|
意匠
|
商標
特許ウォッチ
Twitter
他の特許を見る
公開番号
2025136034
公報種別
公開特許公報(A)
公開日
2025-09-19
出願番号
2024034197
出願日
2024-03-06
発明の名称
メタマテリアルの製造方法、コーティング装置、メタマテリアル製造システム、並びにメタマテリアル及びその物品
出願人
国立大学法人東北大学
,
東北電力株式会社
,
北日本電線株式会社
代理人
個人
,
個人
,
個人
,
個人
主分類
B32B
7/025 20190101AFI20250911BHJP(積層体)
要約
【課題】本開示は、メタマテリアルの特性を劣化させることなくメタマテリアルの膜厚を大きくすることの可能な、メタマテリアルの製造方法、コーティング装置、メタマテリアル製造システム、並びにメタマテリアル及びその物品を提供することを目的とする。
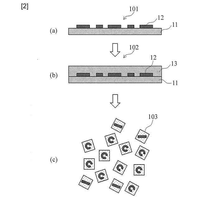
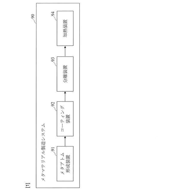
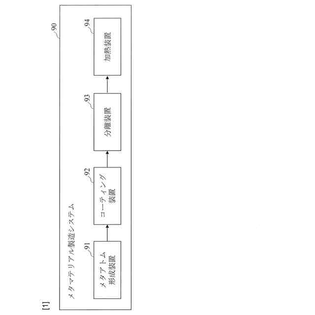
【解決手段】本開示は、コーティング装置92及び分離装置93を備えるメタマテリアル製造システムが実行するメタマテリアルの製造方法であって、コーティング装置92が、メタアトムの形状を有する導電体層12が形成されている非導電性フィルム11上に、非導電体層13をディップコーティングする第1工程と、分離装置93が、前記非導電体層13のコーティングされた前記非導電性フィルム102を、前記メタアトムを少なくとも一つ含むメタマテリアルに分離する第2工程と、を備える。
【選択図】図1
特許請求の範囲
【請求項1】
メタアトムの形状を有する導電体層が形成されている非導電性フィルム上に、非導電体層をディップコーティングする第1工程と、
前記非導電体層のコーティングされた前記非導電性フィルムを、前記メタアトムを少なくとも一つ含むメタマテリアルに分離する第2工程と、
を備えるメタマテリアルの製造方法。
続きを表示(約 910 文字)
【請求項2】
前記第2工程によって得られたメタマテリアルを個別に加熱整形する第3工程をさらに備える、
請求項1に記載のメタマテリアルの製造方法。
【請求項3】
前記第2工程において、前記非導電体層のコーティングされた前記非導電性フィルムに、メタマテリアルの形状に応じた形状で熱インプリントを行うことによって、前記分離を行う、
請求項1に記載のメタマテリアルの製造方法。
【請求項4】
前記第2工程において、前記非導電体層のコーティングされた前記非導電性フィルムを、メタマテリアルの形状に応じた形状に抜き出すことによって、前記分離を行う、
請求項1に記載のメタマテリアルの製造方法。
【請求項5】
前記メタアトムの形状を有する導電体層を非導電性フィルム上に形成する第4工程を、前記第1工程の前に備える、
請求項1に記載のメタマテリアルの製造方法。
【請求項6】
メタアトムの形状を有する導電体層が形成されている非導電性フィルム上に、非導電体層をディップコーティングする、
コーティング装置。
【請求項7】
前記非導電性フィルムが四角形状である、
請求項6に記載のコーティング装置。
【請求項8】
請求項6又は7に記載のコーティング装置と、
前記コーティング装置において非導電体層でコーティングされた非導電性フィルムを、メタマテリアルの形状に応じた形状で、メタアトムを少なくとも一つ含むメタマテリアルに分離する分離装置と、
を備えるメタマテリアル製造システム。
【請求項9】
前記分離によって得られたメタマテリアルを個別に加熱整形する加熱装置をさらに備える、
請求項8に記載のメタマテリアル製造システム。
【請求項10】
前記メタアトムの形状を有する導電体層を非導電性フィルム上に形成するメタアトム形成装置をさらに備える、
請求項8に記載のメタマテリアル製造システム。
(【請求項11】以降は省略されています)
発明の詳細な説明
【技術分野】
【0001】
本開示は、メタマテリアルの製造方法、コーティング装置、メタマテリアル製造システム、並びにメタマテリアル及びその物品に関する。
続きを表示(約 1,100 文字)
【背景技術】
【0002】
自然界の材料そのものとは異なる特性を人工的に生み出した構造体(以下、メタマテリアルと称する。)が提案されている。メタマテリアルとメタアトムは、物質で言うところのバルクとそれを構成する原子、の関係性を有する。メタマテリアルというマテリアルを構成する単位構造がメタアトムである。
【0003】
これまでに製作されたメタマテリアルとしては、樹脂壁面にスプリットリング共振器を製作したメタマテリアル(例えば、非特許文献1参照。)、及び多層メタマテリアル(例えば、非特許文献2参照。)がある。
【先行技術文献】
【非特許文献】
【0004】
D.Bruce et al. adv. mater, 22, 5053-5057, 2010
N. Liu et al. nature. mater, 7 31-37, 2008
【発明の概要】
【発明が解決しようとする課題】
【0005】
しかし、非特許文献1のメタマテリアルは製作可能な厚さに限界があった。非特許文献2のメタマテリアルは、多層にすることで膜厚を大きくできているが、層同士の界面において屈折率差が生じる可能性があった。透過率、旋光性及び指向性といったメタマテリアルの特性を向上するためには、屈折率差の生じる可能性のある界面は少ないことが望ましい。
【0006】
そこで、本開示は、メタマテリアルの特性を劣化させることなくメタマテリアルの膜厚を大きくすることの可能な、メタマテリアルの製造方法、コーティング装置、メタマテリアル製造システム、並びにメタマテリアル及びその物品を提供することを目的とする。
【課題を解決するための手段】
【0007】
発明者らは、屈折率差の生じる可能性のある界面を減らすメタマテリアルの製造方法を発明した。
【0008】
本開示のメタマテリアルの製造方法は、
メタアトムの形状を有する導電体層が形成されている非導電性フィルム上に、非導電体層をディップコーティングする第1工程と、
前記非導電体層のコーティングされた前記非導電性フィルムを、前記メタアトムを少なくとも一つ含むメタマテリアルに分離する第2工程と、
を備える。
【0009】
前記第2工程によって得られたメタマテリアルを個別に加熱整形する第3工程をさらに備えていてもよい。
【0010】
前記メタアトムの形状を有する導電体層を非導電性フィルム上に形成する第4工程を、前記第1工程の前に備えていてもよい。
(【0011】以降は省略されています)
この特許をJ-PlatPat(特許庁公式サイト)で参照する
関連特許
東レ株式会社
積層体
10か月前
東レ株式会社
積層体
5か月前
個人
箔転写シート
6か月前
ユニチカ株式会社
積層体
3か月前
ユニチカ株式会社
積層体
9か月前
東レ株式会社
積層構造体
10か月前
東レ株式会社
積層フィルム
4か月前
個人
鋼材の塗膜構造
3か月前
東レ株式会社
積層フィルム
2か月前
東レ株式会社
積層フィルム
7か月前
東レ株式会社
強化繊維基材
5か月前
東レ株式会社
強化繊維基材
5か月前
東レ株式会社
積層フィルム
9か月前
ユニチカ株式会社
透明シート
3か月前
東洋紡株式会社
積層包装材料
3か月前
東レ株式会社
加飾用フィルム
1か月前
東レ株式会社
無配向フィルム
1か月前
東ソー株式会社
多層フィルム
6か月前
エスケー化研株式会社
積層体
9か月前
東レ株式会社
光透過性表皮材
1か月前
東ソー株式会社
多層フィルム
8か月前
積水樹脂株式会社
磁性シート
8か月前
東レ株式会社
多層積層フィルム
2か月前
日本バイリーン株式会社
表皮材
4か月前
日本発條株式会社
積層体
1か月前
大倉工業株式会社
多層フィルム
9か月前
出光興産株式会社
構造体
20日前
三菱製紙株式会社
不織布積層体
8か月前
アイカ工業株式会社
光学積層体
7か月前
東ソー株式会社
蓋材用フィルム
12か月前
artience株式会社
積層体
5か月前
東洋アルミニウム株式会社
積層体
4か月前
豊田合成株式会社
樹脂製品
5か月前
東レ株式会社
サンドイッチ構造体
2か月前
大吉シール株式会社
積層体
1か月前
東レ株式会社
電子機器筐体用部材
10か月前
続きを見る
他の特許を見る