TOP
|
特許
|
意匠
|
商標
特許ウォッチ
Twitter
他の特許を見る
10個以上の画像は省略されています。
公開番号
2025127324
公報種別
公開特許公報(A)
公開日
2025-09-01
出願番号
2024023998
出願日
2024-02-20
発明の名称
光照射装置及び光照射方法
出願人
MFオプテックス株式会社
代理人
弁理士法人前田特許事務所
主分類
F21V
8/00 20060101AFI20250825BHJP(照明)
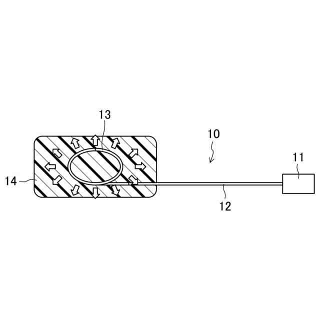
要約
【課題】表面に凹凸を有する被光照射対象に対し、凹凸による影の影響を軽減して光を均一に照射することができる光照射装置を提供する。
【解決手段】光照射装置10は、光源11と、光源11からの光を導光するとともに側面発光する光拡散ファイバ13と、光拡散ファイバ13が埋設されて光拡散ファイバ13から側面発光した光を透過して外部に出射する塊状の光出射部14とを備える。
【選択図】図1A
特許請求の範囲
【請求項1】
光源と、
前記光源からの光を導光するとともに側面発光する光拡散ファイバと、
前記光拡散ファイバが埋設されて前記光拡散ファイバから側面発光した光を透過して外部に出射する塊状の光出射部と、
を備えた光照射装置。
続きを表示(約 510 文字)
【請求項2】
請求項1に記載された光照射装置において、
前記光出射部の被光照射対象への光出射面が所定温度で可塑性を有する材料で形成されている光照射装置。
【請求項3】
請求項1に記載された光照射装置において、
前記光出射部に光散乱体が分散するように添加されている光照射装置。
【請求項4】
請求項1に記載された光照射装置において、
前記光出射部に蛍光体が分散するように添加されている光照射装置。
【請求項5】
請求項1に記載された光照射装置において、
前記光出射部における前記光拡散ファイバの埋設位置から被光照射対象側とは反対側に光反射構造が設けられている光照射装置。
【請求項6】
請求項1に記載された光照射装置において、
前記光拡散ファイバの先端が前記光出射部内に設けられている光照射装置。
【請求項7】
塊状の光出射部に埋設された光拡散ファイバを側面発光させ、前記光拡散ファイバから側面発光した光を、前記光出射部を透過させて外部に出射させることにより被光照射対象に照射する光照射方法。
発明の詳細な説明
【技術分野】
【0001】
本発明は、光照射装置及び光照射方法に関する。
続きを表示(約 1,400 文字)
【背景技術】
【0002】
側面発光する光拡散ファイバは、蛍光灯やネオン管といった放電管と同様、照明、広告、装飾等の用途で用いることができる(例えば特許文献1)。
【先行技術文献】
【特許文献】
【0003】
特開2000-131530号公報
【発明の概要】
【発明が解決しようとする課題】
【0004】
LED等の光源を被光照射対象の近傍に設置し、光源からの光を直接的に被光照射対象に照射する光照射方法がある。また、光源に接続した光ファイバを被光照射対象の近傍まで延ばし、光源からの光を光ファイバを介して間接的に被光照射対象に照射する光照射方法がある。これらの光照射方法において、被光照射対象の表面が凹凸面である場合、凹凸による影が影響して被光照射対象に均一に光を照射することが困難であるという問題がある。
【0005】
本発明の課題は、表面に凹凸を有する被光照射対象に対し、凹凸による影の影響を軽減して光を均一に照射することができる光照射装置を提供することである。
【課題を解決するための手段】
【0006】
本発明は、光源と、前記光源からの光を導光するとともに側面発光する光拡散ファイバと、前記光拡散ファイバが埋設されて前記光拡散ファイバから側面発光した光を透過して外部に出射する塊状の光出射部とを備えた光照射装置である。
【0007】
本発明は、塊状の光出射部に埋設された光拡散ファイバを側面発光させ、前記光拡散ファイバから側面発光した光を、前記光出射部を透過させて外部に出射させることにより被光照射対象に照射する光照射方法。
【発明の効果】
【0008】
本発明によれば、塊状の光出射部に埋設された光拡散ファイバを側面発光させ、その光拡散ファイバから側面発光した光を、光出射部を透過させるとともに拡散させて外部に出射させ、それを被光照射対象に照射することにより、表面に凹凸を有する被光照射対象に対しても、凹凸による影の影響を軽減して光を均一に照射することができる。
【図面の簡単な説明】
【0009】
実施形態1に係る光照射装置の構成を示す側面視の図である。
実施形態1に係る光照射装置の構成を示す平面視の図である。
光拡散ファイバの断面図である。
実施形態1に係る光照射装置の使用方法の一態様を示す図である。
実施形態2に係る光照射装置の構成を示す側面視の図である。
実施形態2に係る光照射装置の変形例の構成を示す側面視の図である。
実施形態3に係る光照射装置の構成を示す側面視の図である。
実施形態4に係る光照射装置の構成を示す側面視の図である。
実施形態5に係る光照射装置の第1の構成を示す側面視の図である。
実施形態5に係る光照射装置の第2の構成を示す側面視の図である。
実施形態6に係る光照射装置の構成を示す側面視の図である。
実施形態6に係る光照射装置を用いた樹脂成形品の製造方法の第1の説明図である。
実施形態6に係る光照射装置を用いた樹脂成形品の製造方法の第2の説明図である。
【発明を実施するための形態】
【0010】
以下、実施形態について図面に基づいて詳細に説明する。
(【0011】以降は省略されています)
この特許をJ-PlatPat(特許庁公式サイト)で参照する
関連特許
MFオプテックス株式会社
光照射装置及び光照射方法
2か月前
MFオプテックス株式会社
類似度算出プログラム及びコンピュータ
1日前
個人
室外機器
5か月前
個人
照明装置
21日前
個人
照明システム
4か月前
個人
気泡を用いた遊具。
7か月前
個人
車載機器の通気構造
2か月前
個人
消火器設置表示装置
1か月前
株式会社遠藤照明
照明装置
2か月前
株式会社遠藤照明
照明器具
6か月前
個人
LEDライト
4か月前
日亜化学工業株式会社
面状光源
1日前
デンカ株式会社
照明装置
5か月前
能美防災株式会社
表示灯
2か月前
株式会社小糸製作所
車両用灯具
1か月前
株式会社小糸製作所
車両用灯具
1か月前
デンカ株式会社
道路用照明
5か月前
フルトラム株式会社
光学機器
1か月前
株式会社小糸製作所
誘導装置
2か月前
スタンレー電気株式会社
照射用光源
1か月前
株式会社小糸製作所
投光装置
2か月前
株式会社小糸製作所
投光装置
2か月前
アクア株式会社
冷蔵庫
3か月前
瀧住電機工業株式会社
ダクトレール
8か月前
株式会社小糸製作所
車両用灯具
5か月前
株式会社小糸製作所
車両用灯具
1か月前
株式会社小糸製作所
車両用灯具
8か月前
株式会社オカムラ
間仕切り装置
8か月前
株式会社小糸製作所
車両用灯具
4か月前
株式会社小糸製作所
車両用灯具
6か月前
株式会社小糸製作所
車両用灯具
4か月前
株式会社小糸製作所
車両用灯具
4か月前
株式会社小糸製作所
車両用灯具
7か月前
株式会社小糸製作所
車両用灯具
5か月前
株式会社小糸製作所
車両用灯具
1か月前
株式会社小糸製作所
車両用灯具
24日前
続きを見る
他の特許を見る