TOP
|
特許
|
意匠
|
商標
特許ウォッチ
Twitter
他の特許を見る
10個以上の画像は省略されています。
公開番号
2025067855
公報種別
公開特許公報(A)
公開日
2025-04-24
出願番号
2024176663
出願日
2024-10-08
発明の名称
スライダー
出願人
YKK株式会社
代理人
アクシス国際弁理士法人
主分類
A44B
19/30 20060101AFI20250417BHJP(小間物;貴金属宝石類)
要約
【課題】スライダーのスライダー本体とロックピン等の構造について改良が必要である。
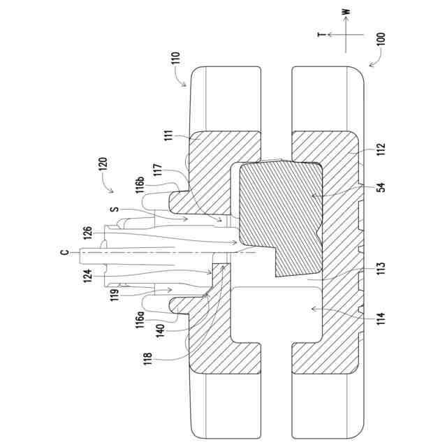
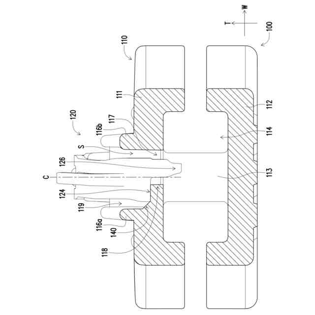
【解決手段】スライダーは、ファスナーチェーンへの取り付けに適し、スライダー本体と、ロックピンと、引手と、を含み、スライダー本体は、ロックピンの収容空間を形成する一対の壁部と、一対の壁部の間に形成され且つエレメント通路に連通する爪孔と、一対の壁部の間において少なくとも爪孔の片側且つ一対の壁部の片方側に設置されてロックピンを載置する台座部を有し、ロックピンは、保持部、保持部と反対側であり且つ台座部に載置される載置部、及び載置部から下方へ延伸し且つ爪孔を通過する爪部を有し、台座部及び載置部のうちの一方には、幅方向に載置部を位置規制する位置規制部が設けられ、且つ収容空間において、台座部の上方には、載置部を移動させる空隙部が設けられ、載置部と一対の壁部の片方側の内壁は、間隔を隔てて設置され、空隙部を形成する。
【選択図】図3
特許請求の範囲
【請求項1】
ファスナーチェーンへの取り付けに適したスライダーであって、
対向して設置される上翼板と下翼板、及び前記上翼板及び前記下翼板を接続する案内柱を含み、且つ前記上翼板と前記下翼板との間に位置するエレメント通路を有するスライダー本体と、
前記スライダー本体に設置されるロックピンと、
前記スライダー本体に設置され、且つ前記ロックピンを駆動して移動させる引手と、
を備え、
前記スライダー本体は、前記上翼板上に設けられるとともに前記ロックピンの収容空間を形成する一対の壁部と、前記一対の壁部の間に形成され且つ前記エレメント通路に連通する爪孔と、前記一対の壁部の間において少なくとも前記爪孔の片側且つ前記一対の壁部の片方側に設置されて前記ロックピンを載置する台座部を有し、
前記ロックピンは、前記スライダー本体の前側で保持される保持部、前記保持部と反対側であり且つ前記台座部に載置される載置部、及び前記載置部から下方へ延伸し且つ前記爪孔を通過する爪部を有し、
前記台座部及び前記載置部のうちの一方には、幅方向において前記載置部を位置規制する位置規制部が設けられ、且つ
前記収容空間において、前記台座部の上方には、前記載置部が移動する空隙部が設けられ、
前記載置部と前記一対の壁部の片方側の内壁は、間隔を隔てて設置され、前記空隙部を形成することを特徴とするスライダー。
続きを表示(約 960 文字)
【請求項2】
前記空隙部は、上下方向に前記位置規制部よりも上方に位置することを特徴とする請求項1に記載のスライダー。
【請求項3】
前記位置規制部は、前記爪孔と反対側で前記台座部に設置され、前記幅方向において前記台座部に対する前記載置部の変位を規制することを特徴とする請求項1に記載のスライダー。
【請求項4】
前記位置規制部は、前記載置部が載置される前記台座部に向かって下方へ傾斜する傾斜面を含むことを特徴とする請求項3に記載のスライダー。
【請求項5】
前記位置規制部は、前記爪部に隣接する側で前記載置部に設置され、前記幅方向において前記台座部に対する前記載置部の変位を規制することを特徴とする請求項1に記載のスライダー。
【請求項6】
前記位置規制部は、前記載置部から前記爪部に向かって下方へ傾斜する傾斜面を含むことを特徴とする請求項5に記載のスライダー。
【請求項7】
前記載置部と前記爪部は、互いに連接してL字構造を構成し、
前記台座部は、前記爪孔の片側且つ前記一対の壁部の片方側に設置され、前記爪部を前記台座部近傍の前記爪孔に通させ、且つ
前記位置規制部は、前記一対の壁部の片方側と前記載置部との間に設置され、或いは前記爪部と前記台座部との間に設置されることを特徴とする請求項1~6のいずれかに一項に記載のスライダー。
【請求項8】
前記載置部と前記爪部は、互いに連接してT字構造を構成し、
前記台座部は、一対の台座部として前記爪孔の相対する両側且つ前記一対の壁部の両方に設置され、前記爪部を前記一対の台座部の間の前記爪孔に通させ、且つ
前記位置規制部は、前記一対の壁部の片方側と前記載置部との間に設置され、或いは前記爪部と一方の前記台座部との間に設置されることを特徴とする請求項1~6のいずれかに一項に記載のスライダー。
【請求項9】
前記ロックピンの前記爪部は、前記スライダー本体の中心線に対してオフセットして設置され、前記エレメント通路を通過する一対のエレメント列の一方に差し込み可能であることを特徴とする請求項1~6のいずれかに一項に記載のスライダー。
発明の詳細な説明
【技術分野】
【0001】
本発明は、ファスナー分野の技術に関し、特にスライダー(slider)に関する。
続きを表示(約 2,100 文字)
【背景技術】
【0002】
よく見られるファスナーは、通常、帯状のファスナーテープ(fastener tape)とファスナーテープ上に配置した複数のエレメント列(element columns)からなる一対のファスナーチェーン(fastener chain)と、ファスナーチェーン上に取り付けられ、摺動することによってエレメントを開閉するスライダーを含み、更に必要に応じてスライダーに引手(tab pull)を取り付けることができる。また、更にスライダーのスライダー本体にロックピン(lock pin)を設け、スライダーを、ロックピンを介してファスナーチェーンにロックさせる。例えば、ロックピンは、スライダー本体の爪孔を通って下方に延伸し、ファスナーチェーンが設けられるエレメント列またはファスナーテープに差し込まれる。ロック方法は、ファスナー、スライダー又はロックピンの種類によって異なることができる。また、ロックピンの差し込みの有無は、引手に連動させることができ、例えば、引手を引いてスライダーを駆動する時、引手がロックピンを同時に駆動してロックを解除する。ロック解除の方法は、ファスナー、スライダー又はロックピンの種類によって異なることができる。
【0003】
更に、従来技術では、ファスナーチェーンには更に蝶棒(separable pin)と箱棒(retainer pin)が設けられる。蝶棒と箱棒は、それぞれ、一対のファスナーテープ上に設けられ、且つ一対のエレメント列の末端に位置する。また、蝶棒と箱棒は、互いに嵌合してファスナーチェーンの末端を固定することも可能である。このように、スライダーがファスナーチェーンに取り付けられた状態で、スライダーがファスナーチェーンに対してスライドすることでエレメント列が開閉する。スライダーがファスナーチェーンの末端に移動する時、蝶棒と箱棒が下から上にスライダー本体内に挿入されてそれぞれエレメント通路を通る。この時、ロック強度の低下を回避するため、ロックピンをスライダー本体の片側に設置し、ロックピンを片側のエレメント列に差し込み可能にすれば、ロックピンが、蝶棒の挿入に干渉してしまう。これに対して、ロックピンが蝶棒の挿入に干渉することを回避するために、ロックピンをスライダー本体の中央に設置すれば、ロックピンは、一対のエレメント列の間に差し込まれるだけになり、ロック強度の低下を招いてしまう。
【先行技術文献】
【特許文献】
【0004】
特許第5647730号公報
中国実用新案第201691193号明細書
【発明の概要】
【発明が解決しようとする課題】
【0005】
このように、スライダーのスライダー本体とロックピン等の構造について改良が必要である。
【課題を解決するための手段】
【0006】
本発明は、ロックピンのロック強度及び蝶棒の挿入効果を兼ね備え、良好な操作性を有するスライダーを提供する。
【0007】
本発明は、ファスナーチェーンへの取り付けに適したスライダーであって、対向して設置される上翼板と下翼板、及び前記上翼板及び前記下翼板を接続する案内柱を含み、且つ前記上翼板と前記下翼板との間に位置するエレメント通路を有するスライダー本体と、前記スライダー本体に設置されるロックピンと、前記スライダー本体に設置され、且つ前記ロックピンを駆動して移動させる引手と、を備え、前記スライダー本体は、前記上翼板上に設けられるとともに前記ロックピンの収容空間を形成する一対の壁部と、前記一対の壁部の間に形成され且つ前記エレメント通路に連通する爪孔と、前記一対の壁部の間において少なくとも前記爪孔の片側且つ前記一対の壁部の片方側に設置されて前記ロックピンを載置する台座部を有し、前記ロックピンは、前記スライダー本体の前側に保持される保持部、前記保持部と反対側であり且つ前記台座部に載置される載置部、及び前記載置部から下方へ延伸し且つ前記爪孔を通過する爪部を有し、前記台座部及び前記載置部のうちの一方には、幅方向において前記載置部を位置規制する位置規制部が設けられ、且つ前記収容空間において、前記台座部の上方には、前記載置部が移動する空隙部が設けられ、前記載置部と前記一対の壁部の片方側の内壁は、間隔を隔てて設置され、前記空隙部を形成する、スライダーを提供する。
【0008】
本発明の実施形態において、前記空隙部は、上下方向に前記位置規制部よりも上方に位置する。
【0009】
本発明の実施形態において、前記位置規制部は、前記爪孔と反対側で前記台座部に設置され、前記幅方向において前記台座部に対する前記載置部の変位を規制する。
【0010】
本発明の実施形態において、前記位置規制部は、前記載置部が載置される前記台座部に向かって下方へ傾斜する傾斜面を含む。
(【0011】以降は省略されています)
この特許をJ-PlatPat(特許庁公式サイト)で参照する
関連特許
YKK株式会社
スライドファスナー及びその製造方法
29日前
個人
装飾体
10か月前
個人
名札留め
8か月前
個人
指輪
3か月前
個人
装身具
4か月前
個人
ベルト等の留め具
29日前
個人
装身具
3か月前
個人
ネイルアクセサリー
9か月前
個人
スナップファスナー
6か月前
個人
名札の取付構造
11か月前
合同会社川畑
ベルト
9か月前
個人
爪装着具および爪装身具
6か月前
モリト株式会社
バックル
6か月前
個人
荷物運搬軽減補助バックル
6か月前
株式会社セベル・ピコ
イヤリング
9か月前
個人
身の回り品の係止構造
11か月前
個人
装飾用部材、及び装飾品
11日前
個人
缶製品及び缶製品作成方法
29日前
YKK株式会社
ファスナー用引手
3か月前
株式会社トップジュエリー
装身具
4か月前
個人
縫わずにプッチンと取付けるボタン
7か月前
株式会社ニフコ
帯状体用アクセサリー
13日前
個人
腕時計のベルトの長さの採寸治具
1か月前
株式会社Lin
裸石入れ替え式ペンダント石枠
1か月前
YKK株式会社
スライダー及びファスナー
3か月前
株式会社B.L.S.
固定構造および宝飾品
7か月前
YKK株式会社
スライダー
6か月前
株式会社クロスフォー
指輪、及びその製造方法
5か月前
株式会社クロスフォー
宝石支持体および装飾具
11か月前
株式会社円樹
装身具
25日前
高笙工業有限公司
ロープ締付装置
10か月前
アイティーボタン株式会社
ボタン
10か月前
株式会社G-STARS
クリップ止め器具
6か月前
川北商店株式会社
がま口の金具装着用挟み止め具
7か月前
株式会社クロスフォー
装身具用のポスト及び装身具
1か月前
YKK株式会社
バックル
6か月前
続きを見る
他の特許を見る