TOP
|
特許
|
意匠
|
商標
特許ウォッチ
Twitter
他の特許を見る
公開番号
2025035504
公報種別
公開特許公報(A)
公開日
2025-03-13
出願番号
2023142587
出願日
2023-09-01
発明の名称
ブレーキホース用ホイップ試験装置
出願人
株式会社ニチリン
代理人
個人
主分類
G01N
3/36 20060101AFI20250306BHJP(測定;試験)
要約
【課題】回転部分が少なく、小型で、故障や損傷の恐れが無いブレーキホース用ホイップ試験装置を提供する。
【解決手段】回転部10は、第1軸15の回りに回転駆動可能に設けられた第1回転板11と、第1軸の軸心から所定距離R離れた第1回転板上に、第1軸と平行な第2軸19の回りに回転可能に設けられた第2回転板12と、第1回転板11を回転駆動する駆動部13と、第1回転板の駆動により第2回転板が第1回転板と反対方向に同一回転数で回転するように、第1回転板の動力を第2回転板に伝達する動力伝達部14と、を有する。非回転部30は、回転部10の第1軸と同軸上に設けられている。回転部10の第2回転板12に被検査対象のブレーキホースBHの一端が連結される可動側連結部21が設けられ、非回転部にブレーキホースBHの他端が連結される固定側連結部33が設けられている。
【選択図】図1
特許請求の範囲
【請求項1】
第1軸の回りに回転駆動可能に設けられた第1回転板と、前記第1軸の軸心から所定距離離れた前記第1回転板上に、前記第1軸と平行な第2軸の回りに回転可能に設けられた第2回転板と、前記第1回転板を回転駆動する駆動部と、前記第1回転板の駆動により前記第2回転板が前記第1回転板と反対方向に同一回転数で回転するように、前記第1回転板の動力を前記第2回転板に伝達する動力伝達部と、を有する回転部と、
前記回転部の前記第1軸と同軸上に設けられた非回転部とを備え、
前記回転部の前記第2回転板に被検査対象のブレーキホースの一端が連結される可動側連結部が設けられ、前記非回転部に前記ブレーキホースの他端が連結される固定側連結部が設けられていることを特徴とするブレーキホース用ホイップ試験装置
続きを表示(約 280 文字)
【請求項2】
前記動力伝達部は、前記第1軸に設けられた第1ギヤと、前記第2回転板と一体に回転可能に設けられた第2ギヤとの間に掛け渡されたタイミングベルトであることを特徴とする請求項1に記載のブレーキホース用ホイップ試験装置。
【請求項3】
前記可動側連結部と前記固定側連結部とは、複数の前記ブレーキホースが連結されるように複数設けられ、前記第2回転軸に対する複数の前記可動側連結部の配置は、前記非回転部の中心に対する複数の前記固定側連結部の配置と同一であることを特徴とする請求項1又は2に記載のブレーキホース用ホイップ試験装置。
発明の詳細な説明
【技術分野】
【0001】
本発明は、ブレーキホース用ホイップ試験装置に関する。
続きを表示(約 2,100 文字)
【背景技術】
【0002】
従来ホースの耐久試験方法として、特許文献1には、試験対象のホースをL字形状又はU字形状に固定したまま衝撃油圧を印加する方法や、ホースの一端を固定し、他方を所定軸線に沿って往復移動させたり、円軌跡に沿って移動させて、ホースに揺動運動を与えながら衝撃油圧を印加する方法が記載されている。また、同特許文献1には、ホースの周方向全体に亘る耐久試験が行えるように、ホースの長手方向の一部を屈曲させ、ホース軸を中心とした回転運動を与えながら、衝撃油圧を印加する方法も記載されている。
【0003】
日本産業規格(JIS)D2601には、自動車の液圧ブレーキ装置に使用する非鉱油系液圧ブレーキホースのホイップ試験方法が規定されている。このホイップ試験方法で規定するホイップ試験装置100は、図10に示すように、2つの回転板101a、101bの各中心から100mm離れた位置に水平板102の両端を回転可能に取り付けた回転部103と、2つの回転板101a、101bの中心と同一水平面上に水平板102と平行に配置された非回転部104とを備えている。このホイップ試験装置100では、非回転部104にホースHの一端を連結し、回転部103の水平板102にホースHの他端を連結して、ホースHに直径203.2mm±0.25mmの円運動を与えながら、ホースHに水圧を加え、ホースHが破損して圧力低下が生じたときの経過時間を記録することが行われる。
【0004】
しかし、JISに記載のホイップ試験装置100は、回転部103に2つの回転板101a、101bを有しているため、ベアリングの数が多いうえ、装置が大型化し、また各回転板にある複数のベアリングの回転のずれにより、水平板102に過大な圧縮力や引張力が作用して、水平板102やベアリングが損傷することがあった。
【先行技術文献】
【特許文献】
【0005】
特開平4-203950号公報
【発明の概要】
【発明が解決しようとする課題】
【0006】
本発明は、前記従来の問題点に鑑みてなされたもので、回転部分が少なく、小型で、故障や損傷の恐れが無いブレーキホース用ホイップ試験装置を提供することを課題とする。
【課題を解決するための手段】
【0007】
前記課題を解決するため、本発明は、以下の手段を有する。
(1)第1軸の回りに回転駆動可能に設けられた第1回転板と、前記第1軸の軸心から所定距離離れた前記第1回転板上に、前記第1軸と平行な第2軸の回りに回転可能に設けられた第2回転板と、前記第1回転板を回転駆動する駆動部と、前記第1回転板の駆動により前記第2回転板が前記第1回転板と反対方向に同一回転数で回転するように、前記第1回転板の動力を前記第2回転板に伝達する動力伝達部と、を有する回転部と、
前記回転部の前記第1軸と同軸上に設けられた非回転部とを備え、
前記回転部の前記第2回転板に被検査対象のブレーキホースの一端が連結される可動側連結部が設けられ、前記非回転部に前記ブレーキホースの他端が連結される固定側連結部が設けられている。
(2)前記手段1において、
前記動力伝達部は、前記第1軸に設けられた第1ギヤと、前記第2回転板と一体に回転可能に設けられた第2ギヤとの間に掛け渡されたタイミングベルトである。
(3)前記手段1又は2において、
前記可動側連結部と前記固定側連結部とは、複数の前記ブレーキホースが連結されるように複数設けられ、前記第2回転軸に対する複数の前記可動側連結部の配置は、前記非回転部の中心に対する複数の前記固定側連結部の配置と同一である。
【発明の効果】
【0008】
本発明は、回転部に、第1回転板と、第1回転板に設けられた第2回転板とを有し、第2回転板に被検査対象のブレーキホースが連結されるため、回転部分が少なく、小型で、故障や損傷の恐れが無いという効果を有している。
【図面の簡単な説明】
【0009】
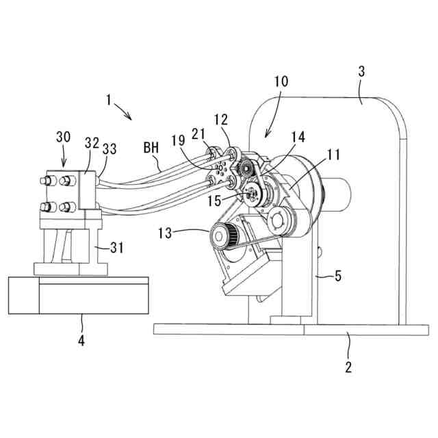
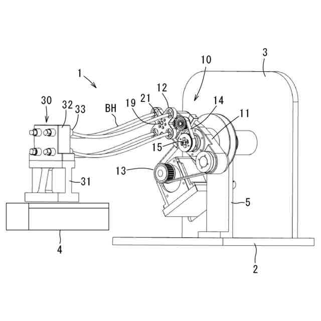
本発明の実施形態に係るブレーキホース用ホイップ試験装置の斜視図。
図1のブレーキホース用ホイップ試験装置の回転部の正面図。
図1のブレーキホース用ホイップ試験装置の回転部の断面図。
図1のブレーキホース用ホイップ試験装置の非回転部の側面図。
図1のブレーキホース用ホイップ試験装置の動作を示す正面図。
図5に続くブレーキホース用ホイップ試験装置の動作を示す正面図。
図6に続くブレーキホース用ホイップ試験装置の動作を示す正面図。
ブレーキホースの円運動を示す図。
本発明の他の実施形態に係るブレーキホース用ホイップ試験装置の回転部の正面図。
従来のブレーキホース用ホイップ試験装置の概略斜視図。
【発明を実施するための形態】
【0010】
以下、本発明の実施形態を添付図面に従って説明する。
(【0011】以降は省略されています)
この特許をJ-PlatPat(特許庁公式サイト)で参照する
関連特許
個人
採尿及び採便具
26日前
日本精機株式会社
検出装置
20日前
個人
計量機能付き容器
15日前
個人
アクセサリー型テスター
1か月前
個人
高精度同時多点測定装置
1か月前
株式会社ミツトヨ
測定器
1か月前
甲神電機株式会社
電流検出装置
20日前
株式会社カクマル
境界杭
5日前
アズビル株式会社
電磁流量計
1か月前
大成建設株式会社
風洞実験装置
15日前
愛知電機株式会社
軸部材の外観検査装置
29日前
愛知時計電機株式会社
ガスメータ
1か月前
日本特殊陶業株式会社
ガスセンサ
13日前
大和製衡株式会社
組合せ計量装置
29日前
大和製衡株式会社
組合せ計量装置
29日前
ローム株式会社
半導体装置
1か月前
日本信号株式会社
距離画像センサ
18日前
個人
非接触による電磁パルスの測定方法
18日前
ローム株式会社
半導体装置
1か月前
双庸電子株式会社
誤配線検査装置
21日前
個人
システム、装置及び実験方法
1か月前
個人
計量具及び計量機能付き容器
15日前
長崎県
形状計測方法
1か月前
トヨタ自動車株式会社
測定システム
1か月前
キーコム株式会社
画像作成システム
5日前
個人
液位検視及び品質監視システム
13日前
日東精工株式会社
振動波形検査装置
21日前
株式会社デンソー
電流センサ
1か月前
日本特殊陶業株式会社
センサ
1か月前
株式会社不二越
X線測定装置
18日前
アンリツ株式会社
X線検査装置
1か月前
理研計器株式会社
ガス検知装置
5日前
株式会社エルメックス
希釈液収容容器
15日前
株式会社マグネア
磁界検出素子
18日前
株式会社電巧社
試験装置及び試験方法
21日前
日本特殊陶業株式会社
化学センサ
20日前
続きを見る
他の特許を見る