TOP
|
特許
|
意匠
|
商標
特許ウォッチ
Twitter
他の特許を見る
10個以上の画像は省略されています。
公開番号
2025028536
公報種別
公開特許公報(A)
公開日
2025-03-03
出願番号
2023133405
出願日
2023-08-18
発明の名称
保護帽
出願人
ミドリ安全株式会社
代理人
個人
,
個人
,
個人
,
個人
主分類
A42B
3/32 20060101AFI20250221BHJP(頭部に着用するもの)
要約
【課題】畳んだときの高さ寸法を小さくすることができ、簡素な構成であり製造工程を簡略にすることができる保護帽を提供する。
【解決手段】椀状の帽体3の下側の部位を構成する下側帽体構成体15と、椀状の帽体3の上側の部位を構成する上側帽体構成体17と、所定の部位19で下側帽体構成体15の所定の部位21に回動自在に係合し、所定の他の部位23で上側帽体構成体17の所定の部位25に回動自在に係合するヒンジ部構成体11とを有し、下側帽体構成体15と上側帽体構成体17とで椀状の帽体3が形成されている状態と、上側帽体構成体17とヒンジ部構成体11とが下側帽体構成体15内に収納されている状態との間で、下側帽体構成体15に対して上側帽体構成体17とヒンジ部構成体11とが移動するように構成されている保護帽1である。
【選択図】図5
特許請求の範囲
【請求項1】
椀状の帽体の下側の部位を構成する下側帽体構成体と、
前記椀状の帽体の上側の部位を構成する上側帽体構成体と、
所定の部位で前記下側帽体構成体の所定の部位に回動自在に係合し、所定の他の部位で前記上側帽体構成体の所定の部位に回動自在に係合するヒンジ部構成体と、
を有し、
前記下側帽体構成体と前記上側帽体構成体とで前記椀状の帽体が形成されている状態と、前記上側帽体構成体と前記ヒンジ部構成体とが前記下側帽体構成体内に収納されている状態との間で、前記下側帽体構成体に対して前記上側帽体構成体と前記ヒンジ部構成体とが移動するように構成されている保護帽。
続きを表示(約 1,400 文字)
【請求項2】
前記椀状の帽体の中央部を含み前記椀状の帽体の高さ方向に対して直交している平面で前記椀状の帽体を2つの部位に分割した態様で、前記下側帽体構成体と前記上側帽体構成体とが構成されており、
前記ヒンジ部構成体が、前記下側帽体構成体の前端部で前記下側帽体構成体に係合しており、前記上側帽体構成体の前端部で前記上側帽体構成体に係合しているか、
もしくは、前記ヒンジ部構成体が、前記下側帽体構成体の後端部で前記下側帽体構成体に係合しており、前記上側帽体構成体の後端部で前記上側帽体構成体に係合している請求項1に記載の保護帽。
【請求項3】
前記椀状の帽体には、ヘッドバンドが設けられており、
前記上側帽体構成体と前記ヒンジ部構成体とが前記ヘッドバンドに邪魔されることなく前記下側帽体構成体内に収納されるように構成されている請求項1に記載の保護帽。
【請求項4】
前記ヒンジ部構成体の所定の部位は、前記ヒンジ部構成体の下端部に設けられており、
前記下側帽体構成体の、前記ヒンジ部構成体が係合する所定の部位は、前後方向では下側帽体構成体の前端部に設けられており、上下方向では下側帽体構成体の上端部に設けられており、
前記ヒンジ部構成体の所定の他の部位は、前記ヒンジ部構成体の上端部に設けられており、
前記上側帽体構成体の、前記ヒンジ部構成体が係合する所定の部位は、前後方向では上側帽体構成体の前端部に設けられており、上下方向では上側帽体構成体の下端部に設けられており、
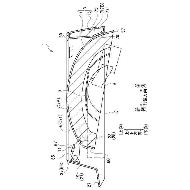
前記上側帽体構成体と前記ヒンジ部構成体とが前記下側帽体構成体内に収納されている状態から前記下側帽体構成体と前記上側帽体構成体とで前記椀状の帽体が形成されている状態へ移行するときには、前記下側帽体構成体に対して、前記上側帽体構成体の後側の部位が下側になり前側の部位が上側になるように前記上側帽体構成体が傾き前記上側帽体構成体の一部が前記下側帽体構成体の下端から下側に突出し、この後、前記上側帽体構成体の他の一部が前記下側帽体構成体の上端から上側に突出するまで前記上側帽体構成体が上側に移動し、この後、前記上側帽体構成体の傾きを無くすことで前記椀状の帽体が形成されるように構成されている請求項2に記載の保護帽。
【請求項5】
前記ヒンジ部構成体の所定の部位は、一対で左右対称になって設けられており、
前記下側帽体構成体の、前記ヒンジ部構成体が係合する所定の部位も、一対で左右対称になって設けられており、
前記ヒンジ部構成体の所定の他の部位も、一対で左右対称になって設けられており、
前記上側帽体構成体の、前記ヒンジ部構成体が係合する所定の部位も、一対で左右対称になって設けられており、
前記下側帽体構成体には、係止部が設けられており、
前記上側帽体構成体には、被係止部が設けられており、
前記被係止部が前記係止部に係止されることで、前記下側帽体構成体と前記上側帽体構成体とで前記椀状の帽体が形成されている状態が維持されるように構成されており、
前記係止部は、一対で左右対称になって設けられており、
前記被係止部も、一対で左右対称になって設けられている請求項4に記載の保護帽。
発明の詳細な説明
【技術分野】
【0001】
本発明は、保護帽に係り、特に、収納するときに畳むことができるものに関する。
続きを表示(約 1,500 文字)
【背景技術】
【0002】
一般のヘルメット(保護帽)では、収納する際に嵩張り大きすぎて持ち運ぶのに不便であるといった不具合が生じる。この不具合を解消するため、上下方向に畳めるタイプ、または、左右方向に畳めるタイプのヘルメットなど、様々な折り畳みヘルメットが開発され、広く流通している。
【0003】
中でも、上下方向に畳めるタイプのものは、帽体に必要な強度を維持しやすく、保護帽の安全規格(飛来落下用、または墜落時保護用)を満足させることも可能である。上下方向に畳めるタイプとして、次に示すものが知られている。
【0004】
従来、帽体を2分割して、前頭部のヒンジを中心にして帽体上部が回動して帽体下部内に収納される保護帽が知られている(特許文献1参照)。また、帽体を3分割以上に分割して、前頭部の回転軸を中心にして帽体上部、複数の帽体中部が回動して帽体下部内に収納される保護帽が知られている(特許文献2参照)。
【先行技術文献】
【特許文献】
【0005】
実開平2-122033号公報
特許第5949666号
【発明の概要】
【発明が解決しようとする課題】
【0006】
ところで、上述した上下方向に畳めるタイプのヘルメットは、帽体を2つに分割して形成された分割体(帽体構成体)同士を、回動軸で連結しているので、畳んだときの高さ寸法を小さくすることが難しい。また、上述した上下方向に畳めるタイプのヘルメットは、帽体を分割して形成された分割体(帽体構成体)同士を、複数の回動軸または複数の連結体などで連結する必要がある。これにより、構造が複雑になり、製造するのに工程が多くなってしまう。
【0007】
本発明は、畳んだときの高さ寸法を小さくすることができ、簡素な構成であり、製造工程を簡略にすることができる保護帽を提供することを目的とする。
【課題を解決するための手段】
【0008】
本発明の態様に係る保護帽は、椀状の帽体の下側の部位を構成する下側帽体構成体と、前記椀状の帽体の上側の部位を構成する上側帽体構成体と、所定の部位で前記下側帽体構成体の所定の部位に回動自在に係合し、所定の他の部位で前記上側帽体構成体の所定の部位に回動自在に係合するヒンジ部構成体とを有し、前記下側帽体構成体と前記上側帽体構成体とで前記椀状の帽体が形成されている状態と、前記上側帽体構成体と前記ヒンジ部構成体とが前記下側帽体構成体内に収納されている状態との間で、前記下側帽体構成体に対して前記上側帽体構成体と前記ヒンジ部構成体とが移動するように構成されている保護帽である。
【0009】
本発明の態様に係る保護帽では、前記椀状の帽体の中央部を含み前記椀状の帽体の高さ方向に対して直交している平面で前記椀状の帽体を2つの部位に分割した態様で、前記下側帽体構成体と前記上側帽体構成体とが構成されており、前記ヒンジ部構成体が、前記下側帽体構成体の前端部で前記下側帽体構成体に係合しており、前記上側帽体構成体の前端部で前記上側帽体構成体に係合しているか、もしくは、前記ヒンジ部構成体が、前記下側帽体構成体の後端部で前記下側帽体構成体に係合しており、前記上側帽体構成体の後端部で前記上側帽体構成体に係合している。
【0010】
本発明の態様に係る保護帽では、前記椀状の帽体に、ヘッドバンドが設けられており、前記上側帽体構成体と前記ヒンジ部構成体とが前記ヘッドバンドに邪魔されることなく前記下側帽体構成体内に収納されるように構成されている。
(【0011】以降は省略されています)
この特許をJ-PlatPat(特許庁公式サイト)で参照する
関連特許
ミドリ安全株式会社
インナーキャップ
4か月前
個人
帽子
4か月前
個人
瞬間日陰
5か月前
個人
フレーム
8か月前
個人
通気性帽子
10か月前
個人
雨除け帽子
9か月前
個人
頭部装着具
6か月前
個人
健康帽子
10か月前
個人
かぶり物
8か月前
個人
熱中症対策帽子
4か月前
株式会社TAT
冷却具
7か月前
株式会社K設計
サウナハット
8か月前
株式会社コカジ
帽子の製造方法
11か月前
株式会社スペースシーファイブ
帽子
4か月前
個人
制振機能を有する疲労軽減ヘルメット
5か月前
有限会社トラッド
冷却装置付きヘルメット
3か月前
有限会社トップエンタープライズ
帽子
1か月前
東洋物産工業株式会社
分割ヘルメット
3か月前
株式会社トーヨーセーフティ
ヘルメット
28日前
パイオニア株式会社
通信装置
12日前
パイオニア株式会社
通信装置
12日前
株式会社イエロー
頭部保護具用内装材
4か月前
ミドリ安全株式会社
インナーキャップ
4か月前
ミドリ安全株式会社
帽体、ヘルメット
6か月前
個人
スマートあご紐を有するヘルメット
1か月前
株式会社日曜発明ギャラリー
帽子等に用いる冷却構造
3か月前
ミドリ安全株式会社
保護帽
7か月前
ミドリ安全株式会社
保護帽
6か月前
株式会社ダイセル
保護装置
1か月前
株式会社アーテック
折り畳み式ヘルメット
10か月前
株式会社サンロード
帽子
10か月前
補装具工房スタンス株式会社
頭蓋形状誘導ヘルメット
4か月前
パイオニア株式会社
通信装置、ヘルメット
12日前
株式会社谷沢製作所
ヘルメット
2か月前
株式会社谷沢製作所
ヘルメット
2か月前
株式会社谷沢製作所
産業用安全帽
10か月前
続きを見る
他の特許を見る