TOP
|
特許
|
意匠
|
商標
特許ウォッチ
Twitter
他の特許を見る
10個以上の画像は省略されています。
公開番号
2025181297
公報種別
公開特許公報(A)
公開日
2025-12-11
出願番号
2024089196
出願日
2024-05-31
発明の名称
分散システム、無人移動体、分散装置、及び方法
出願人
日本電気株式会社
代理人
個人
主分類
G08G
5/00 20250101AFI20251204BHJP(信号)
要約
【課題】運行管理システムとの通信状況が良くない領域において無人移動体を安全に移動させる。
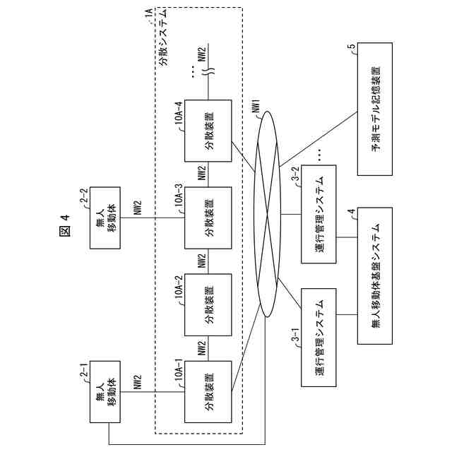
【解決手段】分散システム1は、無人移動体が通過し得るエリアに分散配置された複数の分散装置10を含む。各分散装置10は、自装置の周辺エリアに含まれる無人移動体及び少なくとも1つの他の分散装置と通信可能であり、周辺エリアにおいて検出された周辺エリア情報を取得する取得部11と、周辺エリア情報が示す障害物に関する情報に基づいて無人移動体について周辺エリアにおいて予定される移動経路を更新する更新部12と、無人移動体に対して、又は、少なくとも1つの他の分散装置を経由して間接的に接続可能な運行管理システムであって、無人移動体の移動を管理する運行管理システムに対して、更新した移動経路を提供する提供部13と、を備えている。
【選択図】図1
特許請求の範囲
【請求項1】
複数の分散装置を含む分散システムであって、
前記複数の分散装置は、無人移動体が通過し得るエリアに分散配置され、
各分散装置は、自装置の周辺エリアに含まれる無人移動体及び少なくとも1つの他の分散装置と通信可能であり、
各分散装置は、
前記周辺エリアにおいて検出された周辺エリア情報を取得する取得手段と、
前記周辺エリア情報が示す障害物に関する情報に基づいて、前記無人移動体について前記周辺エリアにおいて予定される移動経路を更新する更新手段と、
前記無人移動体に対して、又は、前記少なくとも1つの他の分散装置を経由して間接的に接続可能な運行管理システムであって、前記無人移動体の移動を管理する運行管理システムに対して、前記更新した移動経路を提供する提供手段と、
を備えている、分散システム。
続きを表示(約 2,000 文字)
【請求項2】
前記複数の分散装置のうち少なくとも1つの第1分散装置は、前記運行管理システムと通信可能な第1通信手段を備え、
各分散装置は、前記第1通信手段とは異なる第2通信手段であって、前記無人移動体及び少なくとも1つの他の分散装置と通信可能な第2通信手段を備え、
前記提供手段は、前記運行管理システムに前記更新した移動経路を提供する場合において、前記第1通信手段を用いて提供するか、又は、前記第2通信手段を用いて直接又は間接的に接続される前記第1分散装置を介して提供する、
請求項1に記載の分散システム。
【請求項3】
前記更新手段は、前記障害物に関する情報として、当該障害物について予測される移動後の位置を参照する、
請求項1に記載の分散システム。
【請求項4】
前記更新手段は、複数の無人移動体それぞれについて前記周辺エリアにおいて予定される移動経路、及び、前記周辺エリア情報が示す障害物に関する情報に基づいて、前記複数の無人移動体の少なくとも何れか1つの移動経路を更新する、
請求項1に記載の分散システム。
【請求項5】
前記提供手段は、
緊急性を示す所定条件を満たさない場合には、前記更新した移動経路を前記運行管理システムに提供し、
前記所定条件を満たす場合には、前記更新した移動経路を前記無人移動体に提供する、
請求項1に記載の分散システム。
【請求項6】
前記複数の分散装置のうち障害が発生している他の分散装置の周辺エリアを通信不能領域として特定する特定手段をさらに備え、
前記更新手段は、前記通信不能領域を迂回するように前記移動経路を更新する、
請求項1に記載の分散システム。
【請求項7】
請求項1に記載の分散システムに含まれる分散装置との通信が可能な通信手段を備え、
前記分散装置から、又は、前記運行管理システムから提供される前記移動経路に基づいて、自装置の移動を制御する移動制御手段と、
を備えた無人移動体。
【請求項8】
無人移動体が通過し得るエリアに分散配置された複数の分散装置の何れか1つであって、
自装置の周辺エリアに含まれる無人移動体及び少なくとも1つの他の分散装置と通信可能であり、
前記周辺エリアにおいて検出された周辺エリア情報を取得する取得手段と、
前記周辺エリア情報が示す障害物に関する情報に基づいて、前記無人移動体について前記周辺エリアにおいて予定される移動経路を更新する更新手段と、
前記無人移動体に対して、又は、前記少なくとも1つの他の分散装置を経由して間接的に接続可能な運行管理システムであって、前記無人移動体の移動を管理する運行管理システムに対して、前記更新した移動経路を提供する提供手段と、
を備えている、分散装置。
【請求項9】
無人移動体が通過し得るエリアに分散配置された複数の分散装置を含む分散システムが実行する方法であって、
各分散装置は、自装置の周辺エリアに含まれる無人移動体及び少なくとも1つの他の分散装置と通信可能であり、
各分散装置が備える少なくとも1つのプロセッサが、前記周辺エリアにおいて検出された周辺エリア情報を取得する取得処理と、
前記少なくとも1つのプロセッサが、前記周辺エリア情報が示す障害物に関する情報に基づいて、前記無人移動体について前記周辺エリアにおいて予定される移動経路を更新する更新処理と、
前記少なくとも1つのプロセッサが、前記無人移動体に対して、又は、前記少なくとも1つの他の分散装置を経由して間接的に接続可能な運行管理システムであって、前記無人移動体の移動を管理する運行管理システムに対して、前記更新した移動経路を提供する提供処理と、
を含む、方法。
【請求項10】
無人移動体が通過し得るエリアに分散配置された複数の分散装置の何れかが実行する方法であって、
当該分散装置は、自装置の周辺エリアに含まれる無人移動体及び少なくとも1つの他の分散装置と通信可能であり、
当該分散装置が備える少なくとも1つのプロセッサが、前記周辺エリアにおいて検出された周辺エリア情報を取得する取得処理と、
前記少なくとも1つのプロセッサが、前記周辺エリア情報が示す障害物に関する情報に基づいて、前記無人移動体について前記周辺エリアにおいて予定される移動経路を更新する更新処理と、
前記少なくとも1つのプロセッサが、前記無人移動体に対して、又は、前記少なくとも1つの他の分散装置を経由して間接的に接続可能な運行管理システムであって、前記無人移動体の移動を管理する運行管理システムに対して、前記更新した移動経路を提供する提供処理と、
を含む、方法。
発明の詳細な説明
【技術分野】
【0001】
本開示は、分散システム、分散装置、及び方法に関する。
続きを表示(約 2,200 文字)
【背景技術】
【0002】
特許文献1には、無人飛行体から受信するテレメトリ情報に基づいて、無人飛行体の運航空域を分割した区画空域毎に飛行許否を設定し、区画空域毎の飛行許否に基づいて飛行経路を決定し、飛行経路に基づく飛行制御情報を無人飛行体に送信する運航空域管理システムが記載されている。
【先行技術文献】
【特許文献】
【0003】
特開2022-129533号公報
【発明の概要】
【発明が解決しようとする課題】
【0004】
特許文献1に記載の技術においては、無人飛行体は飛行中に運航空域管理システムと通信する必要がある。そのため、運航空域に通信状況が良くない領域が含まれる場合には、無人飛行体を安全に飛行させることができない、という問題があった。また、無人飛行体に限らず無人移動体を対象として特許文献1に記載の技術を適用する場合にも、同様の課題がある。
【0005】
本開示は、上記の問題に鑑みてなされたものであり、その一例示的目的は、通信状況が良くない領域において無人移動体を安全に移動させる技術を提供することにある。
【課題を解決するための手段】
【0006】
本開示の一例示的側面に係る分散システムは、複数の分散装置を含む分散システムであって、前記複数の分散装置は、無人移動体が通過し得るエリアに分散配置され、各分散装置は、自装置の周辺エリアに含まれる無人移動体及び少なくとも1つの他の分散装置と通信可能であり、各分散装置は、前記周辺エリアにおいて検出された周辺エリア情報を取得する取得手段と、前記周辺エリア情報が示す障害物に関する情報に基づいて、前記無人移動体について前記周辺エリアにおいて予定される移動経路を更新する更新手段と、前記無人移動体に対して、又は、前記少なくとも1つの他の分散装置を経由して間接的に接続可能な運行管理システムであって、前記無人移動体の移動を管理する運行管理システムに対して、前記更新した移動経路を提供する提供手段と、を備えている。
【0007】
本開示の一例示的側面に係る無人移動体は、上述した分散システムに含まれる分散装置との通信が可能な通信手段を備え、前記分散装置から、又は、前記運行管理システムから提供される前記移動経路に基づいて、自装置の移動を制御する移動制御手段と、を備えている。
【0008】
本開示の一例示的側面に係る分散装置は、無人移動体が通過し得るエリアに分散配置された複数の分散装置の何れか1つであって、自装置の周辺エリアに含まれる無人移動体及び少なくとも1つの他の分散装置と通信可能であり、前記周辺エリアにおいて検出された周辺エリア情報を取得する取得手段と、前記周辺エリア情報が示す障害物に関する情報に基づいて、前記無人移動体について前記周辺エリアにおいて予定される移動経路を更新する更新手段と、前記無人移動体に対して、又は、前記少なくとも1つの他の分散装置を経由して間接的に接続可能な運行管理システムであって、前記無人移動体の移動を管理する運行管理システムに対して、前記更新した移動経路を提供する提供手段と、を備えている。
【0009】
本開示の一例示的側面に係る方法は、無人移動体が通過し得るエリアに分散配置された複数の分散装置を含む分散システムが実行する方法であって、各分散装置は、自装置の周辺エリアに含まれる無人移動体及び少なくとも1つの他の分散装置と通信可能であり、各分散装置が備える少なくとも1つのプロセッサが、前記周辺エリアにおいて検出された周辺エリア情報を取得する取得処理と、前記少なくとも1つのプロセッサが、前記周辺エリア情報が示す障害物に関する情報に基づいて、前記無人移動体について前記周辺エリアにおいて予定される移動経路を更新する更新処理と、前記少なくとも1つのプロセッサが、前記無人移動体に対して、又は、前記少なくとも1つの他の分散装置を経由して間接的に接続可能な運行管理システムであって、前記無人移動体の移動を管理する運行管理システムに対して、前記更新した移動経路を提供する提供処理と、を含む。
【0010】
本開示の一例示的側面に係る他の方法は、無人移動体が通過し得るエリアに分散配置された複数の分散装置の何れかが実行する方法であって、当該分散装置は、自装置の周辺エリアに含まれる無人移動体及び少なくとも1つの他の分散装置と通信可能であり、当該分散装置が備える少なくとも1つのプロセッサが、前記周辺エリアにおいて検出された周辺エリア情報を取得する取得処理と、前記少なくとも1つのプロセッサが、前記周辺エリア情報が示す障害物に関する情報に基づいて、前記無人移動体について前記周辺エリアにおいて予定される移動経路を更新する更新処理と、前記少なくとも1つのプロセッサが、前記無人移動体に対して、又は、前記少なくとも1つの他の分散装置を経由して間接的に接続可能な運行管理システムであって、前記無人移動体の移動を管理する運行管理システムに対して、前記更新した移動経路を提供する提供処理と、を含む。
【発明の効果】
(【0011】以降は省略されています)
この特許をJ-PlatPat(特許庁公式サイト)で参照する
関連特許
日本電気株式会社
特定装置
13日前
日本電気株式会社
波長可変光源
今日
日本電気株式会社
推論装置および推論方法
1か月前
日本電気株式会社
時刻維持装置および時刻維持方法
1か月前
日本電気株式会社
考査装置、考査方法、プログラム
1か月前
日本電気株式会社
考査装置、考査方法、プログラム
1か月前
日本電気株式会社
測定装置、測定方法及びプログラム
2日前
日本電気株式会社
交渉装置、交渉方法及びプログラム
21日前
日本電気株式会社
ボロメータアレイ、及び光検出方法
15日前
日本電気株式会社
監視装置、監視方法、及びプログラム
1か月前
日本電気株式会社
学習装置、学習方法、及び、記録媒体
1日前
日本電気株式会社
情報処理装置、方法、及び、プログラム
6日前
日本電気株式会社
情報処理装置、方法、及び、プログラム
6日前
日本電気株式会社
情報処理装置、情報処理方法、プログラム
1か月前
日本電気株式会社
情報処理装置、情報処理方法、プログラム
13日前
日本電気株式会社
店舗端末、情報処理方法、及びプログラム
1か月前
日本電気株式会社
情報処理装置、情報処理方法、プログラム
6日前
日本電気株式会社
乗車誘導計画装置および乗車誘導計画方法
27日前
日本電気株式会社
制御装置、無線端末、方法、及びプログラム
14日前
日本電気株式会社
制御装置、制御プログラム、および制御方法
6日前
日本電気株式会社
合意判定装置、合意判定方法及びプログラム
1か月前
日本電気株式会社
視聴支援装置、視聴支援方法及びプログラム
1か月前
日本電気株式会社
発話認識装置、プログラム及び発話認識方法
15日前
日本電気株式会社
合意判定装置、合意判定方法及びプログラム
21日前
日本電気株式会社
情報処理装置、情報処理方法及びプログラム
6日前
日本電気株式会社
経路選択装置、経路選択方法及びプログラム
1か月前
日本電気株式会社
情報処理装置、情報処理方法、及びプログラム
8日前
日本電気株式会社
情報処理装置、情報処理方法、及びプログラム
8日前
日本電気株式会社
情報処理装置、情報処理方法、及びプログラム
1か月前
日本電気株式会社
情報処理装置、分析方法、及び分析プログラム
1か月前
日本電気株式会社
原子発振器、制御方法、制御装置、プログラム
13日前
日本電気株式会社
学習装置、利用装置、学習方法及びプログラム
1か月前
日本電気株式会社
情報処理装置、情報処理方法およびプログラム
21日前
日本電気株式会社
情報処理装置、情報処理方法、及びプログラム
1か月前
日本電気株式会社
情報処理装置、応答方法、及び応答プログラム
15日前
日本電気株式会社
情報処理装置、情報処理方法、及びプログラム
1か月前
続きを見る
他の特許を見る