TOP
|
特許
|
意匠
|
商標
特許ウォッチ
Twitter
他の特許を見る
公開番号
2025179306
公報種別
公開特許公報(A)
公開日
2025-12-10
出願番号
2024085958
出願日
2024-05-28
発明の名称
学習装置、学習方法、及び、記録媒体
出願人
日本電気株式会社
代理人
個人
,
個人
,
個人
主分類
G06T
7/00 20170101AFI20251203BHJP(計算;計数)
要約
【課題】モデルの学習に係る学習効率を向上させることが可能な学習装置等を提供する。
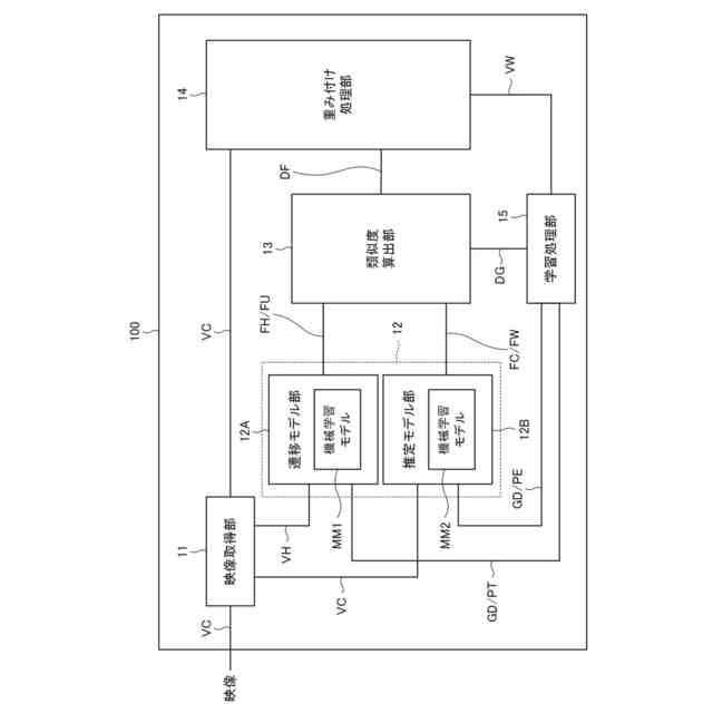
【解決手段】学習装置は、状態予測手段と、状態推定手段と、学習処理手段と、を有する。状態予測手段は、複数の画像を含む第1の映像の入力に応じ、複数の画像とは異なる少なくとも1つの画像を有する第1の画像群により示される状態の予測結果を取得することが可能な第1のモデルを有する。状態推定手段は、複数の画像と、複数の画像とは異なる少なくとも1つの画像を有する第2の画像群と、を含む第2の映像の入力に応じ、第2の画像群により示される状態の推定結果を取得することが可能な第2のモデルを有する。学習処理手段は、予測結果を推定結果に近づけるための学習を第1のモデルに対して行う。
【選択図】図3
特許請求の範囲
【請求項1】
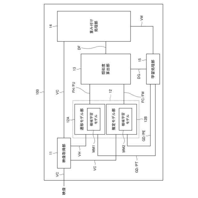
複数の画像を含む第1の映像の入力に応じ、当該複数の画像とは異なる少なくとも1つの画像を有する第1の画像群により示される状態の予測結果を取得することが可能な第1のモデルを有する状態予測手段と、
前記複数の画像と、前記複数の画像とは異なる少なくとも1つの画像を有する第2の画像群と、を含む第2の映像の入力に応じ、当該第2の画像群により示される状態の推定結果を取得することが可能な第2のモデルを有する状態推定手段と、
前記予測結果を前記推定結果に近づけるための学習を前記第1のモデルに対して行う学習処理手段と、
を有する学習装置。
続きを表示(約 1,400 文字)
【請求項2】
前記学習に用いられる学習データを前記第1のモデルに入力にすることにより得られた第1の特徴量と、当該学習データを前記第2のモデルに入力することにより得られた第2の特徴量と、の類似性に係る類似度を算出する類似度算出手段をさらに有し、
前記学習処理手段は、前記学習として、前記類似度を増加させるための学習を前記第1のモデルに対して行う請求項1に記載の学習装置。
【請求項3】
前記学習処理手段は、前記第2の映像における所定のタイミングよりも後の少なくとも1つの画像を含むデータを前記学習データとして取得する請求項2に記載の学習装置。
【請求項4】
前記学習処理手段は、前記第2の映像に含まれる各画像の中から抽出した、前記予測結果が前記推定結果と類似しない画像を含むデータを前記学習データとして取得する請求項2に記載の学習装置。
【請求項5】
前記第2の映像に含まれる画像毎の学習の重要度に係る指標としての重みを設定する重み設定手段をさらに有し、
前記学習処理手段は、前記第2の映像に含まれる各画像の中から抽出した、前記重みが所定値以上に設定された全ての画像を含むデータを前記学習データとして取得する請求項2に記載の学習装置。
【請求項6】
前記第2の映像に含まれる画像毎の学習の重要度に係る指標としての重みを設定する重み設定手段をさらに有し、
前記学習処理手段は、前記第2の映像に含まれる各画像の中から抽出した、前記重みが所定値以上に設定された全ての画像と、前記重みが当該所定値未満に設定された少なくとも1つの画像と、を含むデータを前記学習データとして取得する請求項2に記載の学習装置。
【請求項7】
前記第2の映像に含まれる画像毎の学習の重要度に係る指標としての重みを設定する重み設定手段をさらに有し、
前記学習処理手段は、前記重みを用いて前記学習に係る損失を算出する請求項2に記載の学習装置。
【請求項8】
前記第1の特徴量及び前記第2の特徴量は、ベクトル、分布またはマップのいずれかの形式で表現された特徴量として取得される請求項2に記載の学習装置。
【請求項9】
コンピュータが実行する学習方法であって、
複数の画像を含む第1の映像を第1のモデルに入力することにより、当該複数の画像とは異なる少なくとも1つの画像を有する第1の画像群により示される状態の予測結果を取得し、
前記複数の画像と、前記複数の画像とは異なる少なくとも1つの画像を有する第2の画像群と、を含む第2の映像を第2のモデルに入力することにより、当該第2の画像群により示される状態の推定結果を取得し、
前記予測結果を前記推定結果に近づけるための学習を前記第1のモデルに対して行う学習方法。
【請求項10】
複数の画像を含む第1の映像を第1のモデルに入力することにより、当該複数の画像とは異なる少なくとも1つの画像を有する第1の画像群により示される状態の予測結果を取得し、
前記複数の画像と、前記複数の画像とは異なる少なくとも1つの画像を有する第2の画像群と、を含む第2の映像を第2のモデルに入力することにより、当該第2の画像群により示される状態の推定結果を取得し、
前記予測結果を前記推定結果に近づけるための学習を前記第1のモデルに対して行う処理をコンピュータに実行させるプログラムを記録した記録媒体。
発明の詳細な説明
【技術分野】
【0001】
本開示は、モデルの学習に利用可能な技術に関する。
続きを表示(約 1,400 文字)
【背景技術】
【0002】
モデルの学習に利用可能な技術が提案されている。
【0003】
具体的には、例えば、特許文献1には、複数の新規教師データを取得し、当該取得した複数の新規教師データのそれぞれに含まれる要注意データを個別に重み付けて、学習済モデルを学習する手法が開示されている。
【先行技術文献】
【特許文献】
【0004】
特開2021-99702号公報
【発明の概要】
【発明が解決しようとする課題】
【0005】
しかし、特許文献1に開示された技術によれば、例えば、既に学習に用いたデータに含まれる要素と共通の要素が新規教師データに含まれている場合に、モデルの学習に係る学習効率が低下してしまうおそれがある、という課題が生じている。
【0006】
本開示の1つの目的は、モデルを新規の環境に対応させるために行われる学習に係る学習効率を向上させることが可能な学習装置を提供することにある。
【課題を解決するための手段】
【0007】
本開示の一つの観点では、学習装置は、複数の画像を含む第1の映像の入力に応じ、当該複数の画像とは異なる少なくとも1つの画像を有する第1の画像群により示される状態の予測結果を取得することが可能な第1のモデルを有する状態予測手段と、前記複数の画像と、前記複数の画像とは異なる少なくとも1つの画像を有する第2の画像群と、を含む第2の映像の入力に応じ、当該第2の画像群により示される状態の推定結果を取得することが可能な第2のモデルを有する状態推定手段と、前記予測結果を前記推定結果に近づけるための学習を前記第1のモデルに対して行う学習処理手段と、を有する。
【0008】
本開示の他の観点では、コンピュータが実行する学習方法は、複数の画像を含む第1の映像を第1のモデルに入力することにより、当該複数の画像とは異なる少なくとも1つの画像を有する第1の画像群により示される状態の予測結果を取得し、前記複数の画像と、前記複数の画像とは異なる少なくとも1つの画像を有する第2の画像群と、を含む第2の映像を第2のモデルに入力することにより、当該第2の画像群により示される状態の推定結果を取得し、前記予測結果を前記推定結果に近づけるための学習を前記第1のモデルに対して行う。
【0009】
本開示のさらに他の観点では、記録媒体は、複数の画像を含む第1の映像を第1のモデルに入力することにより、当該複数の画像とは異なる少なくとも1つの画像を有する第1の画像群により示される状態の予測結果を取得し、前記複数の画像と、前記複数の画像とは異なる少なくとも1つの画像を有する第2の画像群と、を含む第2の映像を第2のモデルに入力することにより、当該第2の画像群により示される状態の推定結果を取得し、前記予測結果を前記推定結果に近づけるための学習を前記第1のモデルに対して行う処理をコンピュータに実行させるプログラムを記録する。
【発明の効果】
【0010】
本開示によれば、モデルを新規の環境に対応させるために行われる学習に係る学習効率を向上させることが可能となる。
【図面の簡単な説明】
(【0011】以降は省略されています)
この特許をJ-PlatPat(特許庁公式サイト)で参照する
関連特許
日本電気株式会社
特定装置
13日前
日本電気株式会社
波長可変光源
今日
日本電気株式会社
測定装置、測定方法及びプログラム
2日前
日本電気株式会社
学習装置、学習方法、及び、記録媒体
1日前
日本電気株式会社
情報処理装置、方法、及び、プログラム
6日前
日本電気株式会社
情報処理装置、方法、及び、プログラム
6日前
日本電気株式会社
情報処理装置、情報処理方法、プログラム
13日前
日本電気株式会社
情報処理装置、情報処理方法、プログラム
6日前
日本電気株式会社
制御装置、制御プログラム、および制御方法
6日前
日本電気株式会社
情報処理装置、情報処理方法及びプログラム
6日前
日本電気株式会社
情報処理装置、情報処理方法、及びプログラム
6日前
日本電気株式会社
情報処理装置、情報処理方法、及びプログラム
8日前
日本電気株式会社
情報処理装置、情報処理方法、及びプログラム
7日前
日本電気株式会社
画像処理装置、画像処理方法およびプログラム
7日前
日本電気株式会社
プログラム、情報処理装置、及び情報処理方法
1日前
日本電気株式会社
情報処理装置、情報処理方法、及びプログラム
1日前
日本電気株式会社
画像計測装置、画像計測方法、及びプログラム
今日
日本電気株式会社
情報処理装置、情報処理方法、及びプログラム
8日前
日本電気株式会社
構造秘匿ニューラルネットワークモデル生成装置
6日前
日本電気株式会社
通信監視装置、通信監視方法、およびプログラム
8日前
日本電気株式会社
音響送受波装置、及び音響送受波装置の構築方法
6日前
日本電気株式会社
分散システム、無人移動体、分散装置、及び方法
今日
日本電気株式会社
情報処理システム、情報処理方法、及びプログラム
1日前
日本電気株式会社
真空容器、電磁波発生システム及び電磁波発生方法
今日
日本電気株式会社
ダッシュボード表示装置、表示方法及びプログラム
13日前
日本電気株式会社
センサ、測定装置、測定方法、人工衛星、プログラム
今日
日本電気株式会社
光通信装置、光通信システム、光通信装置の制御方法
今日
日本電気株式会社
監視システム、監視装置、監視方法、及び、プログラム
6日前
日本電気株式会社
治験支援装置、治験支援方法および治験支援プログラム
13日前
日本電気株式会社
監視装置、監視方法、プログラム、および監視システム
2日前
日本電気株式会社
情報処理装置、情報処理装置の制御方法及びプログラム
2日前
日本電気株式会社
面談支援装置、面談支援方法およびコンピュータプログラム
6日前
日本電気株式会社
ノイズ除去装置、ノイズ除去方法及びノイズ除去プログラム
6日前
日本電気株式会社
利用権検証システム、その利用権検証方法、及びプログラム
今日
日本電気株式会社
情報処理装置、情報処理システム、情報処理方法、及びプログラム
6日前
日本電気株式会社
光フィルタ制御装置、光受信装置、光伝送システム及び光受信方法
2日前
続きを見る
他の特許を見る