TOP
|
特許
|
意匠
|
商標
特許ウォッチ
Twitter
他の特許を見る
公開番号
2025180121
公報種別
公開特許公報(A)
公開日
2025-12-11
出願番号
2024087249
出願日
2024-05-29
発明の名称
センサ、測定装置、測定方法、人工衛星、プログラム
出願人
日本電気株式会社
代理人
個人
,
個人
主分類
G01J
5/60 20060101AFI20251204BHJP(測定;試験)
要約
【課題】対象の検出精度をより高めることのできる技術を提供する。
【解決手段】センサが、複数の異なる波長の光を別々に結像する複数の結像領域を順に並べて設けた撮像素子を備える。複数の結像領域のうちの2つの結像領域から得られた信号を用いて撮像対象の温度を算出する。
【選択図】図1
特許請求の範囲
【請求項1】
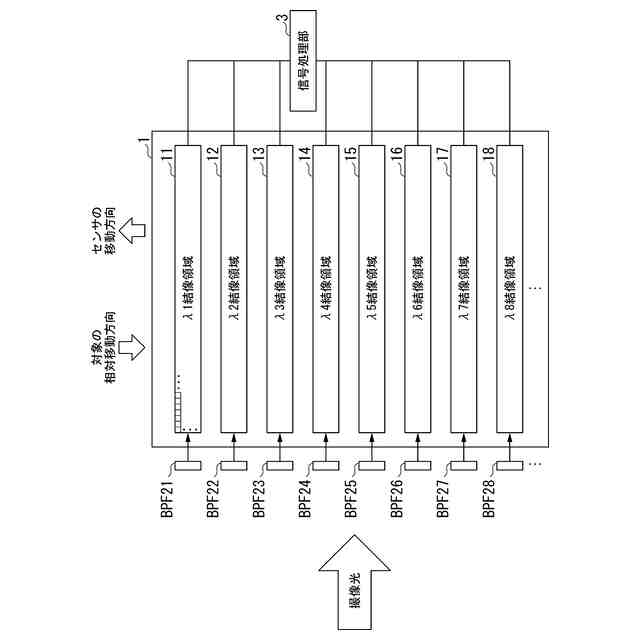
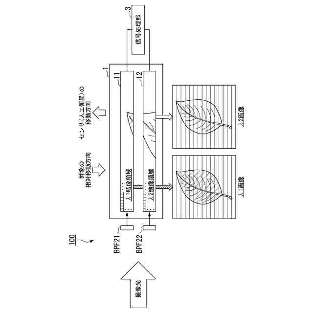
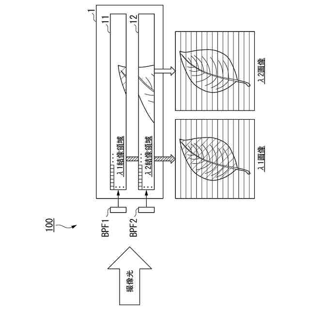
複数の異なる波長の光を別々に結像する複数の結像領域を順に並べて設けた撮像素子と、
前記複数の結像領域のうちの2つの結像領域から得られた信号を用いて前記撮像対象の温度を算出する温度算出手段と、
を備えたセンサ。
続きを表示(約 850 文字)
【請求項2】
前記複数の異なる波長の光のうちの特定の波長領域の光を通すバンドパスフィルタを前記結像領域それぞれに対応して設けた請求項1に記載のセンサ。
【請求項3】
前記結像領域は複数の画素により構成される請求項2に記載のセンサ。
【請求項4】
2つの前記結像領域を順に並べて設けた請求項3に記載のセンサ。
【請求項5】
3つ以上の前記結像領域を順に並べて設けた請求項3に記載のセンサ。
【請求項6】
2の倍数の数の前記複数の結像領域の組であって対応する波長の光を結像する前記結像領域の組を複数と、
前記撮像対象の温度に基づいて前記結像領域の組のうちから所定の組を特定する撮像領域特定手段と、を備え、
前記温度算出手段は、前記所定の組の結像領域から得られた信号を用いて前記撮像対象の温度を算出する
請求項5に記載のセンサ。
【請求項7】
複数の異なる波長の光を別々に結像する複数の結像領域を順に並べて設けた撮像素子と、
前記複数の結像領域のうちの2つの結像領域から得られた信号を用いて前記撮像対象の温度を算出する温度算出手段と、
を備えた測定装置。
【請求項8】
複数の異なる波長の光を別々に結像する複数の結像領域を順に並べて設けた撮像素子の、前記複数の結像領域のうちの2つの結像領域から得られた信号を用いて前記撮像対象についての情報処理を行う
測定方法。
【請求項9】
請求項1から請求項6の何れか一項に記載のセンサを備えた人工衛星。
【請求項10】
複数の異なる波長の光を別々に結像する複数の結像領域を順に並べて設けた撮像素子を備えた温度測定装置のコンピュータを、
前記複数の結像領域のうちの2つの結像領域から得られた信号を用いて前記撮像対象の温度を算出する温度算出手段、
として機能させるプログラム。
発明の詳細な説明
【技術分野】
【0001】
本開示は、センサ、測定装置、測定方法、人工衛星、プログラムに関する。
続きを表示(約 1,100 文字)
【背景技術】
【0002】
検出器で得られた撮像対象の複数の波長の光の放射輝度を用いて当該撮像対象の表面温度を算出する技術が知られている。具体的にはこの温度の算出手法は二色法(二色温度計測法)と呼ばれる。二色法を用いて温度を算出する技術が特許文献1に開示されている。特許文献1の技術では、CCDまたはC-MOSセンサの各画素に2波長のフィルタをモザイク状に設置したカメラを用いることが記載されている。
【先行技術文献】
【特許文献】
【0003】
特開2021-162526号公報
【発明の概要】
【発明が解決しようとする課題】
【0004】
上述の技術において対象の検出精度をより高めることのできる技術が求められている。
【0005】
本開示の目的は、上述の課題を解決するセンサ、測定装置、測定方法、人工衛星、プログラムを提供することにある。
【課題を解決するための手段】
【0006】
本開示の一態様に係るセンサは、複数の異なる波長の光を別々に結像する複数の結像領域を順に並べて設けた撮像素子と、前記複数の結像領域のうちの2つの結像領域から得られた信号を用いて前記撮像対象の温度を算出する温度算出手段と、を備える。
【0007】
本開示の一態様に係る測定装置は、複数の異なる波長の光を別々に結像する複数の結像領域を順に並べて設けた撮像素子と、前記複数の結像領域のうちの2つの結像領域から得られた信号を用いて前記撮像対象の温度を算出する温度算出手段と、を備える。
【0008】
本開示の一態様に係る測定方法は、複数の異なる波長の光を別々に結像する複数の結像領域を順に並べて設けた撮像素子の、前記複数の結像領域のうちの2つの結像領域から得られた信号を用いて前記撮像対象についての情報処理を行う。
【0009】
本開示の一態様に係る人工衛星は、複数の異なる波長の光を別々に結像する複数の結像領域を順に並べて設けた撮像素子と、前記複数の結像領域のうちの2つの結像領域から得られた信号を用いて前記撮像対象の温度を算出する温度算出手段と、を備えるセンサを備える。
【0010】
本開示の一態様に係るプログラムは、複数の異なる波長の光を別々に結像する複数の結像領域を順に並べて設けた撮像素子を備えた温度測定装置のコンピュータを、前記複数の結像領域のうちの2つの結像領域から得られた信号を用いて前記撮像対象の温度を算出する温度算出手段、として機能させる。
(【0011】以降は省略されています)
この特許をJ-PlatPat(特許庁公式サイト)で参照する
関連特許
日本電気株式会社
特定装置
13日前
日本電気株式会社
波長可変光源
今日
日本電気株式会社
測定装置、測定方法及びプログラム
2日前
日本電気株式会社
学習装置、学習方法、及び、記録媒体
1日前
日本電気株式会社
情報処理装置、方法、及び、プログラム
6日前
日本電気株式会社
情報処理装置、方法、及び、プログラム
6日前
日本電気株式会社
情報処理装置、情報処理方法、プログラム
13日前
日本電気株式会社
情報処理装置、情報処理方法、プログラム
6日前
日本電気株式会社
情報処理装置、情報処理方法及びプログラム
6日前
日本電気株式会社
制御装置、制御プログラム、および制御方法
6日前
日本電気株式会社
制御装置、無線端末、方法、及びプログラム
14日前
日本電気株式会社
プログラム、情報処理装置、及び情報処理方法
1日前
日本電気株式会社
情報処理装置、情報処理方法、及びプログラム
6日前
日本電気株式会社
原子発振器、制御方法、制御装置、プログラム
13日前
日本電気株式会社
情報処理装置、情報処理方法、及びプログラム
8日前
日本電気株式会社
情報処理装置、情報処理方法、及びプログラム
8日前
日本電気株式会社
画像処理装置、画像処理方法およびプログラム
7日前
日本電気株式会社
情報処理装置、情報処理方法、及びプログラム
7日前
日本電気株式会社
画像計測装置、画像計測方法、及びプログラム
今日
日本電気株式会社
情報処理装置、情報処理方法、及びプログラム
1日前
日本電気株式会社
通信監視装置、通信監視方法、およびプログラム
8日前
日本電気株式会社
音響送受波装置、及び音響送受波装置の構築方法
6日前
日本電気株式会社
分散システム、無人移動体、分散装置、及び方法
今日
日本電気株式会社
構造秘匿ニューラルネットワークモデル生成装置
6日前
日本電気株式会社
ダッシュボード表示装置、表示方法及びプログラム
13日前
日本電気株式会社
同期装置、同期システム、同期方法及びプログラム
13日前
日本電気株式会社
情報処理システム、情報処理方法、及びプログラム
1日前
日本電気株式会社
真空容器、電磁波発生システム及び電磁波発生方法
今日
日本電気株式会社
センサ、測定装置、測定方法、人工衛星、プログラム
今日
日本電気株式会社
画像解析システム、注目点検出装置及び画像解析方法
13日前
日本電気株式会社
光通信装置、光通信システム、光通信装置の制御方法
今日
日本電気株式会社
治験支援装置、治験支援方法および治験支援プログラム
13日前
日本電気株式会社
監視装置、監視方法、プログラム、および監視システム
2日前
日本電気株式会社
監視システム、監視装置、監視方法、及び、プログラム
6日前
日本電気株式会社
情報処理装置、情報処理装置の制御方法及びプログラム
2日前
日本電気株式会社
ノイズ除去装置、ノイズ除去方法及びノイズ除去プログラム
6日前
続きを見る
他の特許を見る