TOP
|
特許
|
意匠
|
商標
特許ウォッチ
Twitter
他の特許を見る
10個以上の画像は省略されています。
公開番号
2025177884
公報種別
公開特許公報(A)
公開日
2025-12-05
出願番号
2024085029
出願日
2024-05-24
発明の名称
音響送受波装置、及び音響送受波装置の構築方法
出願人
日本電気株式会社
代理人
個人
,
個人
主分類
H04R
17/00 20060101AFI20251128BHJP(電気通信技術)
要約
【課題】フロントマスの共振モードを低周波化することができる、音響送受波装置及び音響送受波装置の構築方法を提供する。
【解決手段】本開示に係る音響送受波装置は、第一端と第二端とを有する駆動素子と、第一端から離れる方向に分布している複数の空隙を有する空隙部を備え、第一端に連結されたフロントマスと、第二端に連結されたリアマスと、を備える。
【選択図】図9
特許請求の範囲
【請求項1】
第一端と第二端とを有する駆動素子と、
前記第一端から離れる方向に分布している複数の空隙を有する空隙部を備え、前記第一端に連結されたフロントマスと、
前記第二端に連結されたリアマスと、
を備える、
音響送受波装置。
続きを表示(約 660 文字)
【請求項2】
前記空隙部が、多孔質構造を有する、
請求項1に記載の音響送受波装置。
【請求項3】
前記空隙部が、多孔質金属を有する、
請求項1又は2に記載の音響送受波装置。
【請求項4】
前記空隙部が、ジャイロイド構造、ハニカム構造、又はラティス構造を有する、
請求項1又は2に記載の音響送受波装置。
【請求項5】
前記複数の空隙が、規則的に分布している、
請求項1又は2に記載の音響送受波装置。
【請求項6】
前記複数の空隙が、不規則に分布している、
請求項1又は2に記載の音響送受波装置。
【請求項7】
前記複数の空隙が、前記第一端から前記第二端に延びる中心軸の周囲にリング状に分布している、
請求項1又は2に記載の音響送受波装置。
【請求項8】
前記空隙部が、バネ構造を有する、
請求項1又は2に記載の音響送受波装置。
【請求項9】
複数の空隙を有する空隙部を備えるフロントマスを形成し、
第一端と第二端とを有する駆動素子の前記第一端から離れる方向に前記複数の空隙が分布するように、前記第一端に前記フロントマスを連結すると共に前記第二端にリアマスを連結する、
音響送受波装置の構築方法。
【請求項10】
3Dプリンタにより前記フロントマスを形成する、
請求項9に記載の音響送受波装置の構築方法。
発明の詳細な説明
【技術分野】
【0001】
本開示は、音響送受波装置及び音響送受波装置の構築方法に関する。
続きを表示(約 1,400 文字)
【背景技術】
【0002】
音響送受波装置として、フロントマスを備える音響送受波装置が知られている。
【0003】
この種の音響送受波装置として、特許文献1には、ボルト締めランジュバン型送受波器が開示されている。
【先行技術文献】
【特許文献】
【0004】
特開平5-183996号公報
【発明の概要】
【発明が解決しようとする課題】
【0005】
特許文献1に開示されている電気音響変換器では、水中での数十kHzの周波数帯域における広帯域化を目的として、フロントマスに音響整合層を接合した構成である。
しかし、特許文献1に開示される電気音響変換器では、音響整合層には、サイズや音速、密度など制約から、樹脂材料が主に使用されており、セラミック振動子或いはランジュバン振動子との接合が必要である。
このため、例えば特許文献1に開示される電気音響変換器では、音響整合層が振動子から剥離する恐れがあった。また、樹脂製の音響整合層において、ハイパワー送波時に容易に応力-歪みに関する非線形領域に達してしまい、送波波形の歪みや音響放射パワーの入力電力に対するリニアリティの劣化を生ずるという問題があった。さらに、振動モードは音響整合層の材質により決まるため、設計自由度が低いという課題があった。
【0006】
本開示の目的は、上述の課題を解決する音響送受波装置及び音響送受波装置の構築方法を提供することにある。
【課題を解決するための手段】
【0007】
本開示の一態様に係る音響送受波装置は、第一端と第二端とを有する駆動素子と、前記第一端から離れる方向に分布している複数の空隙を有する空隙部を備え、前記第一端に連結されたフロントマスと、前記第二端に連結されたリアマスと、を備える。
【0008】
本開示の一態様に係る音響送受波装置の構築方法は、複数の空隙を有する空隙部を備えるフロントマスを形成し、第一端と第二端とを有する駆動素子の前記第一端から離れる方向に前記複数の空隙が分布するように、前記第一端に前記フロントマスを連結すると共に前記第二端にリアマスを連結する。
【発明の効果】
【0009】
上記一態様によれば、フロントマスの共振モードを低周波化しやすい。
【図面の簡単な説明】
【0010】
本開示に係る音響送受波装置の側面図である。
図1の正面図である。
図1のIII-III線に沿う断面図である。
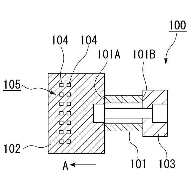
本開示に係る音響送受波装置の上半分の側断面図である。
図4に示す音響送受波装置全体の側断面図である。
図4に示す音響送受波装置における空隙部が占める領域を模式的に示す断面図である。
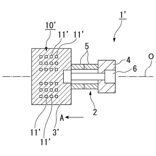
比較例に係る音響送受波装置の上半分の側断面図である。
本開示及び比較例に係る音響送受波装置における周波数と送波電圧感度との関係を示すグラフである。
本開示に係る音響送受波装置の側断面図である。
本開示に係る音響送受波装置の構築方法のステップを示すフローチャートである。
本開示に係る音響送受波装置の構築方法のステップを示すフローチャートである。
【発明を実施するための形態】
(【0011】以降は省略されています)
この特許をJ-PlatPat(特許庁公式サイト)で参照する
関連特許
個人
イヤーピース
28日前
個人
イヤーマフ
1か月前
個人
監視カメラシステム
1か月前
個人
スイッチシステム
1か月前
キーコム株式会社
光伝送線路
1か月前
サクサ株式会社
中継装置
1か月前
個人
スキャン式車載用撮像装置
1か月前
WHISMR合同会社
収音装置
2か月前
サクサ株式会社
中継装置
1か月前
キヤノン株式会社
撮像装置
7日前
アイホン株式会社
電気機器
2か月前
キヤノン株式会社
撮像装置
今日
キヤノン株式会社
撮像装置
今日
キヤノン株式会社
撮像装置
今日
サクサ株式会社
無線通信装置
1か月前
ヤマハ株式会社
放音制御装置
1か月前
キヤノン電子株式会社
画像読取装置
28日前
個人
ワイヤレスイヤホン対応耳掛け
2か月前
キヤノン電子株式会社
画像読取装置
2か月前
キヤノン電子株式会社
画像読取装置
1か月前
株式会社リコー
画像形成装置
1か月前
株式会社リコー
画像形成装置
3か月前
個人
映像表示装置、及びARグラス
1か月前
サクサ株式会社
無線システム
1か月前
サクサ株式会社
無線通信装置
1か月前
キヤノン電子株式会社
画像読取装置
1か月前
キヤノン株式会社
画像処理装置
1か月前
個人
発信機及び発信方法
1か月前
日本電気株式会社
海底分岐装置
1か月前
キヤノン電子株式会社
シート搬送装置
28日前
キヤノン株式会社
撮像システム
2か月前
キヤノン株式会社
情報処理装置
15日前
大日本印刷株式会社
写真撮影装置
2か月前
株式会社松平商会
携帯機器カバー
2か月前
株式会社NTTドコモ
端末
1か月前
日本セラミック株式会社
超音波送受信器
15日前
続きを見る
他の特許を見る