TOP
|
特許
|
意匠
|
商標
特許ウォッチ
Twitter
他の特許を見る
10個以上の画像は省略されています。
公開番号
2025178901
公報種別
公開特許公報(A)
公開日
2025-12-09
出願番号
2024085771
出願日
2024-05-27
発明の名称
測定装置、測定方法及びプログラム
出願人
日本電気株式会社
代理人
個人
主分類
G01S
7/493 20060101AFI20251202BHJP(測定;試験)
要約
【課題】本開示により、水平方向及び垂直方向の偏光を用いた距離の測定精度の悪化を防止することができる測定装置、測定方法及びプログラムを提供すること。
【解決手段】本開示に係る測定装置は、水平偏波ビーム及び垂直偏波ビームを測定対象に向けて送信する送信部と、測定対象において反射した水平偏波ビームの水平反射光と、測定対象において反射した垂直偏波ビームの垂直反射光とを受信する受信部と、水平反射光の受信タイミングに応じて測定対象までの第1の距離を測定する第1の測定部と、垂直反射光の受信タイミングに応じて測定対象までの第2の距離を測定する第2の測定部と、第1の距離を測定する際における垂直反射光の垂直偏波成分及び第2の距離を測定する際における水平反射光の水平偏波成分を除去する除去部と、を備える。
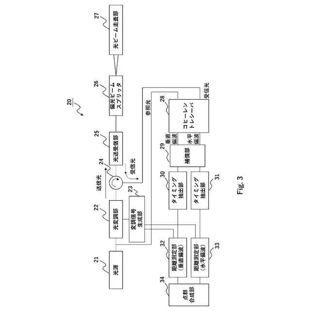
【選択図】図1
特許請求の範囲
【請求項1】
水平偏波ビーム及び垂直偏波ビームを測定対象に向けて送信する送信部と、
前記測定対象において反射した前記水平偏波ビームの水平反射光と、前記測定対象において反射した前記垂直偏波ビームの垂直反射光とを受信する受信部と、
前記水平反射光の受信タイミングに応じて前記測定対象までの第1の距離を測定する第1の測定部と、
前記垂直反射光の受信タイミングに応じて前記測定対象までの第2の距離を測定する第2の測定部と、
前記第1の距離を測定する際における前記垂直反射光の垂直偏波成分及び前記第2の距離を測定する際における前記水平反射光の水平偏波成分を除去する除去部と、を備える、測定装置。
続きを表示(約 1,700 文字)
【請求項2】
前記除去部は、
第1の閾値よりも小さい強度の前記垂直偏波成分及び第2の閾値よりも小さい強度の前記水平偏波成分を除去する、請求項1に記載の測定装置。
【請求項3】
前記送信部は、
第1の周波数オフセットを加えた前記水平偏波ビーム及び第2の周波数オフセットを加えた前記垂直偏波ビームを前記測定対象に向けて送信し、
前記除去部は、
前記第1の距離を測定する際に、前記第1の周波数オフセットとは異なる周波数オフセットを有する前記垂直偏波成分を除去し、前記第2の距離を測定する際に、前記第2の周波数オフセットとは異なる周波数オフセットを有する前記水平偏波成分を除去する、請求項1に記載の測定装置。
【請求項4】
前記除去部は、
前記第1の周波数オフセットを有する水平偏波成分を透過する第1のフィルタと、前記第2の周波数オフセットを有する垂直偏波成分を透過する第2のフィルタとを有する、請求項3に記載の測定装置。
【請求項5】
前記除去部は、
前記第1の距離を測定する際に、第1の係数が掛け合わされた前記水平偏波成分と第2の係数が掛け合わされた前記垂直偏波成分とを足し合わせて更新後の水平偏波成分を生成し、前記第2の距離を測定する際に、第3の係数が掛け合わされた前記水平偏波成分と第4の係数が掛け合わされた前記垂直偏波成分とを足し合わせ更新後の垂直偏波成分を生成し、
前記更新後の水平偏波成分に含まれる前記垂直偏波成分を低減し、前記更新後の垂直偏波成分に含まれる前記水平偏波成分を低減するように、前記第1乃至第4の係数を決定する係数決定部をさらに備える、請求項1に記載の測定装置。
【請求項6】
前記受信部は、
水平偏波成分と垂直偏波成分とを含む受信光から、前記水平偏波成分を有する前記水平反射光と前記垂直偏波成分を有する前記垂直反射光とを分離する分離部と、
前記水平反射光及び前記垂直反射光から光成分を除去して、前記水平偏波成分及び前記垂直偏波成分を特定する特定部と、を有する、請求項1から5のいずれか1項に記載の測定装置。
【請求項7】
前記特定部は、
コヒーレント検波方式を用いて前記水平偏波成分及び前記垂直偏波成分を特定する、請求項6に記載の測定装置。
【請求項8】
前記第1の距離及び前記第2の距離を合成して点群データを生成する生成部をさらに備える、請求項1から5のいずれか1項に記載の測定装置。
【請求項9】
水平偏波ビーム及び垂直偏波ビームを測定対象に向けて送信し、
前記測定対象において反射した前記水平偏波ビームの水平反射光と、前記測定対象において反射した前記垂直偏波ビームの垂直反射光とを受信し、
前記水平偏波ビームを用いて前記測定対象までの第1の距離を測定する際における前記垂直反射光の垂直偏波成分を除去し、
前記垂直偏波ビームを用いて前記測定対象までの第2の距離を測定する際における前記水平反射光の水平偏波成分を除去し、
前記水平反射光の受信タイミングに応じて前記測定対象までの第1の距離を測定し、
前記垂直反射光の受信タイミングに応じて前記測定対象までの第2の距離を測定する、測定方法。
【請求項10】
水平偏波ビーム及び垂直偏波ビームを測定対象に向けて送信し、
前記測定対象において反射した前記水平偏波ビームの水平反射光と、前記測定対象において反射した前記垂直偏波ビームの垂直反射光とを受信し、
前記水平偏波ビームを用いて前記測定対象までの第1の距離を測定する際における前記垂直反射光の垂直偏波成分を除去し、
前記垂直偏波ビームを用いて前記測定対象までの第2の距離を測定する際における前記水平反射光の水平偏波成分を除去し、
前記水平反射光の受信タイミングに応じて前記測定対象までの第1の距離を測定し、
前記垂直反射光の受信タイミングに応じて前記測定対象までの第2の距離を測定することをコンピュータに実行させるプログラム。
発明の詳細な説明
【技術分野】
【0001】
本開示は、測定装置、測定方法及びプログラムに関する。
続きを表示(約 1,700 文字)
【背景技術】
【0002】
近年、LiDAR(Light Detection and Ranging)を活用した構造物の測定もしくは特定の領域の監視が行われている。LiDARは、レーザービームを走査して3D(3 Dimension)スキャンを行う。そのため、測定もしくは監視対象が遠方になるほど、測距点の間隔が粗くなり、点群データの点密度が低下する。
【0003】
特許文献1には、水平方向及び垂直方向の偏光を用いて、点群データの点密度を大きくする検出装置の構成が開示されている。
【先行技術文献】
【特許文献】
【0004】
特表2023-509070号公報
【発明の概要】
【発明が解決しようとする課題】
【0005】
特許文献1に開示されている検出装置は、水平方向及び垂直方向の偏光を出射後に反射光を受光する。ここで、水平方向及び垂直方向のいずれか一方の偏光の反射光が、他方の偏光の反射光に混在するクロストークが発生することが想定される。クロストークが発生した結果、特許文献1に開示されている検出装置を用いた距離の測定精度が悪化するという問題がある。
【0006】
本開示の目的は、水平方向及び垂直方向の偏光を用いた距離の測定精度の悪化を防止することができる測定装置、測定方法及びプログラムを提供することにある。
【課題を解決するための手段】
【0007】
本開示に係る測定装置は、水平偏波ビーム及び垂直偏波ビームを測定対象に向けて送信する送信部と、前記測定対象において反射した前記水平偏波ビームの水平反射光と、前記測定対象において反射した前記垂直偏波ビームの垂直反射光とを受信する受信部と、前記水平反射光の受信タイミングに応じて前記測定対象までの第1の距離を測定する第1の測定部と、前記垂直反射光の受信タイミングに応じて前記測定対象までの第2の距離を測定する第2の測定部と、前記第1の距離を測定する際における前記垂直反射光の垂直偏波成分及び前記第2の距離を測定する際における前記水平反射光の水平偏波成分を除去する除去部と、を備える。
【0008】
本開示に係る測定方法は、水平偏波ビーム及び垂直偏波ビームを測定対象に向けて送信し、前記測定対象において反射した前記水平偏波ビームの水平反射光と、前記測定対象において反射した前記垂直偏波ビームの垂直反射光とを受信し、前記水平偏波ビームを用いて前記測定対象までの第1の距離を測定する際における前記垂直反射光の垂直偏波成分を除去し、前記垂直偏波ビームを用いて前記測定対象までの第2の距離を測定する際における前記水平反射光の水平偏波成分を除去し、前記水平反射光の受信タイミングに応じて前記測定対象までの第1の距離を測定し、前記垂直反射光の受信タイミングに応じて前記測定対象までの第2の距離を測定する。
【0009】
本開示に係るプログラムは、水平偏波ビーム及び垂直偏波ビームを測定対象に向けて送信し、前記測定対象において反射した前記水平偏波ビームの水平反射光と、前記測定対象において反射した前記垂直偏波ビームの垂直反射光とを受信し、前記水平偏波ビームを用いて前記測定対象までの第1の距離を測定する際における前記垂直反射光の垂直偏波成分を除去し、前記垂直偏波ビームを用いて前記測定対象までの第2の距離を測定する際における前記水平反射光の水平偏波成分を除去し、前記水平反射光の受信タイミングに応じて前記測定対象までの第1の距離を測定し、前記垂直反射光の受信タイミングに応じて前記測定対象までの第2の距離を測定することをコンピュータに実行させる。
【発明の効果】
【0010】
本開示により、水平方向及び垂直方向の偏光を用いた距離の測定精度の悪化を防止することができる測定装置、測定方法及びプログラムを提供することができる。
【図面の簡単な説明】
(【0011】以降は省略されています)
この特許をJ-PlatPat(特許庁公式サイト)で参照する
関連特許
日本電気株式会社
監視装置
1か月前
日本電気株式会社
特定装置
11日前
日本電気株式会社
管理装置
1か月前
日本電気株式会社
監視装置
1か月前
日本電気株式会社
海底分岐装置
1か月前
日本電気株式会社
異常検知装置
1か月前
日本電気株式会社
光モジュール
1か月前
日本電気株式会社
光集積回路素子
2か月前
日本電気株式会社
レーザモジュール
2か月前
日本電気株式会社
超伝導量子回路装置
2か月前
日本電気株式会社
システム、装置及び方法
2か月前
日本電気株式会社
推論装置および推論方法
1か月前
日本電気株式会社
ラインカード及びイジェクタ
1か月前
日本電気株式会社
制御装置、プログラム及び方法
2か月前
日本電気株式会社
考査装置、考査方法、プログラム
1か月前
日本電気株式会社
考査装置、考査方法、プログラム
1か月前
日本電気株式会社
時刻維持装置および時刻維持方法
1か月前
日本電気株式会社
交渉装置、交渉方法及びプログラム
1か月前
日本電気株式会社
交渉装置、交渉方法及びプログラム
19日前
日本電気株式会社
測定装置、測定方法及びプログラム
今日
日本電気株式会社
推定装置、推定方法及びプログラム
2か月前
日本電気株式会社
ボロメータアレイ、及び光検出方法
13日前
日本電気株式会社
端末、端末の制御方法及びプログラム
1か月前
日本電気株式会社
監視装置、監視方法、及びプログラム
1か月前
日本電気株式会社
レコメンド装置およびレコメンド方法
1か月前
日本電気株式会社
情報処理装置、制御方法及び記憶媒体
2か月前
日本電気株式会社
情報処理装置、方法、及び、プログラム
4日前
日本電気株式会社
安否確認支援装置、方法及びプログラム
1か月前
日本電気株式会社
学習装置、学習方法及び学習プログラム
2か月前
日本電気株式会社
情報処理装置、方法、及び、プログラム
4日前
日本電気株式会社
情報処理装置、情報処理方法、プログラム
1か月前
日本電気株式会社
乗車誘導計画装置および乗車誘導計画方法
25日前
日本電気株式会社
店舗端末、情報処理方法、及びプログラム
1か月前
日本電気株式会社
情報処理装置、情報処理方法、プログラム
11日前
日本電気株式会社
情報処理装置、情報処理方法、プログラム
4日前
日本電気株式会社
合意判定装置、合意判定方法及びプログラム
1か月前
続きを見る
他の特許を見る