TOP
|
特許
|
意匠
|
商標
特許ウォッチ
Twitter
他の特許を見る
公開番号
2025178699
公報種別
公開特許公報(A)
公開日
2025-12-09
出願番号
2024085467
出願日
2024-05-27
発明の名称
加湿装置
出願人
パナソニックIPマネジメント株式会社
代理人
個人
主分類
F24F
6/00 20060101AFI20251202BHJP(加熱;レンジ;換気)
要約
【課題】装置が落下してもフィルターを破損しにくくする技術を提供する。
【解決手段】第1遮蔽板300は、吸込口からフィルター部分250に向かう第1通風路を形成する。第2遮蔽板310は、フィルター部分250から吹出口112に向かう第2通風路を形成する。フィルター部分250は、中空円筒型を有し、かつ略水平方向の中心軸で回転可能である。第2遮蔽板310は、フィルター部分250に近い側から上側に向かって延びる。第1遮蔽板300は、フィルター部分250に近い側から第2遮蔽板310とは異なった方向に延びる。第1遮蔽板300におけるフィルター部分250とは反対側の裏面304に第2遮蔽板310が接触する。
【選択図】図4
特許請求の範囲
【請求項1】
吸込口と吹出口を有する筐体と、
前記筐体の内部に設けられる送風機と、
前記筐体の内部に設けられる空気調整部とを備え、
前記空気調整部は、
前記筐体の下側部分に配置され、かつ水を貯水する貯水部と、
前記貯水部の水に一部が浸漬されるフィルターと、
前記吸込口から前記フィルターに向かう第1通風路を形成する第1遮蔽板と、
前記第1通風路とは別の第2通風路であって、かつ前記フィルターから前記吹出口に向かう第2通風路を形成する第2遮蔽板とを備え、
前記送風機によって前記吸込口から吸い込まれた空気は、前記第1通風路と前記フィルターと前記第2通風路を介して前記吹出口に送風され、
前記フィルターは、中空円筒型を有し、かつ略水平方向の中心軸で回転可能であり、
前記第2遮蔽板は、前記フィルターに近い側から上側に向かって延び、
前記第1遮蔽板は、前記フィルターに近い側から前記第2遮蔽板とは異なった方向に延び、
前記第1遮蔽板における前記フィルターとは反対側の裏面に前記第2遮蔽板が接触する加湿装置。
続きを表示(約 430 文字)
【請求項2】
前記第1遮蔽板は平板状に形成され、
前記第2遮蔽板は、前記第1遮蔽板の前記裏面に接触可能な接触面を備える請求項1に記載の加湿装置。
【請求項3】
前記第2遮蔽板は、
上下方向に延びる鉛直板と、
前記鉛直板と前記接触面との間に配置され、前記第2遮蔽板の向きを変える屈曲部とをさらに備える請求項2に記載の加湿装置。
【請求項4】
前記第1遮蔽板は、前記フィルターにおいて前記第1遮蔽板に最も近い位置の接線と鋭角を形成する請求項2に記載の加湿装置。
【請求項5】
前記接触面における前記屈曲部側の端部と、前記接触面における前記フィルター側の端部との間は2mm以上である請求項3に記載の加湿装置。
【請求項6】
前記屈曲部における前記鉛直板側の端部は、前記第2遮蔽板における前記フィルターに近い側から5mm以内に配置される請求項5に記載の加湿装置。
発明の詳細な説明
【技術分野】
【0001】
本開示は、フィルターを備える加湿装置に関するものである。
続きを表示(約 1,500 文字)
【背景技術】
【0002】
空気浄化装置の風路中にはフィルターが設けられる。フィルターは、中空円筒状に形成され、回転可能である。フィルターの回転方向は、空気流路の下流側から電解水の中に入り、空気流路の上流側に移動する方向にされる。これにより、除菌、脱臭性能を高めながら加湿量が抑制される(例えば、特許文献1参照)。
【先行技術文献】
【特許文献】
【0003】
特開2014-64743号公報
【発明の概要】
【発明が解決しようとする課題】
【0004】
フィルターは、前述のごとく、中空円筒状に形成され、回転可能であるので、ビスなどで固定できない。そのため、装置が落下すると、フィルターが落下時に移動して周辺部品と接触して破損してしまうおそれがある。
【0005】
そこで本開示は、上記従来の課題を解決するためのものであり、装置が落下してもフィルターを破損しにくくする技術を提供することを目的とする。
【課題を解決するための手段】
【0006】
上記課題を解決するために、本開示のある態様の加湿装置は、吸込口と吹出口を有する筐体と、筐体の内部に設けられる送風機と、筐体の内部に設けられる空気調整部とを備える。空気調整部は、筐体の下側部分に配置され、かつ水を貯水する貯水部と、貯水部の水に一部が浸漬されるフィルターと、吸込口からフィルターに向かう第1通風路を形成する第1遮蔽板と、第1通風路とは別の第2通風路であって、かつフィルターから吹出口に向かう第2通風路を形成する第2遮蔽板とを備える。送風機によって吸込口から吸い込まれた空気は、第1通風路とフィルターと第2通風路を介して吹出口に送風され、フィルターは、中空円筒型を有し、かつ略水平方向の中心軸で回転可能であり、第2遮蔽板は、フィルターに近い側から上側に向かって延び、第1遮蔽板は、フィルターに近い側から第2遮蔽板とは異なった方向に延び、第1遮蔽板におけるフィルターとは反対側の裏面に第2遮蔽板が接触する。
【発明の効果】
【0007】
本開示によれば、装置が落下してもフィルターを破損しにくくできる。
【図面の簡単な説明】
【0008】
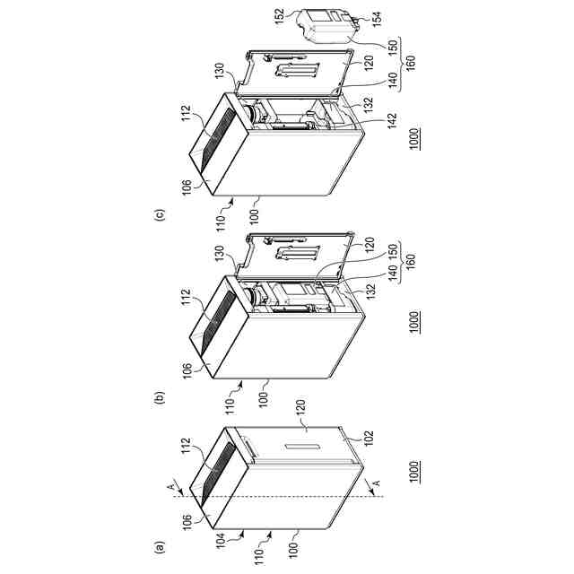
図1(a)-(c)は、本開示の実施の形態に係る加湿装置の斜視図である。
図1(a)-(c)の加湿装置の斜視図である。
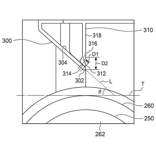
図1(a)-(c)の加湿装置における貯水部とフィルター部分を示す斜視図である。
図2の領域の拡大図である。
【発明を実施するための形態】
【0009】
以下、本開示の実施の形態について図面を参照しながら説明する。なお、以下の実施の形態は、本開示を具体化した一例であって、本開示の技術的範囲を限定するものではない。また、実施形態において説明する各図は、模式的な図であり、各図中の各構成要素の大きさ及び厚さそれぞれの比が、必ずしも実際の寸法比を反映しているとは限らない。
【0010】
図1(a)-(c)は、加湿装置1000の斜視図である。図1(a)は、パネル120を閉じた状態を示し、図1(b)は、パネル120を開けた状態を示し、図1(c)は、パネル120を開けてタンク部材150を取り出した状態を示す。図2は、加湿装置1000の断面図であり、図1(a)のA-A線断面図である。図3は、加湿装置1000における貯水部140とフィルター部分250を示す斜視図である。
(【0011】以降は省略されています)
この特許をJ-PlatPat(特許庁公式サイト)で参照する
関連特許
個人
集熱器具
1か月前
株式会社トヨトミ
五徳
1か月前
株式会社コロナ
空調装置
2か月前
株式会社コロナ
加湿装置
2か月前
株式会社コロナ
空調装置
1か月前
個人
UFO型空気清浄機
22日前
株式会社コロナ
空調装置
3か月前
株式会社コロナ
空調装置
1か月前
個人
油ハネ防止カーテン
1か月前
株式会社コロナ
空調装置
2か月前
株式会社コロナ
風呂給湯機
3か月前
個人
太陽光パネル傾斜装置
1か月前
株式会社KDW
加熱調理器具
今日
株式会社コロナ
温水暖房装置
1か月前
株式会社コロナ
貯湯式給湯機
2か月前
個人
シンプルクーラー
1か月前
株式会社コロナ
貯湯式給湯機
2か月前
株式会社コロナ
暖房システム
2か月前
三菱電機株式会社
換気扇
1か月前
三菱電機株式会社
換気扇
1か月前
三菱電機株式会社
換気扇
14日前
三菱電機株式会社
換気扇
1か月前
ホーコス株式会社
換気扇取付枠
3か月前
株式会社ノーリツ
給湯装置
2か月前
株式会社ノーリツ
温水装置
1か月前
株式会社ツインバード
加熱調理器
2か月前
株式会社コロナ
潜熱回収型給湯機
6日前
株式会社トヨトミ
固体燃料燃焼器
21日前
株式会社パロマ
ガスコンロ
1か月前
株式会社パロマ
ガスコンロ
1か月前
個人
籾殻(そば殻)燃焼ストーブ
3か月前
株式会社パロマ
ガスコンロ
1か月前
株式会社ノーリツ
温水装置
1か月前
株式会社コロナ
壁掛式石油給湯装置
3か月前
大阪瓦斯株式会社
ガスコンロ
1か月前
株式会社パロマ
湯沸器
2か月前
続きを見る
他の特許を見る