TOP
|
特許
|
意匠
|
商標
特許ウォッチ
Twitter
他の特許を見る
10個以上の画像は省略されています。
公開番号
2025178562
公報種別
公開特許公報(A)
公開日
2025-12-08
出願番号
2024085232
出願日
2024-05-26
発明の名称
ガスコンロ用の点火操作装置及びガスコンロ
出願人
株式会社パロマ
代理人
個人
主分類
F24C
3/10 20060101AFI20251201BHJP(加熱;レンジ;換気)
要約
【課題】ガスコンロ用の点火操作装置に関し、使用者等が点火ボタンの状態を確認しやすい技術を提供する。
【解決手段】点火操作装置7において、点火ボタン10の湾曲面34は、後方側となるにつれて次第に上位置となるように後方側に凸となる構成で湾曲した面が、当該湾曲面34が設けられた点火ボタン10の左右方向一端側から左右方向他端側へと左右方向に連続して続く構成をなす。2つの点火ボタン10がいずれも第1姿勢のときには、一方の点火ボタン10の湾曲面34と他方の点火ボタン10の湾曲面34とが左右方向に並ぶ。一方の点火ボタン10が第1姿勢であり且つ他方の点火ボタン10が第2姿勢である場合、他方の点火ボタン10の湾曲面34が、一方の点火ボタン10の湾曲面34よりも下位置であって且つ一方の点火ボタン10の湾曲面34とは異なる向きで配置される。
【選択図】図3
特許請求の範囲
【請求項1】
2以上のガスバーナを備えたガスコンロにおいて点火操作および消火操作に用いられる点火操作装置であって、
前記ガスコンロの前面側に露出して配置される2つの点火ボタンと、
前記点火ボタンを揺動可能に保持する保持部と、
を備え、
前記点火ボタンは、当該点火ボタンに対応する前記ガスバーナを点火する操作及び消火する操作に用いられ、
いずれの前記点火ボタンの露出面も、上側向きの平坦面と、前記平坦面の後方側に配置される湾曲面と、立ち上がり面と、を含み、
前記平坦面は、水平方向と平行な面又は水平方向とのなす角度が鋭角となるように傾斜した面のいずれかである上側向きの面であり、
前記湾曲面は、後方側となるにつれて次第に上位置となるように後方側に凸となる構成で湾曲した面が、当該湾曲面が設けられた前記点火ボタンの左右方向一端側から左右方向他端側へと左右方向に連続して続く構成を有し、
前記立ち上がり面は、前記湾曲面の上端側の一部または前記湾曲面の上方に続く面として構成され、
前記点火ボタンは、当該点火ボタンに対応する前記ガスバーナが消火状態のときの姿勢である第1姿勢と、当該点火ボタンに対応する前記ガスバーナが点火状態のときの姿勢であり且つ自身の前端部が前記第1姿勢のときよりも下位置となる第2姿勢と、に変位し、前記第1姿勢のときよりも前記第2姿勢のときのほうが、水平方向に対する前記平坦面の角度が大きくなり且つ前記湾曲面の下端位置が下位置になる構成であり、
2つの前記点火ボタンがいずれも前記第1姿勢のときには、2つの前記点火ボタンのうちの一方の点火ボタンの前記湾曲面と他方の点火ボタンの前記湾曲面とが左右方向に並び、
前記一方の点火ボタンが前記第1姿勢であり且つ前記他方の点火ボタンが前記第2姿勢である場合、前記他方の点火ボタンの前記湾曲面が、前記一方の点火ボタンの前記湾曲面よりも下位置であって且つ前記一方の点火ボタンの前記湾曲面とは異なる向きで配置される
ガスコンロ用の点火操作装置。
続きを表示(約 1,600 文字)
【請求項2】
2つの前記点火ボタンの間には、前記ガスコンロの前面側に露出する仕切り部が設けられ、
前記仕切り部の露出面は、上側向きの第2平坦面と、前記第2平坦面の後方側に配置される第2湾曲面と、第2立ち上がり面と、を含み、
前記第2平坦面は、水平方向と平行な面又は水平方向とのなす角度が鋭角となるように傾斜した面のいずれかである上側向きの面であり、
前記第2湾曲面は、後方側となるにつれて上位置となるように湾曲した面であり且つ後方側となるにつれて上位置となるように湾曲した湾曲状態が当該湾曲面が設けられた前記仕切り部の左右方向一端側から左右方向他端側へと左右方向に連続して続く構成をなし、
前記第2立ち上がり面は、前記第2湾曲面の後端側の一部または前記第2湾曲面の後方に続く面として構成され、
2つの前記点火ボタンがいずれも前記第1姿勢のときには、前記一方の点火ボタンの前記湾曲面と前記他方の点火ボタンの前記湾曲面と前記第2湾曲面が左右方向に並び、
前記点火ボタンが前記第2姿勢である場合、当該点火ボタンの前記湾曲面が、前記第2湾曲面よりも下位置であって且つ前記第2湾曲面とは異なる向きで配置される
請求項1に記載のガスコンロ用の点火操作装置。
【請求項3】
2つの前記点火ボタンがいずれも前記第1姿勢である場合、
2つの前記点火ボタンの前記平坦面と前記第2平坦面とが面一であり、
2つの前記点火ボタンの前記湾曲面と前記第2湾曲面とが面一であり、
2つの前記点火ボタンの前記立ち上がり面と前記第2立ち上がり面とが面一である
請求項2に記載のガスコンロ用の点火操作装置。
【請求項4】
前記点火ボタンは、前記第1姿勢のときの第1の高さ範囲において前記湾曲面が前側且つ上側を向いた構造が左右方向の第1所定範囲にわたって連続し、前記第2姿勢のときの第2の高さ範囲において前記湾曲面が前側且つ上側を向いた構造が左右方向の第2所定範囲にわたって連続し、
前記第1の高さ範囲よりも前記第2の高さ範囲のほうが低位置である
請求項1から請求項3のいずれか一項に記載のガスコンロ用の点火操作装置。
【請求項5】
前記点火ボタンの前記立ち上がり面は、当該点火ボタンが前記第1姿勢のときに前側向き又は前側且つ上側向きに配置され、当該点火ボタンが前記第2姿勢のときに前側且つ下側向きに配置される
請求項1から請求項3のいずれか一項に記載のガスコンロ用の点火操作装置。
【請求項6】
前記保持部を前側から部分的に覆う構成で前パネルが設けられ、
前記前パネルには、開口部が設けられ、
前記点火ボタンは、前記開口部に挿し通されており、
前記点火ボタンの上面部の前端側には前記立ち上がり面の上端部の後方側に続く構成で上向きの平坦な上表面が配置され、
前記点火ボタンが前記第1姿勢のとき、当該点火ボタンの前記平坦面と水平面とのなす角度である第1角度よりも当該点火ボタンの前記立ち上がり面と水平面とのなす角度である第2角度のほうが大きく、前記第1角度よりも当該点火ボタンの前記上表面と水平面とのなす角度である第3角度のほうが小さく、
前記点火ボタンが前記第1姿勢のとき、前記開口部の上側の縁部と前記立ち上がり面の上端とが近接して配置され、
前記点火ボタンが前記第2姿勢のときには、前記開口部の上側の縁部と前記立ち上がり面の上端とが前記第1姿勢のときよりも離間して配置され且つ前記上表面が当該ガスコンロの外部に露出して視認可能とされる
請求項1から請求項3のいずれか一項に記載のガスコンロ用の点火操作装置。
【請求項7】
請求項1から請求項3のいずれか一項に記載のガスコンロ用の点火操作装置を備えたガスコンロ。
発明の詳細な説明
【技術分野】
【0001】
本開示は、ガスコンロ用の点火操作装置及びガスコンロに関する。
続きを表示(約 2,900 文字)
【背景技術】
【0002】
特許文献1には、点火ボタンユニットを備えたガスコンロが開示されている。図1に開示される点火ボタンユニットは、コンロのフロントパネルに設けられた開口部に取り付けられる枠体と、前記枠体の開口部内に揺動可能に軸支され、バーナにガスを供給するガス供給装置の点火スイッチを後方に押し込む為の点火ボタンと、前記枠体における前記点火ボタンの下側に設けられ、非ロック位置とロック位置との間を左右方向にスライド可能にされたスライド部材とを備える。
【先行技術文献】
【特許文献】
【0003】
特開2020-201036号公報
【発明の概要】
【発明が解決しようとする課題】
【0004】
特許文献1に開示されるガスコンロのような揺動操作式のガスコンロでは、点火ボタンが所定の第1姿勢のときに当該点火ボタンに対応するコンロが消火状態で維持される。一方、上記点火ボタンが上記第1姿勢よりも押し込まれるように操作された場合には第2姿勢に切り替わるとともに当該点火ボタンと連動する点火装置が当該点火ボタンに対応するコンロに対して点火動作を行う。そして、上記点火ボタンが上記第2姿勢から押し込まれるように操作された場合には再び上記第1姿勢に戻り、当該点火ボタンに対応するコンロは消火状態となる。
【0005】
この種のガスコンロでは、コンロが消火状態のときに当該コンロに対応する点火ボタンで定められる第1姿勢とコンロが点火状態のときの第2姿勢とが比較的近似した姿勢となるため、ある程度離れた位置から目視によって点火ボタンの状態を正確に判別することが難しい。
【0006】
本開示の目的の一つは、ガスコンロ用の点火操作装置に関し、使用者等が点火ボタンの状態を確認しやすい技術を提供することである。
【課題を解決するための手段】
【0007】
本開示の一つであるガスコンロ用の点火操作装置は、
2以上のガスバーナを備えたガスコンロにおいて点火操作および消火操作に用いられる点火操作装置であって、
前記ガスコンロの前面側に露出して配置される2つの点火ボタンと、
点火ボタンを揺動可能に保持する保持部と、
を備え、
前記点火ボタンは、当該点火ボタンに対応する前記ガスバーナを点火する操作及び消火する操作に用いられ、
いずれの前記点火ボタンの露出面も、上側向きの平坦面と、前記平坦面の後方側に配置される湾曲面と、立ち上がり面と、を含み、
前記平坦面は、水平方向と平行な面又は水平方向とのなす角度が鋭角となるように傾斜した面のいずれかである上側向きの面であり、
前記湾曲面は、後方側となるにつれて次第に上位置となるように後方側に凸となる構成で湾曲した面が、当該湾曲面が設けられた前記点火ボタンの左右方向一端側から左右方向他端側へと左右方向に連続して続く構成をなし、
前記立ち上がり面は、前記湾曲面の後端側の一部または前記湾曲面の後方に続く面として構成され、
前記点火ボタンは、当該点火ボタンに対応する前記ガスバーナが消火状態のときの姿勢である第1姿勢と、当該点火ボタンに対応する前記ガスバーナが点火状態の時の姿勢であり且つ自身の前端部が前記第1姿勢のときよりも下位置となる第2姿勢と、に変位し、前記第1姿勢のときよりも前記第2姿勢のときのほうが、水平方向に対する前記平坦面の角度が大きくなり且つ前記湾曲面の位置が下位置になる構成であり、
2つの前記点火ボタンがいずれも前記第1姿勢のときには、2つの前記点火ボタンのうちの一方の点火ボタンの前記湾曲面と他方の点火ボタンの前記湾曲面とが左右方向に並び、
前記一方の点火ボタンが前記第1姿勢であり且つ前記他方の点火ボタンが前記第2姿勢である場合、前記他方の点火ボタンの前記湾曲面が、前記一方の点火ボタンの前記湾曲面よりも下位置であって且つ前記一方の点火ボタンの前記湾曲面とは異なる向きで配置される。
【発明の効果】
【0008】
本開示に係る技術は、ガスコンロ用の点火操作装置に関し、使用者等が点火ボタンの状態を確認しやすくすることができる。
【図面の簡単な説明】
【0009】
図1は、第1実施形態に係るガスコンロ用の点火操作装置を備えたガスコンロを概略的に例示する正面図である。
図2は、図1のガスコンロの筐体、点火操作装置、前パネル等を例示する斜視図である。
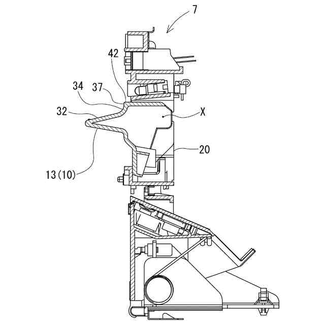
図3は、図1のガスコンロの筐体、点火操作装置、前パネル等を例示する分解斜視図である。
図4は、図1のガスコンロに用いられる点火操作装置において両方の点火ボタンが第1姿勢である状態を概略的に例示する斜視図である。
図5は、図4の点火操作装置の側面図である。
図6は、図4の点火操作装置の正面図である。
図7は、図4の点火操作装置において点火ボタンの位置で切断した断面構成を例示する断面図である。
図8は、図4の点火操作装置から点火ボタンを取り外した構成を例示する分解斜視図である。
図9は、図4の点火操作装置から点火ボタンを取り外した構成を例示する平面図である。
図10は、図4の点火操作装置を前側から見た時の表面の見え方等を概念的に説明する説明図である。
図11は、図4の点火操作装置を斜め前側から見た時の表面の見え方等を概念的に説明する説明図であり、点火ボタンの位置で切断した構成を立体的に示す図である。
図12は、図4の点火操作装置において一方の点火ボタンが第2姿勢であり他方の点火ボタンが第1姿勢である状態を例示する正面図である。
図13は、図12の状態の点火操作装置において一方の点火ボタンの位置で切断した断面構成を示す断面図である。
図14(A)は、第1姿勢のときの点火ボタンを示す断面図であり、図14(B)は、第2姿勢のときの点火ボタンを示す断面図である。
図15(A)は、第1姿勢のときの点火ボタンを示す正面図であり、図15(B)は、第2姿勢のときの点火ボタンを示す正面図である。
図16は、図12の点火操作装置を前側から見た時の表面の見え方等を概念的に説明する説明図である。
図17は、図12の点火操作装置を斜め前側から見た時の表面の見え方等を概念的に説明する説明図であり、点火ボタンの位置で切断した構成を立体的に示す図である。
図18(A)は、他の実施形態の点火ボタンを示す断面図であり、図18(B)は、図18(A)の点火ボタンの一部を拡大して示す拡大図である。
【発明を実施するための形態】
【0010】
以下の技術は、本開示に係る特徴的なガスコンロ用の点火操作装置又はガスコンロの一例である。
(【0011】以降は省略されています)
特許ウォッチbot のツイートを見る
この特許をJ-PlatPat(特許庁公式サイト)で参照する
関連特許
株式会社パロマ
融雪装置
13日前
株式会社パロマ
給湯装置
1か月前
株式会社パロマ
ガスコンロ
15日前
株式会社パロマ
ガスコンロ
1か月前
株式会社パロマ
フライヤー
6日前
株式会社パロマ
ガスコンロ
7日前
株式会社パロマ
ガスコンロ
8日前
株式会社パロマ
ガスコンロ
1か月前
株式会社パロマ
ガスコンロ
1か月前
株式会社パロマ
ガスコンロ
14日前
株式会社パロマ
ガスコンロ
15日前
株式会社パロマ
加熱調理装置
1か月前
株式会社パロマ
加熱調理装置
1か月前
株式会社パロマ
加熱調理装置
今日
株式会社パロマ
監視システム
13日前
株式会社パロマ
ビルトインコンロ
1日前
株式会社パロマ
食器洗浄機用ブースター
1か月前
株式会社パロマ
食器洗浄機用ブースター
14日前
株式会社パロマ
食器洗浄機用ブースター
2か月前
株式会社パロマ
アフターバーナ及び加熱調理装置
1か月前
株式会社パロマ
ヒートポンプ熱源機及び給湯システム
1か月前
株式会社パロマ
ヒートポンプ熱源機及び給湯システム
1か月前
株式会社パロマ
ガスコンロの製造方法およびガスコンロ
1か月前
株式会社パロマ
ガスコンロ用の点火操作装置及びガスコンロ
3日前
株式会社パロマ
給湯暖房機
1か月前
株式会社パロマ
ガス器具用リモートコントローラの取付板及びガス器具用リモートコントローラの取付方法
今日
個人
集熱器具
1か月前
株式会社トヨトミ
五徳
1か月前
株式会社コロナ
空調装置
3か月前
株式会社コロナ
加湿装置
2か月前
個人
UFO型空気清浄機
22日前
株式会社コロナ
空調装置
2か月前
株式会社コロナ
空調装置
2か月前
個人
油ハネ防止カーテン
1か月前
株式会社コロナ
空調装置
1か月前
株式会社コロナ
空調装置
1か月前
続きを見る
他の特許を見る