TOP
|
特許
|
意匠
|
商標
特許ウォッチ
Twitter
他の特許を見る
10個以上の画像は省略されています。
公開番号
2025179863
公報種別
公開特許公報(A)
公開日
2025-12-11
出願番号
2024086743
出願日
2024-05-29
発明の名称
加熱調理装置
出願人
株式会社パロマ
代理人
個人
,
個人
主分類
A47J
37/06 20060101AFI20251204BHJP(家具;家庭用品または家庭用設備;コーヒーひき;香辛料ひき;真空掃除機一般)
要約
【課題】触媒プレートへの固定部材の装着の容易化を図ることができる加熱調理装置を提供する。
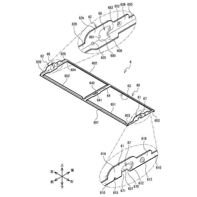
【解決手段】第2フレーム6は、第1フレーム5の上に触媒プレート8が載置された状態で、案内溝67,68の受け入れ部670,680の位置と、バーリング穴57,58のバーリング部572,582の位置とが一致するように位置合わせされる。第2フレーム6は、バーリング部572,582と案内溝67,68によって、触媒プレート8側に落とし込まれた後、前方側にスライドするように案内される。バーリング部572,582が案内溝67,68の第2溝672,682の夫々の周縁部の後端部に係合する。これと共に、右突出壁61及び左突出壁62の夫々の係合突起612,622が、対応する右固定部510の係合穴512、及び左固定部520の係合穴522に夫々係合する。
【選択図】図7
特許請求の範囲
【請求項1】
グリル庫内から流れる燃焼排気を前記グリル庫外に排出する排気ダクトを備え、前記排気ダクト内に触媒プレートが固定部材で固定される加熱調理装置において、
前記触媒プレートの厚み方向を上下方向と仮定した場合に、
前記固定部材は、
前記触媒プレートの下側から装着される第1フレームと、
前記触媒プレートの上側から装着される第2フレームと
を備え、
前記第1フレームと前記第2フレームを相互に組み合わせた状態で、前記触媒プレートを内側に支持するものであって、
前記第1フレームは、
前記触媒プレートを下側から支持し、前記触媒プレートと相対する第1開口部を有する第1本体部と、
前記第1本体部の前後両端部から上方に突出し、前記触媒プレートの前面及び後面を前後方向の両側から夫々支持する前支持壁及び後支持壁と、
前記第1本体部の左右両端部から上方に突出し、前記触媒プレートの右面及び左面を左右方向の両側から夫々支持する右支持壁及び左支持壁と
を備え、
前記第2フレームは、
前記触媒プレートを上側から支持し、前記触媒プレートを介して前記第1開口部と相対する第2開口部を有する第2本体部と、
前記第2本体部の左右両端部から上方に突出する右突出壁及び左突出壁と
を備え、
前記右支持壁及び前記左支持壁は、前記触媒プレートの上面よりもさらに上方に突出する固定部を夫々備え、
前記固定部は、
前記排気ダクトに設けられたダクト側固定穴にビスで締結されるビス穴と、前記ビス穴の内周縁から前記左右方向の中央に向けて突出するバーリング部とを有するバーリング穴と、
前記バーリング穴よりも前記前後方向の一方側又は他方側に設けられた係合穴と
を備え、
前記右突出壁及び前記左突出壁は、
前記第1フレームと前記第2フレームを相互に組み合わせた状態で、前記右支持壁及び前記左支持壁の夫々の内面に重合するように構成され、
下方に向けて開口し、前記右支持壁及び前記左支持壁の夫々の前記固定部の前記バーリング穴に設けられた前記バーリング部を下方から受け入れる受け入れ部と、前記受け入れ部から上方に延びる第1溝部と、前記第1溝部の上端部から前記前後方向の前記一方側に延びる第2溝部とを備える案内溝と、
前記案内溝よりも前記前後方向の前記一方側又は前記他方側であって、前記固定部の前記係合穴に対応する位置に設けられ、前記左右方向の外側に突出する係合突起と
を夫々備え、
前記第2フレームは、前記第1フレームの上側に前記触媒プレートが配置された状態で、前記案内溝の前記受け入れ部の位置と、前記バーリング部の位置とが一致するように位置合わせされることで、前記バーリング部及び前記案内溝によって前記触媒プレート側に落とし込まれた後、前記前後方向の他方側にスライドするように案内され、
前記第2フレームの前記他方側へのスライドが完了した状態では、前記バーリング部が前記第2溝部の前記前後方向の前記一方側の端部に係合すると共に、前記右突出壁及び前記左突出壁の夫々の前記係合突起が対応する前記固定部の前記係合穴に夫々係合すること
を特徴とする加熱調理装置。
続きを表示(約 1,100 文字)
【請求項2】
前記受け入れ部は、前記第2本体部まで延び、
前記バーリング部の突出する幅は、前記右突出壁及び前記左突出壁の夫々の厚み幅よりも大きいこと
を特徴とする請求項1に記載の加熱調理装置。
【請求項3】
前記固定部には、前記左右方向の外側に突出する突出部が設けられ、
前記排気ダクトの左右両側の壁部には、前記突出部を挿入可能な挿入部が設けられたこと
を特徴とする請求項1に記載の加熱調理装置。
【請求項4】
前記触媒プレートは、前記左右方向に並べて配置される第1触媒プレート及び第2触媒プレートを少なくとも備え、
前記第1本体部は、前記第1触媒プレートと前記第2触媒プレートとの境界を下側から覆う第1覆い部を備え、
前記第2本体部は、前記第1触媒プレートと前記第2触媒プレートの前記境界を上側から覆う第2覆い部を備え、
前記第1覆い部には、前記触媒プレート側に向かって突出すると共に、その先端部が前記第2溝部の延びる方向と同一側に屈曲する爪部が設けられ、
前記第2覆い部には、前記爪部が挿入可能なスリットが設けられ、
前記第2フレームが前記バーリング部及び前記案内溝によって前記触媒プレート側に落とし込まれたとき、前記爪部が前記スリットに挿入され、
前記第2フレームが前記前後方向の前記他方側にスライドしたとき、前記スリットの周縁部が前記爪部の屈曲する前記先端部の内側に潜り込むこと
を特徴とする請求項1に記載の加熱調理装置。
【請求項5】
前記触媒プレートは、前記左右方向に並べて配置される第1触媒プレート及び第2触媒プレートを少なくとも備え、
前記第1本体部は、前記第1触媒プレートと前記第2触媒プレートとの境界を下側から覆う第1覆い部を備え、
前記第2本体部は、前記第1触媒プレートと前記第2触媒プレートの前記境界を上側から覆う第2覆い部を備え、
前記第2覆い部には、前記触媒プレート側に向かって突出すると共に、その先端部が前記第2溝部の延びる方向とは反対側に屈曲する爪部が設けられ、
前記第1覆い部には、前記爪部が挿入可能なスリットが設けられ、
前記第2フレームが前記バーリング部及び前記案内溝によって前記触媒プレート側に落とし込まれたとき、前記爪部が前記スリットに挿入され、
前記第2フレームが前記前後方向の前記他方側にスライドしたとき、前記スリットの周縁部が前記爪部の屈曲する前記先端部の内側に潜り込むこと
を特徴とする請求項1に記載の加熱調理装置。
発明の詳細な説明
【技術分野】
【0001】
本発明は、加熱調理装置に関する。
続きを表示(約 2,700 文字)
【背景技術】
【0002】
従来、排気ダクト内に、被調理物から発生した油煙を焼いて消失させるアフターバーナと、上記アフターバーナの燃焼により加熱されて活性化する触媒プレートとを備えたグリルが知られている(例えば特許文献1参照)。
【先行技術文献】
【特許文献】
【0003】
特開2006-55185号公報
【発明の概要】
【発明が解決しようとする課題】
【0004】
通常、触媒プレートは固定部材を装着した状態で排気ダクト内に固定される。グリルの生産効率を上げる為には、触媒プレートに対する固定部材の装着の容易化が求められていた。
【0005】
本発明の目的は、触媒プレートへの固定部材の装着の容易化を図ることができる加熱調理装置を提供することである。
【課題を解決するための手段】
【0006】
請求項1の加熱調理装置は、グリル庫内から流れる燃焼排気を前記グリル庫外に排出する排気ダクトを備え、前記排気ダクト内に触媒プレートが固定部材で固定される加熱調理装置において、前記触媒プレートの厚み方向を上下方向と仮定した場合に、前記固定部材は、前記触媒プレートの下側から装着される第1フレームと、前記触媒プレートの上側から装着される第2フレームとを備え、前記第1フレームと前記第2フレームを相互に組み合わせた状態で、前記触媒プレートを内側に支持するものであって、前記第1フレームは、前記触媒プレートを下側から支持し、前記触媒プレートと相対する第1開口部を有する第1本体部と、前記第1本体部の前後両端部から上方に突出し、前記触媒プレートの前面及び後面を前後方向の両側から夫々支持する前支持壁及び後支持壁と、前記第1本体部の左右両端部から上方に突出し、前記触媒プレートの右面及び左面を左右方向の両側から夫々支持する右支持壁及び左支持壁とを備え、前記第2フレームは、前記触媒プレートを上側から支持し、前記触媒プレートを介して前記第1開口部と相対する第2開口部を有する第2本体部と、前記第2本体部の左右両端部から上方に突出する右突出壁及び左突出壁とを備え、前記右支持壁及び前記左支持壁は、前記触媒プレートの上面よりもさらに上方に突出する固定部を夫々備え、前記固定部は、前記排気ダクトに設けられたダクト側固定穴にビスで締結されるビス穴と、前記ビス穴の内周縁から前記左右方向の中央に向けて突出するバーリング部とを有するバーリング穴と、前記バーリング穴よりも前記前後方向の一方側又は他方側に設けられた係合穴とを備え、前記右突出壁及び前記左突出壁は、前記第1フレームと前記第2フレームを相互に組み合わせた状態で、前記右支持壁及び前記左支持壁の夫々の内面に重合するように構成され、下方に向けて開口し、前記右支持壁及び前記左支持壁の夫々の前記固定部の前記バーリング穴に設けられた前記バーリング部を下方から受け入れる受け入れ部と、前記受け入れ部から上方に延びる第1溝部と、前記第1溝部の上端部から前記前後方向の前記一方側に延びる第2溝部とを備える案内溝と、前記案内溝よりも前記前後方向の前記一方側又は前記他方側であって、前記固定部の前記係合穴に対応する位置に設けられ、前記左右方向の外側に突出する係合突起とを夫々備え、前記第2フレームは、前記第1フレームの上側に前記触媒プレートが配置された状態で、前記案内溝の前記受け入れ部の位置と、前記バーリング部の位置とが一致するように位置合わせされることで、前記バーリング部及び前記案内溝によって前記触媒プレート側に落とし込まれた後、前記前後方向の他方側にスライドするように案内され、前記第2フレームの前記他方側へのスライドが完了した状態では、前記バーリング部が前記第2溝部の前記前後方向の前記一方側の端部に係合すると共に、前記右突出壁及び前記左突出壁の夫々の前記係合突起が対応する前記固定部の前記係合穴に夫々係合することを特徴とする。
【0007】
請求項2の加熱調理装置の前記受け入れ部は、前記第2本体部まで延び、前記バーリング部の突出する幅は、前記右突出壁及び前記左突出壁の夫々の厚み幅よりも大きくてもよい。
【0008】
請求項3の加熱調理装置の前記固定部には、前記左右方向の外側に突出する突出部が設けられ、前記排気ダクトの左右両側の壁部には、前記突出部を挿入可能な挿入部が設けられてもよい。
【0009】
請求項4の加熱調理装置の前記触媒プレートは、前記触媒プレートは、前記左右方向に並べて配置される第1触媒プレート及び第2触媒プレートを少なくとも備え、前記第1本体部は、前記第1触媒プレートと前記第2触媒プレートとの境界を下側から覆う第1覆い部を備え、前記第2本体部は、前記第1触媒プレートと前記第2触媒プレートの前記境界を上側から覆う第2覆い部を備え、前記第1覆い部には、前記触媒プレート側に向かって突出すると共に、その先端部が前記第2溝部の延びる方向と同一側に屈曲する爪部が設けられ、前記第2覆い部には、前記爪部が挿入可能なスリットが設けられ、前記第2フレームが前記バーリング部及び前記案内溝によって前記触媒プレート側に落とし込まれたとき、前記爪部が前記スリットに挿入され、前記第2フレームが前記前後方向の前記他方側にスライドしたとき、前記スリットの周縁部が前記爪部の屈曲する前記先端部の内側に潜り込んでもよい。
【0010】
請求項5の加熱調理装置の前記触媒プレートは、前記左右方向に並べて配置される第1触媒プレート及び第2触媒プレートを少なくとも備え、前記第1本体部は、前記第1触媒プレートと前記第2触媒プレートとの境界を下側から覆う第1覆い部を備え、前記第2本体部は、前記第1触媒プレートと前記第2触媒プレートの前記境界を上側から覆う第2覆い部を備え、前記第2覆い部には、前記触媒プレート側に向かって突出すると共に、その先端部が前記第2溝部の延びる方向とは反対側に屈曲する爪部が設けられ、前記第1覆い部には、前記爪部が挿入可能なスリットが設けられ、前記第2フレームが前記バーリング部及び前記案内溝によって前記触媒プレート側に落とし込まれたとき、前記爪部が前記スリットに挿入され、前記第2フレームが前記前後方向の前記他方側にスライドしたとき、前記スリットの周縁部が前記爪部の屈曲する前記先端部の内側に潜り込んでもよい。
【発明の効果】
(【0011】以降は省略されています)
この特許をJ-PlatPat(特許庁公式サイト)で参照する
関連特許
他の特許を見る