TOP
|
特許
|
意匠
|
商標
特許ウォッチ
Twitter
他の特許を見る
10個以上の画像は省略されています。
公開番号
2025175464
公報種別
公開特許公報(A)
公開日
2025-12-03
出願番号
2024081602
出願日
2024-05-20
発明の名称
ガスコンロ
出願人
株式会社パロマ
代理人
弁理士法人暁合同特許事務所
主分類
F24C
3/02 20210101AFI20251126BHJP(加熱;レンジ;換気)
要約
【課題】グリル庫が開いたとしてもグリル庫内から筐体側への熱気の逆流を抑制できるコンロを提供する。
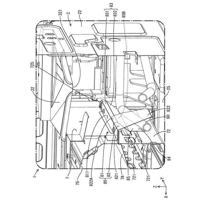
【解決手段】筐体2の内部に、右受け皿31および左受け皿32と、グリル庫7と、グリル庫7の左右に近接配置される配管90と、配管90を覆うカバー80とが設けられる。グリル庫7は、右側壁71および左側壁72と、それらに形成されたスリット711,721とを有する。カバー80は、前カバー部81と後カバー部82とを備える。後カバー部82は、外斜め下方向に広がり、配管90を上方から覆う配管カバー822を備える。前カバー部81は、グリル庫7の右側壁71側および左側壁72側に向けて近接して、グリル庫7のスリット711,721のそれぞれを横側から覆うスリットカバー85を備える。スリットカバー85は、グリル庫7の右側壁71および左側壁72のそれぞれと配管90との間に位置する。
【選択図】図3
特許請求の範囲
【請求項1】
コンロバーナと、
筐体と、を備えたガスコンロであって、
前記筐体の内部には、前記コンロバーナ下の受け皿と、グリル庫と、前記グリル庫の左右に近接配置される配管と、前記配管を覆うカバーと、が設けられており、
前記グリル庫は、左右の側壁と、前記側壁に形成されたスリットと、を有し、
前記カバーは、前記受け皿の下方に重なる前カバー部と、前記前カバー部の後側に連なる後カバー部と、を備え、
前記後カバー部は、外斜め下方向に広がり前記配管を上方から覆う配管カバーを備え、
前記前カバー部は、前記グリル庫の前記側壁側に向けて近接して、前記グリル庫の前記スリットを横側から覆うスリットカバーを備え、
前記スリットカバーは、前記グリル庫の前記側壁と前記配管との間に位置している、ガスコンロ。
続きを表示(約 250 文字)
【請求項2】
前記スリットカバーは、左右方向外方に広がった後、内側に傾斜するガイド部と、前記ガイド部の下端から前記グリル庫の前記側壁と所定の間隔を隔てて垂下する垂下部と、が前後方向にのびる、請求項1に記載のガスコンロ。
【請求項3】
前記前カバー部は、前記後カバー部の前端部と重なる位置にまでのびる、請求項1または請求項2に記載のガスコンロ。
【請求項4】
前記前カバー部は、前記ガイド部の前側開口を閉じる折り曲げ部を備える、請求項2に記載のガスコンロ。
発明の詳細な説明
【技術分野】
【0001】
本開示は、ガスコンロに関する。
続きを表示(約 2,000 文字)
【背景技術】
【0002】
特開2019-32095号公報(下記特許文献1)に記載のコンロは、天板と筐体とを備え、筐体内にはグリル庫が設置され、天板には3つのコンロバーナが配置されている。天板の後方部には、グリル庫からの燃焼排気を外部に排出する排気口が設けられている。グリル庫は、庫内に設けられるグリルバーナと、グリル庫の前側開口部分を開閉するグリル扉と、グリル扉に連結されて庫内で被調理物を支持する支持部(焼き網、支持体、受け皿等)が設けられる。また、グリル庫の左右側壁部には、筐体内部の空気を燃焼用空気としてグリル庫内に取り入れる複数のスリットが前後方向に並設されている。
【先行技術文献】
【特許文献】
【0003】
特開2019-32095号公報
【発明の概要】
【発明が解決しようとする課題】
【0004】
グリル庫の左右両壁部には、グリル庫の左右に近接配置されるガス配管を上側から覆い、煮汁の付着を防止するカバー体が設けられる。しかし、燃焼中に、グリル扉が開かれると、燃焼排気の前後方向への慣性力(ドラフト力)が比較的弱いグリル庫内前側の熱気が、前記スリットを介して筐体内部に逆流し、ガス管側に流れるおそれがある。
【0005】
本開示は上記のような事情に基づいて完成されたものであって、グリル庫が開いたとしてもグリル庫内から筐体側への熱気の逆流を抑制できるコンロを提供することを目的とする。
【課題を解決するための手段】
【0006】
本開示は、コンロバーナと、筐体と、を備えたガスコンロであって、前記筐体の内部には、前記コンロバーナ下の受け皿と、グリル庫と、前記グリル庫の左右に近接配置される配管と、前記配管を覆うカバーと、が設けられており、前記グリル庫は、左右の側壁と、前記側壁に形成されたスリットと、を有し、前記カバーは、前記受け皿の下方に重なる前カバー部と、前記前カバー部の後側に連なる後カバー部と、を備え、前記後カバー部は、外斜め下方向に広がり前記配管を上方から覆う配管カバーを備え、前記前カバー部は、前記グリル庫の前記側壁側に向けて近接して、前記グリル庫の前記スリットを横側から覆うスリットカバーを備え、前記スリットカバーは、前記グリル庫の前記側壁と前記配管との間に位置していることに特徴を有する。
【発明の効果】
【0007】
本開示によれば、グリル庫が開いたとしてもグリル庫内から筐体側への熱気の逆流を抑制できるコンロを提供することができる。
【図面の簡単な説明】
【0008】
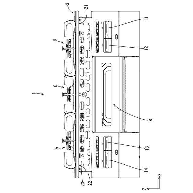
図1は、実施形態に係るガスコンロの正面図である。
図2は、XZ平面で切断されたガスコンロの断面を前方から見た正面断面図である。
図3は、XZ平面で切断されたガスコンロの断面を右斜め前方から見た斜視断面図である。
図4は、YZ平面で切断されたガスコンロの断面を右斜め前方から見た斜視断面図である。
図5は、XZ平面で切断されたガスコンロの断面を左斜め後方から見た斜視断面図である。
図6は、XZ平面で切断されたガスコンロの断面のうちグリル庫の左側壁およびその近傍を拡大した拡大正面断面図である。
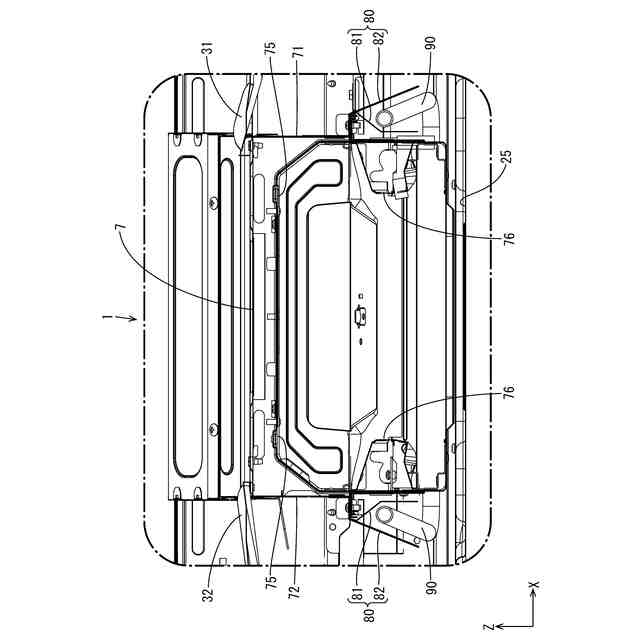
図7は、XY平面で切断されたガスコンロの断面のうちガスコンロの前部を拡大した拡大上面断面図である。
図8は、図7をさらに拡大した拡大上面断面図である。
図9は、前カバー部81の斜視図である。
【発明を実施するための形態】
【0009】
最初に本開示の実施形態を列挙して説明する。
(1)本開示のガスコンロは、コンロバーナと、筐体と、を備えたガスコンロであって、前記筐体の内部には、前記コンロバーナ下の受け皿と、グリル庫と、前記グリル庫の左右に近接配置される配管と、前記配管を覆うカバーと、が設けられており、前記グリル庫は、左右の側壁と、前記側壁に形成されたスリットと、を有し、前記カバーは、前記受け皿の下方に重なる前カバー部と、前記前カバー部の後側に連なる後カバー部と、を備え、前記後カバー部は、外斜め下方向に広がり前記配管を上方から覆う配管カバーを備え、前記前カバー部は、前記グリル庫の前記側壁側に向けて近接して、前記グリル庫の前記スリットを横側から覆うスリットカバーを備え、前記スリットカバーは、前記グリル庫の前記側壁と前記配管との間に位置している。
【0010】
スリットカバーがグリル庫の側壁と配管との間に位置し、グリル庫のスリットをスリットカバーが横側から覆うため、グリル庫が開いたとしてもグリル庫内から筐体側への熱気の逆流が抑制される。
なお、前カバー部は配管を覆っていないが、上方に受け皿があるので、当該配管に煮汁が滴下することは防止される。
(【0011】以降は省略されています)
この特許をJ-PlatPat(特許庁公式サイト)で参照する
関連特許
個人
集熱器具
1か月前
株式会社トヨトミ
五徳
1か月前
株式会社コロナ
加湿装置
2か月前
株式会社コロナ
空調装置
1か月前
株式会社コロナ
空調装置
2か月前
個人
油ハネ防止カーテン
1か月前
個人
UFO型空気清浄機
19日前
株式会社コロナ
空調装置
2か月前
株式会社コロナ
空調装置
1か月前
株式会社コロナ
空調装置
2か月前
株式会社コロナ
風呂給湯機
2か月前
個人
太陽光パネル傾斜装置
1か月前
株式会社コロナ
貯湯式給湯機
2か月前
株式会社コロナ
温水暖房装置
1か月前
個人
シンプルクーラー
1か月前
株式会社コロナ
暖房システム
2か月前
株式会社コロナ
貯湯式給湯機
2か月前
三菱電機株式会社
換気扇
1か月前
三菱電機株式会社
換気扇
1か月前
三菱電機株式会社
換気扇
1か月前
三菱電機株式会社
換気扇
11日前
ホーコス株式会社
換気扇取付枠
2か月前
株式会社ノーリツ
温水装置
1か月前
株式会社ノーリツ
給湯装置
1か月前
株式会社トヨトミ
固体燃料燃焼器
18日前
株式会社ノーリツ
温水装置
1か月前
株式会社パロマ
ガスコンロ
1か月前
株式会社ツインバード
加熱調理器
2か月前
株式会社コロナ
潜熱回収型給湯機
3日前
株式会社パロマ
ガスコンロ
1か月前
個人
籾殻(そば殻)燃焼ストーブ
3か月前
株式会社パロマ
ガスコンロ
1か月前
大阪瓦斯株式会社
ガスコンロ
1か月前
株式会社パロマ
湯沸器
2か月前
オリオン機械株式会社
空調装置
1か月前
株式会社福地建装
換気調湿装置
3日前
続きを見る
他の特許を見る