TOP
|
特許
|
意匠
|
商標
特許ウォッチ
Twitter
他の特許を見る
公開番号
2025177933
公報種別
公開特許公報(A)
公開日
2025-12-05
出願番号
2024085098
出願日
2024-05-24
発明の名称
フライヤー
出願人
株式会社パロマ
代理人
個人
,
個人
主分類
A47J
37/12 20060101AFI20251128BHJP(家具;家庭用品または家庭用設備;コーヒーひき;香辛料ひき;真空掃除機一般)
要約
【課題】増油タンクが空となる第2調理モードでの調理が長期間行われないことがあっても、増油タンク内の調理油の劣化及び固形化を防止して第2調理モードへの切替を確実に行えるようにする。
【解決手段】フライヤー1のバーナコントローラ55は、主電源スイッチ56がONされると、調理用温度センサ10により検出される調理油温度が100℃以上であるか否かを判別し、調理油温度が100℃以上である場合、増油検出スイッチ15により増油バルブ13が開弁が検出されてから増油タンク11内の差分量の調理油が油槽2に供給されるまで、パルス燃焼器3及び電気ヒータ24の作動を含む運転を禁止する。
【選択図】図1
特許請求の範囲
【請求項1】
調理油を収容する油槽と、
前記油槽に設けられ、調理油を加熱する加熱手段と、
前記油槽内の調理油温度を検出する温度検出手段と、
前記油槽へ収容される調理油が所定の第1油量である場合に前記加熱手段を所定の第1熱量で制御して被調理物を調理する第1調理モードと、調理油が前記第1油量よりも多い所定の第2油量である場合に前記加熱手段を前記第1熱量よりも大きい所定の第2熱量で制御して被調理物を調理する第2調理モードとがそれぞれ実行可能な制御手段と、
前記制御手段へ電源を投入するための主電源スイッチと、
前記油槽における調理油の収容部よりも上側に設けられて、前記第1油量と前記第2油量との差分量の調理油が収容可能で、前記差分量を超えた量の調理油を前記油槽に供給するオーバーフロー部を備えると共に、手動で開閉操作可能な増油バルブを備えた増油管を介して前記油槽と接続される増油タンクと、
前記増油バルブに設けられ、前記増油バルブの開閉状態を検出する増油バルブ開閉検出手段と、
前記油槽の下側に設けられ、前記油槽内から排油管を介して排出された調理油をフィルタリングするフィルタリングタンクと、
前記フィルタリングタンクと前記増油タンクとを接続する給油経路と、
前記給油経路に設けられるポンプと、を含み、
前記第2油量の調理油を前記油槽から前記フィルタリングタンクに排出した後、前記ポンプを駆動させて前記フィルタリングタンク内の調理油を前記給油経路を介して前記増油タンクに供給することで、前記差分量の調理油を前記増油タンクに収容させると共に、前記差分量を超えた前記第1油量の調理油を前記増油タンクから前記オーバーフロー部を介して前記油槽に供給可能としたフライヤーであって、
前記制御手段は、前記主電源スイッチがONされると、前記温度検出手段により検出される前記調理油温度が所定温度以上であるか否かを判別し、
前記調理油温度が前記所定温度以上である場合、前記増油バルブ開閉検出手段により前記増油バルブの開弁が検出されてから前記増油タンク内の所定量の調理油が前記油槽に供給されるまで、少なくとも前記加熱手段の運転を禁止することを特徴とするフライヤー。
続きを表示(約 560 文字)
【請求項2】
前記制御手段は、前記主電源スイッチがONされて前記調理油温度が前記所定温度以上である場合、前記増油バルブの開弁が検出されてから前記所定量の調理油が前記油槽に供給される所要時間が経過するまで、少なくとも前記加熱手段の運転を禁止することを特徴とする請求項1に記載のフライヤー。
【請求項3】
前記所定量は、前記差分量であることを特徴とする請求項1又は2に記載のフライヤー。
【請求項4】
前記排油管には、手動で開閉操作可能な排油バルブが設けられ、前記排油バルブには、前記排油バルブの開閉状態を検出する排油バルブ開閉検出手段が設けられており、
前記制御手段は、前記主電源スイッチがONされた状態で前記排油バルブ開閉検出手段により前記排油バルブの開弁が検出されると、前記主電源スイッチがOFFされるまで、少なくとも前記加熱手段の運転を禁止することを特徴とする請求項1又は2に記載のフライヤー。
【請求項5】
前記制御手段は、前記主電源スイッチがONされた状態で調理油のフィルタリングが所定時間行われないと、前記排油バルブが開弁されて前記主電源スイッチがOFFされるまで、少なくとも前記加熱手段の運転を禁止することを特徴とする請求項4に記載のフライヤー。
発明の詳細な説明
【技術分野】
【0001】
本開示は、調理油を油槽内で加熱し、当該油槽に被調理物を投入して加熱調理する業務用のフライヤーに関する。
続きを表示(約 4,900 文字)
【背景技術】
【0002】
フライヤーは、油槽に収容した調理油をバーナやパルス燃焼器等の加熱手段によって所定の調理温度まで加熱することで、油槽に投入された被調理物を加熱調理する。
特に、特許文献1には、油量が異なる2つの調理モードを実行可能としたフライヤーが開示されている。第1調理モードでは、調理油が所定の第1油量で、且つ被調理物が所定の第1定格量である場合に加熱手段を所定の第1熱量で制御して被調理物を調理する。第2調理モードでは、調理油が第1油量よりも多い所定の第2油量で、且つ被調理物が第1定格量よりも多い所定の第2定格量である場合に、加熱手段を第1熱量よりも大きい所定の第2熱量で制御して被調理物を調理する。通常時は第1調理モードで調理して、調理油から生じる汚れを被調理物に持ち出させて調理油の劣化を抑えることができるが、第1調理モードでは油温が低下しやすく連続的な調理に向かない。よって、大量の被調理物を連続調理する場合には、第2調理モードに切り替えて連続調理できるようになっている。
ここでは油槽の上側に、第1油量と第2油量との差分量の調理油を収容する増油タンクを備えており、第1調理モードから第2調理モードへの切替は、増油タンクと油槽とを接続する増油管に設けた手動バルブを開弁して、増油タンクから差分量の調理油を油槽に供給させることで行われる。
一方、第2調理モードから第1調理モードへの切替は、手動バルブを閉弁した状態で、第2油量の調理油をフィルタリングタンクに排出し、フィルタリングタンクと増油タンクとの間に配設した給油経路のポンプを駆動させる。すると、フィルタリング後の調理油が給油経路を介して空の増油タンクに供給されて差分量が供給され、差分量を超えた第1油量の調理油が増油タンクからオーバーフローして油槽に供給される。
【先行技術文献】
【特許文献】
【0003】
特開2022-133909号公報
【発明の概要】
【発明が解決しようとする課題】
【0004】
しかし、店舗によっては、客足がさほど伸びず、油量の多い第2調理モードでの調理が長期間行われない場合がある。この場合、増油タンク内の差分量の調理油が使用されることなく放置されるため、増油タンク内や増油管内で調理油が劣化して固形化し、第2調理モードへの切替が行えなくなるおそれがあった。
【0005】
そこで、本開示は、増油タンクが空となる第2調理モードでの調理が長期間行われないことがあっても、増油タンク内の調理油の劣化及び固形化を防止して第2調理モードへの切替を確実に行うことができるフライヤーを提供することを目的としたものである。
【課題を解決するための手段】
【0006】
上記目的を達成するために、本開示は、調理油を収容する油槽と、
前記油槽に設けられ、調理油を加熱する加熱手段と、
前記油槽内の調理油温度を検出する温度検出手段と、
前記油槽へ収容される調理油が所定の第1油量である場合に前記加熱手段を所定の第1熱量で制御して被調理物を調理する第1調理モードと、調理油が前記第1油量よりも多い所定の第2油量である場合に前記加熱手段を前記第1熱量よりも大きい所定の第2熱量で制御して被調理物を調理する第2調理モードとがそれぞれ実行可能な制御手段と、
前記制御手段へ電源を投入するための主電源スイッチと、
前記油槽における調理油の収容部よりも上側に設けられて、前記第1油量と前記第2油量との差分量の調理油が収容可能で、前記差分量を超えた量の調理油を前記油槽に供給するオーバーフロー部を備えると共に、手動で開閉操作可能な増油バルブを備えた増油管を介して前記油槽と接続される増油タンクと、
前記増油バルブに設けられ、前記増油バルブの開閉状態を検出する増油バルブ開閉検出手段と、
前記油槽の下側に設けられ、前記油槽内から排油管を介して排出された調理油をフィルタリングするフィルタリングタンクと、
前記フィルタリングタンクと前記増油タンクとを接続する給油経路と、
前記給油経路に設けられるポンプと、を含み、
前記第2油量の調理油を前記油槽から前記フィルタリングタンクに排出した後、前記ポンプを駆動させて前記フィルタリングタンク内の調理油を前記給油経路を介して前記増油タンクに供給することで、前記差分量の調理油を前記増油タンクに収容させると共に、前記差分量を超えた前記第1油量の調理油を前記増油タンクから前記オーバーフロー部を介して前記油槽に供給可能としたフライヤーである。
そして、前記制御手段は、前記主電源スイッチがONされると、前記温度検出手段により検出される前記調理油温度が所定温度以上であるか否かを判別し、
前記調理油温度が前記所定温度以上である場合、前記増油バルブ開閉検出手段により前記増油バルブの開弁が検出されてから前記増油タンク内の所定量の調理油が前記油槽に供給されるまで、少なくとも前記加熱手段の運転を禁止することを特徴とする。
本開示の別の態様は、上記構成において、前記制御手段は、前記主電源スイッチがONされて前記調理油温度が前記所定温度以上である場合、前記増油バルブの開弁が検出されてから前記所定量の調理油が前記油槽に供給される所要時間が経過するまで、少なくとも前記加熱手段の運転を禁止することを特徴とする。
本開示の別の態様は、上記構成において、前記所定量は、前記差分量であることを特徴とする。
本開示の別の態様は、上記構成において、前記排油管には、手動で開閉操作可能な排油バルブが設けられ、前記排油バルブには、前記排油バルブの開閉状態を検出する排油バルブ開閉検出手段が設けられており、
前記制御手段は、前記主電源スイッチがONされた状態で前記排油バルブ開閉検出手段により前記排油バルブの開弁が検出されると、前記主電源スイッチがOFFされるまで、少なくとも前記加熱手段の運転を禁止することを特徴とする。
本開示の別の態様は、上記構成において、前記制御手段は、前記主電源スイッチがONされた状態で調理油のフィルタリングが所定時間行われないと、前記排油バルブが開弁されて前記主電源スイッチがOFFされるまで、少なくとも前記加熱手段の運転を禁止することを特徴とする。
【発明の効果】
【0007】
本開示によれば、調理油温度が高い状態での主電源の投入時には、増油タンク内の所定量の調理油が油槽に供給されるまで加熱手段の運転が禁止されるので、作業者に増油タンク内の調理油を油槽へ排出させる操作を促すことができる。よって、増油タンクが空となる第2調理モードでの調理が長期間行われないことがあっても、増油タンク内の調理油の劣化及び固形化を防止して第2調理モードへの切替を確実に行うことができる。
本開示の別の態様によれば、上記効果に加えて、制御手段は、増油バルブの開弁が検出されてから所定量の調理油が油槽に供給される所要時間が経過するまで加熱手段の運転を禁止するので、増油タンク内の所定量の調理油を油槽へ確実に供給することができる。
本開示の別の態様によれば、上記効果に加えて、所定量を差分量としているので、増油タンクを確実に空にすることができる。
本開示の別の態様によれば、上記効果に加えて、制御手段は、主電源スイッチがONされた状態で排油バルブの開弁が検出されると、主電源スイッチがOFFされるまで加熱手段の運転を禁止するので、フィルタリングを行って増油タンク内に調理油が収容された状態で確実に主電源スイッチをONさせて、調理油温度が高い状態では作業者に増油タンク内の調理油を油槽へ排出させる操作を促すことができる。また、主電源スイッチがOFFされないままフィルタリングが行われて増油タンク内の調理油が使用されない第1調理モードが長期間行われることも防止できる。
本開示の別の態様によれば、上記効果に加えて、制御手段は、主電源スイッチがONされた状態で調理油のフィルタリングが所定時間行われないと、排油バルブが開弁されて主電源スイッチがOFFされるまで加熱手段の運転を禁止するので、定期的なフィルタリングを実行させることができる。
【図面の簡単な説明】
【0008】
フライヤーの概略図である。
主電源投入時のフィルタリングのフローチャートである。
主電源投入時の立上げ制御のフローチャートである。
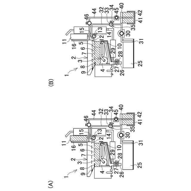
フィルタリングの状態を示す説明図で、(A)は調理油をフィルタリングタンクに落とし込んだ状態、(B)はポンプアップした調理油を増油タンクに収容した状態をそれぞれ示す。
(A)はフィルタリングが終了した状態、(B)は増油タンクの調理油を油槽に落とし込んだ状態を示す説明図である。
【発明を実施するための形態】
【0009】
以下、本開示の実施の形態を図面に基づいて説明する。
図1は、フライヤーの一例を示す概略図である。このフライヤー1は、図示しない器体内の上部に、油槽2を備えている。この油槽2内の底部には、パルス燃焼器3が設けられている。パルス燃焼器3は、燃焼室4とテールパイプ5とを有している。パルス燃焼器3は、本開示の加熱手段の一例である。
油槽2は、第1調理部6と第2調理部7とを有している。第1調理部6は、パルス燃焼器3の上側に形成され、上下方向に開口面積が変化しない角筒状となっている。第2調理部7は、第1調理部6の上側に位置し、第1調理部6の上端から上方へ向かうに従って前後左右へ拡開する逆テーパ状に形成されている。第2調理部7の上端までが調理油の収容部となる。第1調理部6の上端面付近には、第1油面温度センサ8が設けられている。第2調理部7の上端面付近には、第2油面温度センサ9が設けられている。油槽2内でパルス燃焼器3のテールパイプ5の近傍には、調理用温度センサ10が設けられている。調理用温度センサ10は、本開示の温度検出手段の一例である。
【0010】
油槽2の後方(図1の右側)で器体の上部には、調理油を収容する増油タンク11が設けられている。増油タンク11の下面には、油槽2の後面で第2調理部7と繋がる増油管12が接続されている。増油管12には、増油バルブ13が設けられている。増油バルブ13は、増油レバー14によって手動で開閉操作可能となっている。増油バルブ13には、開閉状態を検出する増油検出スイッチ15が設けられている。増油検出スイッチ15は、本開示の増油バルブ開閉検出手段の一例である。
増油タンク11の前面には、オーバーフロー部16が設けられている。オーバーフロー部16は、増油タンク11の前面に接続される配管や、増油タンク11の前面へ上下方向に形成される流路等によって形成される。オーバーフロー部16の上端は、増油タンク11の前面上部に形成された開口に接続されて垂下している。オーバーフロー部16の下端は、油槽2内の後部内面に繋がっている。よって、増油タンク11内の調理油が開口の下縁を超えると、オーバーフローした調理油は、オーバーフロー部16から油槽2の後部内面を伝って油槽2内に流下する。
ここで、開口の下縁を超えない満杯状態での増油タンク11の調理油の収容量は、後述する第1調理モードで規定される調理油の第1油量と、第2調理モードで規定される調理油の第2油量との差分量、すなわち、第1油量から第2油量への増油分となっている。
(【0011】以降は省略されています)
この特許をJ-PlatPat(特許庁公式サイト)で参照する
関連特許
個人
箸
1か月前
個人
家具
5か月前
個人
椅子
3か月前
個人
自助箸
7か月前
個人
掃除機
9か月前
個人
掃除用具
4か月前
個人
屋外用箒
7か月前
個人
体洗い具
11か月前
個人
枕
9か月前
個人
ソファー
2か月前
個人
掃除道具
9か月前
個人
多用途紐
1か月前
個人
枕
5か月前
個人
耳拭き棒
11か月前
個人
ハンガー
7か月前
個人
開閉トング
6か月前
個人
物品
3か月前
個人
片手代替具
12か月前
個人
省煙消臭器
9か月前
個人
掃除シート
10か月前
個人
組立式棚板
8か月前
個人
ゴミ袋保持枠
7か月前
個人
経典表示装置
5か月前
個人
洗面台
11か月前
個人
靴ベラ
2か月前
個人
紙コップ 蓋
2か月前
個人
中身のない枕
8か月前
個人
シャワー装置
6か月前
個人
バターナイフ
1か月前
個人
転倒防止装置
5か月前
個人
受け皿
6か月前
個人
簡易防災トイレ
2か月前
個人
補助寝具
8か月前
個人
ホバー掃除機。
6か月前
個人
展示装置
17日前
個人
コーナーシール
10か月前
続きを見る
他の特許を見る