TOP
|
特許
|
意匠
|
商標
特許ウォッチ
Twitter
他の特許を見る
10個以上の画像は省略されています。
公開番号
2025178317
公報種別
公開特許公報(A)
公開日
2025-12-05
出願番号
2025153053,2024038931
出願日
2025-09-16,2020-07-30
発明の名称
光源ユニット及び照明器具
出願人
パナソニックIPマネジメント株式会社
代理人
弁理士法人北斗特許事務所
主分類
F21V
23/04 20060101AFI20251128BHJP(照明)
要約
【課題】無線信号の受信感度の向上を図りつつ配光特性の均斉化を図る。
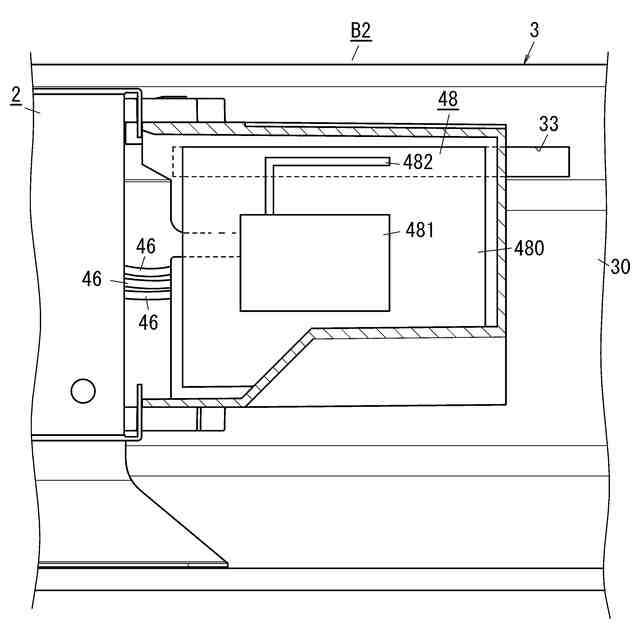
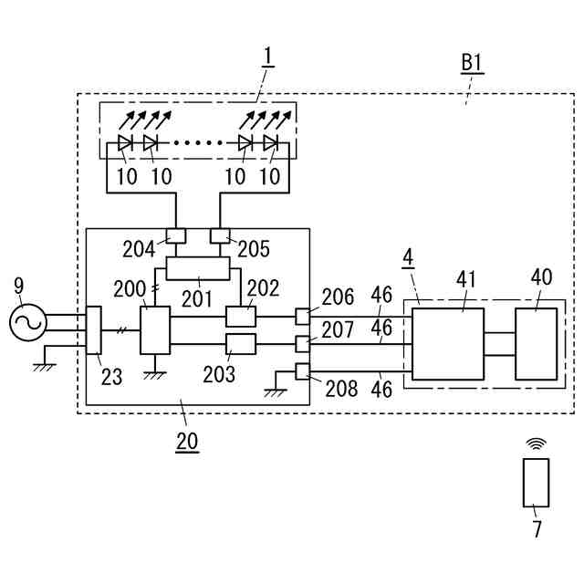
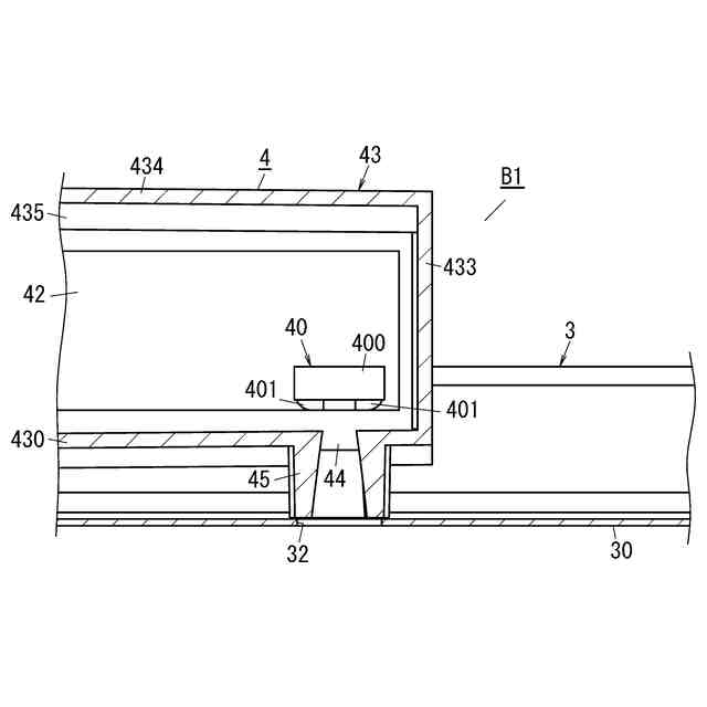
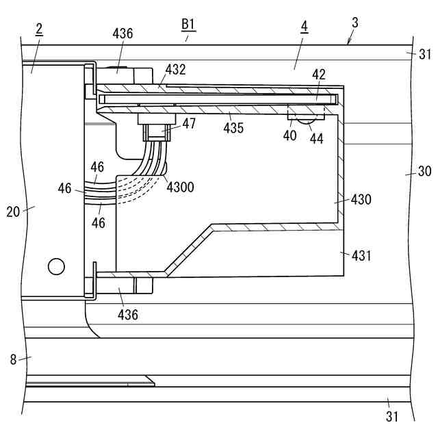
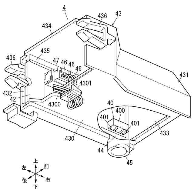
【解決手段】光源ユニットB1は、光源モジュールと、電源装置と、取付板3と、通信装置4とを備える。取付板3は、表面に光源モジュールが取り付けられ、裏面に電源装置が取り付けられる。通信装置4は、赤外線を媒体とする無線信号を受信する受信部40と、受信部40を実装した回路基板42と、回路基板42を収容するケース43と、を有する。取付板3は、表面から裏面まで貫通し、無線信号を通過させる貫通孔32を有している。貫通孔32は、取付板3の厚み方向から見て、光源モジュール1と重ならない位置に設けられている。ケース43は、取付板3の厚み方向に沿って貫通孔32と対向する開口部44を有し、受信部40を開口部44を介して貫通孔32と対向させるように、回路基板42を立てた状態で収容する。
【選択図】 図4
特許請求の範囲
【請求項1】
複数の発光素子及び前記複数の発光素子が実装される基板を有する光源モジュールと、
前記複数の発光素子に電流を供給して発光させる電源装置と、
表面に前記光源モジュールが取り付けられ、裏面に前記電源装置が取り付けられる取付板と、
無線信号を受信し、前記無線信号に含まれる制御情報を前記電源装置に伝達する通信装置と、
を備え、
前記電源装置は、前記制御情報に応じて前記電流の供給を調整するように構成され、
前記取付板は、前記表面から前記裏面まで貫通し、前記無線信号を通過させる貫通孔を有し、
前記貫通孔は、前記取付板の厚み方向から見て、前記光源モジュールと重ならない位置に設けられており、
前記通信装置は、赤外線を媒体とする前記無線信号を受信する受信部と、前記受信部を実装した回路基板と、前記回路基板を収容するケースと、を有し、
前記ケースは、前記取付板の厚み方向に沿って前記貫通孔と対向する開口部を有し、前記受信部を前記開口部を介して前記貫通孔と対向させるように、前記回路基板を立てた状態で収容する、
光源ユニット。
続きを表示(約 330 文字)
【請求項2】
前記取付板及び前記基板は、それぞれ長尺に形成されており、
前記貫通孔は、前記取付板の短手方向に沿って前記基板と隣り合う位置に設けられている、
請求項1記載の光源ユニット。
【請求項3】
前記貫通孔は、円形に形成されている、
請求項1又は2記載の光源ユニット。
【請求項4】
透光性を有し、前記光源モジュールを覆うように前記取付板に取り付けられるカバーを備える、
請求項1-3のいずれか1項に記載の光源ユニット。
【請求項5】
請求項1-4のいずれかの光源ユニットと、
前記光源ユニットを支持する器具本体と、
を備える、
照明器具。
発明の詳細な説明
【技術分野】
【0001】
本開示は、光源ユニット及び照明器具に関し、より詳細には、無線信号を受信し、当該無線信号に応じて動作する光源ユニット、及び当該光源ユニットを有する照明器具に関する。
続きを表示(約 1,400 文字)
【背景技術】
【0002】
従来例として特許文献1記載の光源ユニットを例示する。特許文献1記載の光源ユニット(以下、従来例という。)は、リモートコントローラからの信号を受光するための受光面を有する受光器と、光源モジュールと、光源モジュールを点灯させる電源装置と、取付板と、透光性カバーとを備える。
【0003】
光源モジュールは、長方形の基板の一面に複数の発光素子(例えば、LED)が実装されて構成されている。取付板は、第1取付面に光源モジュールが取り付けられる。電源装置及び受光器は、第1取付面の反対側の面である、取付板の第2取付面に取り付けられる。透光性カバーは、第1取付面を覆うように取付板に取り付けられる。
【0004】
取付板には、開口窓が形成される。開口窓は、取付板の第1取付面から第2取付面まで貫通している。基板には開口穴が形成されている。受光器の受光面は、取付板の開口窓及び基板の開口穴を通して透光性カバーに臨んでいる。
【先行技術文献】
【特許文献】
【0005】
特開2016-152120号公報
【発明の概要】
【発明が解決しようとする課題】
【0006】
ところで、従来例においては、基板に形成される開口穴が、基板に実装された発光素子の間に形成されている。そのため、開口穴を挟んで隣り合う2つの発光素子の間隔が、開口穴の大きさに制約を受けてしまう。なお、開口穴を小さくすると受光器が赤外線信号(無線信号)を受光する感度が低下する可能性がある。
【0007】
したがって、従来例の構成では、赤外線信号(無線信号)の受信感度の低下を抑えつつ、複数の発光素子の間隔を均一にして配光特性の均斉化を図ることが困難になる場合がある。
【0008】
本開示の目的は、無線信号の受信感度の向上を図りつつ配光特性の均斉化を図ることができる光源ユニット及び照明器具を提供することである。
【課題を解決するための手段】
【0009】
本開示の一態様に係る光源ユニットは、複数の発光素子及び前記複数の発光素子が実装される基板を有する光源モジュールと、前記複数の発光素子に電流を供給して発光させる電源装置とを備える。前記光源ユニットは、表面に前記光源モジュールが取り付けられ、裏面に前記電源装置が取り付けられる取付板と、無線信号を受信し、前記無線信号に含まれる制御情報を前記電源装置に伝達する通信装置とを備える。前記電源装置は、前記制御情報に応じて前記電流の供給を調整するように構成されている。前記取付板は、前記表面から前記裏面まで貫通し、前記無線信号を通過させる貫通孔を有している。前記貫通孔は、前記取付板の厚み方向から見て、前記光源モジュールと重ならない位置に設けられている。前記通信装置は、赤外線を媒体とする前記無線信号を受信する受信部と、前記受信部を実装した回路基板と、前記回路基板を収容するケースと、を有する。前記ケースは、前記取付板の厚み方向に沿って前記貫通孔と対向する開口部を有し、前記受信部を前記開口部を介して前記貫通孔と対向させるように、前記回路基板を立てた状態で収容する。
【0010】
本開示の一態様に係る照明器具は、光源ユニットと、前記光源ユニットを支持する器具本体とを備える。
【発明の効果】
(【0011】以降は省略されています)
この特許をJ-PlatPat(特許庁公式サイト)で参照する
関連特許
個人
照明装置
28日前
個人
室外機器
5か月前
個人
照明システム
5か月前
個人
消火器設置表示装置
1か月前
個人
気泡を用いた遊具。
7か月前
個人
車載機器の通気構造
2か月前
株式会社遠藤照明
照明器具
6か月前
株式会社遠藤照明
照明装置
2か月前
株式会社小糸製作所
車両用灯具
1か月前
デンカ株式会社
照明装置
5か月前
日亜化学工業株式会社
面状光源
8日前
株式会社小糸製作所
車両用灯具
1か月前
能美防災株式会社
表示灯
2か月前
個人
LEDライト
5か月前
デンカ株式会社
道路用照明
5か月前
株式会社小糸製作所
誘導装置
2か月前
フルトラム株式会社
光学機器
1か月前
株式会社小糸製作所
投光装置
2か月前
株式会社小糸製作所
投光装置
2か月前
スタンレー電気株式会社
照射用光源
2か月前
アクア株式会社
冷蔵庫
4か月前
株式会社小糸製作所
車両用灯具
6か月前
株式会社小糸製作所
車両用灯具
1か月前
株式会社小糸製作所
車両用灯具
6か月前
株式会社小糸製作所
車両用灯具
8か月前
株式会社小糸製作所
車両用灯具
1か月前
株式会社小糸製作所
車両用灯具
1か月前
株式会社小糸製作所
車両用灯具
1か月前
株式会社小糸製作所
車両用灯具
4か月前
株式会社小糸製作所
車両用灯具
8か月前
株式会社小糸製作所
車両用灯具
1か月前
株式会社小糸製作所
車両用灯具
5か月前
株式会社小糸製作所
車両用灯具
5か月前
株式会社小糸製作所
表示用灯具
2か月前
株式会社小糸製作所
車両用灯具
5か月前
株式会社小糸製作所
表示用灯具
2か月前
続きを見る
他の特許を見る