TOP
|
特許
|
意匠
|
商標
特許ウォッチ
Twitter
他の特許を見る
10個以上の画像は省略されています。
公開番号
2025177915
公報種別
公開特許公報(A)
公開日
2025-12-05
出願番号
2024085073
出願日
2024-05-24
発明の名称
照明器具
出願人
岩崎電気株式会社
代理人
弁理士法人旺知国際特許事務所
主分類
F21S
8/08 20060101AFI20251128BHJP(照明)
要約
【課題】基板と電源の間の熱影響を抑制可能な簡易且つコンパクトな構造を得るとともに、配線接続作業を容易にすること。
【解決手段】筐体20は、長手方向に直交する方向の一方側に開口部22を有すると共に他方側に底部24を有し、底部24に設けられたボス25に電源31が取り付けられ、長手方向のいずれか一方に第2電源供給線L2が通る挿通穴6を有し、第2電源供給線L2は、開口部22側から電源31に接続される。筐体20の電源31よりも開口部33側に基板載置部27が長手方向に沿って設けられ、基板載置部27に載置された発光素子基板41は、電源31と直交する方向に重なり、且つ、電源31との間に所定の隙間Saを空けた位置に配置され、基板載置部27の周囲に、カバー8が配置される段差部28が設けられる。
【選択図】図5
特許請求の範囲
【請求項1】
発光素子が実装された基板、電源、前記基板及び前記電源を収容する長手方向を有する箱状の収容部、及び、前記収容部の開口部を覆うカバーを備える照明器具において、
前記収容部は、前記長手方向に直交する方向の一方側に前記開口部を有すると共に他方側に底部を有し、前記底部に設けられたボスに前記電源が取り付けられ、前記長手方向のいずれか一方に電源供給線が通る挿通穴を有し、
前記電源供給線は、前記開口部側から前記電源に接続され、
前記収容部の前記電源よりも開口部側に前記基板が載置される基板載置部が前記長手方向に沿って設けられ、
前記基板載置部に載置された前記基板は、前記電源と前記直交する方向に重なり、且つ、前記電源との間に所定の隙間を空けた位置に配置され、
前記基板載置部の周囲に、前記カバーが配置される段差部が設けられる
照明器具。
続きを表示(約 580 文字)
【請求項2】
前記基板には、前記電源に接続された配線が前記基板載置部側から接続され、
前記配線の一部は、前記基板載置部に配置される
請求項1に記載の照明器具。
【請求項3】
前記基板は、前記長手方向に延びる縁部に凹部を有し、
前記配線は、前記凹部を通って前記基板に接続される
請求項2に記載の照明器具。
【請求項4】
前記長手方向に複数の前記基板が並ぶ
請求項1に記載の照明器具。
【請求項5】
前記底部に、ソケットを有する照明制御関連デバイスを照明器具の外側から取付可能なソケット取付部が設けられる
請求項1に記載の照明器具。
【請求項6】
前記基板と前記直交する方向に重なる領域に、前記電源、前記ソケット取付部、及び前記電源供給線が接続される端子台が収まる
請求項5に記載の照明器具。
【請求項7】
前記基板には、前記発光素子を前記長手方向に間隔を空けて配置した列が、少なくとも二列配置されるとともに、各発光素子の配光を制御するレンズが配置され、
前記レンズは、隣り合う列の一方の列の前記発光素子の光を、他方の列側に向けるように配光を制御する
請求項1から6のいずれか一項に記載の照明器具。
発明の詳細な説明
【技術分野】
【0001】
本発明は、照明器具に関する。
続きを表示(約 2,100 文字)
【背景技術】
【0002】
発光素子が実装された基板、電源、箱状の収容部、及び、収容部の開口部を覆うカバーを備えた照明器具が知られている。この種の照明器具として、発光素子が実装された第1の基板と、発光素子を点灯させる回路群からなる第2の基板を備えた街路灯(防犯灯)が開示されている(例えば特許文献1)。この街路灯では、第1の基板を器具本体に熱的に接続し、第2の基板を、ロッキングサポートにより器具本体から浮いた位置に支持し、第1の基板と第2の基板の間に仕切板を設けることで、第1の基板と第2の基板の間の熱影響を抑制している。
【先行技術文献】
【特許文献】
【0003】
国際公開第2013/046333号
【発明の概要】
【発明が解決しようとする課題】
【0004】
ところで、基板と電源とを重ねたレイアウトにすることで、器具正面視で照明器具の面積を抑えることができ、照明器具の小型化や積雪荷重の低減などに有利になる。
しかし、従来の技術では、基板と電源の間の熱影響を抑制するための部品点数が多くなり、構造の複雑化、及び、組立や設置時の作業の繁雑化を招き、配線接続作業が繁雑になるおそれがある。
本発明は、基板と電源の間の熱影響を抑制可能な簡易且つコンパクトな構造を得るとともに、配線接続作業を容易にすることを目的とする。
【課題を解決するための手段】
【0005】
発光素子が実装された基板、電源、前記基板及び前記電源を収容する長手方向を有する箱状の収容部、及び、前記収容部の開口部を覆うカバーを備える照明器具において、前記収容部は、前記長手方向に直交する方向の一方側に前記開口部を有すると共に他方側に底部を有し、前記底部に設けられたボスに前記電源が取り付けられ、前記長手方向のいずれか一方に電源供給線が通る挿通穴を有し、前記電源供給線は、前記開口部側から前記電源に接続され、前記収容部の前記電源よりも開口部側に前記基板が載置される基板載置部が前記長手方向に沿って設けられ、前記基板載置部に載置された前記基板は、前記電源と前記直交する方向に重なり、且つ、前記電源との間に所定の隙間を空けた位置に配置され、前記基板載置部の周囲に、前記カバーが配置される段差部が設けられる照明器具を提供する。
【発明の効果】
【0006】
本発明によれば、基板と電源の間の熱影響を抑制可能な簡易且つコンパクトな構造を得るとともに、配線接続作業を容易にすることができる。
【図面の簡単な説明】
【0007】
本発明の実施形態に係る照明器具の斜視図である。
照明器具の側面図である。
照明器具を上方から示す図である。
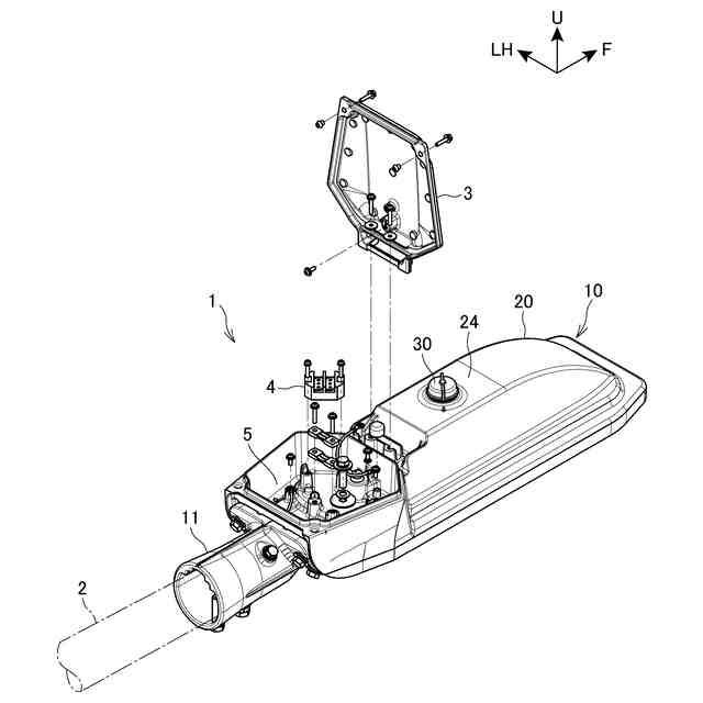
照明器具の分解斜視図である。
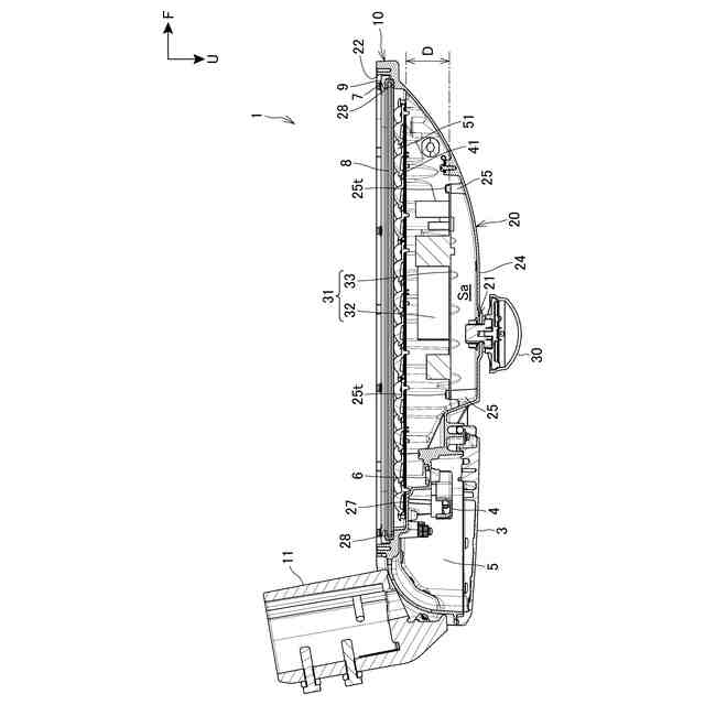
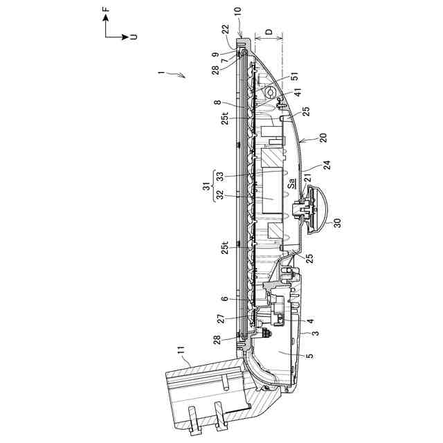
照明器具の側断面図である。
電源を制御装置側から周辺構成と共に示す図である。
図6のVII-VII断面図である。
図6のVIII-VIII断面図である。
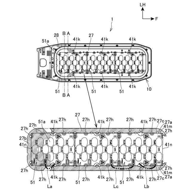
器具正面視で照明器具を示す図である。
発光素子及びレンズを筐体の段差部と共に模式的に示す図である。
【発明を実施するための形態】
【0008】
以下、図面を参照して本発明の実施形態について説明する。
図1は、本発明の実施形態に係る照明器具1の斜視図であり、図2は、照明器具1の側面図であり、図3は、照明器具1を上方から示す図である。
照明器具1は、道路用照明器具として使用され、道路灯とも称される。照明器具1は、道路照明の用途以外に使用してもよく、例えば、駐車場照明、公園照明、街路照明及び景観照明などの用途に使用してもよい。
【0009】
図1から図3に示すように、照明器具1は、器具本体10と、器具本体10を支柱2に取り付けるための支柱取付部11を備える。器具本体10は、長手方向を有する薄型の箱形状に形成された筐体20を備える。筐体20は、照明器具1の前後方向の長さLが最も長く、上下方向の長さである高さHが、照明器具1の左右方向の長さである幅Wよりも短い。
つまり、照明器具1は、上下方向に薄型で前後方向に延びるコンパクトな形状に形成されている。図1を含む各図において、符号Fは照明器具1の前方向を示し、符号Uは上方向を示し、符号LHは左方向を示している。
【0010】
筐体20の後上部には、開閉自在な蓋体3が設けられる。図1に示すように、蓋体3を開くと、端子台4を収容する配線接続室5が露出する。端子台4には、後述する電源供給線L1,L2(図7)が接続される。筐体20の上面のうち、蓋体3から離間する位置には制御装置30が取り付けられる。
筐体20、支柱取付部11及び蓋体3は、アルミニウムやアルミニウム合金などからなる金属製の鋳造物で形成される。なお、筐体20、支柱取付部11及び蓋体3のいずれかを、耐食性及び強度を向上させた強化プラスチックなどの非金属材料で形成してもよい。
(【0011】以降は省略されています)
この特許をJ-PlatPat(特許庁公式サイト)で参照する
関連特許
岩崎電気株式会社
照明器具
3日前
個人
照明装置
1か月前
個人
照明システム
5か月前
個人
車載機器の通気構造
2か月前
個人
消火器設置表示装置
1か月前
株式会社遠藤照明
照明装置
2か月前
株式会社小糸製作所
車両用灯具
2か月前
日亜化学工業株式会社
面状光源
11日前
株式会社小糸製作所
車両用灯具
2か月前
能美防災株式会社
表示灯
2か月前
スタンレー電気株式会社
照射用光源
2か月前
フルトラム株式会社
光学機器
2か月前
株式会社小糸製作所
投光装置
2か月前
株式会社小糸製作所
投光装置
2か月前
アクア株式会社
冷蔵庫
4か月前
株式会社小糸製作所
誘導装置
2か月前
株式会社小糸製作所
車両用灯具
3日前
株式会社小糸製作所
車両用灯具
5か月前
株式会社小糸製作所
表示用灯具
2か月前
株式会社小糸製作所
車両用灯具
1か月前
株式会社小糸製作所
車両用灯具
1か月前
株式会社小糸製作所
車両用灯具
1か月前
株式会社小糸製作所
表示用灯具
2か月前
株式会社小糸製作所
車両用灯具
1か月前
株式会社小糸製作所
車両用灯具
1か月前
株式会社小糸製作所
車両用灯具
5か月前
オムロン株式会社
発光エンブレム
1か月前
日東電工株式会社
照明装置
1か月前
株式会社北井地所
照明装置
2か月前
日本精機株式会社
照明装置及び表示装置
10日前
株式会社小糸製作所
車両用前照灯
2か月前
スタンレー電気株式会社
照明装置
2か月前
東芝ライテック株式会社
照明装置
4か月前
シャープ株式会社
照明装置
3日前
三協立山株式会社
照明付きポール
3か月前
株式会社ユーシン
表示・照明装置
2か月前
続きを見る
他の特許を見る