TOP
|
特許
|
意匠
|
商標
特許ウォッチ
Twitter
他の特許を見る
10個以上の画像は省略されています。
公開番号
2025177603
公報種別
公開特許公報(A)
公開日
2025-12-05
出願番号
2024084597
出願日
2024-05-24
発明の名称
ウエーハの加工方法、及びチップの製造方法
出願人
株式会社ディスコ
代理人
インフォート弁理士法人
主分類
H01L
21/301 20060101AFI20251128BHJP(基本的電気素子)
要約
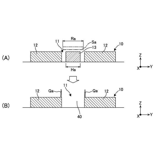
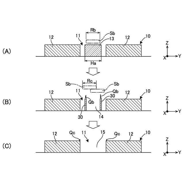
【課題】ウエーハの分割予定ラインに沿って加工溝を形成する際にバリを低減する。
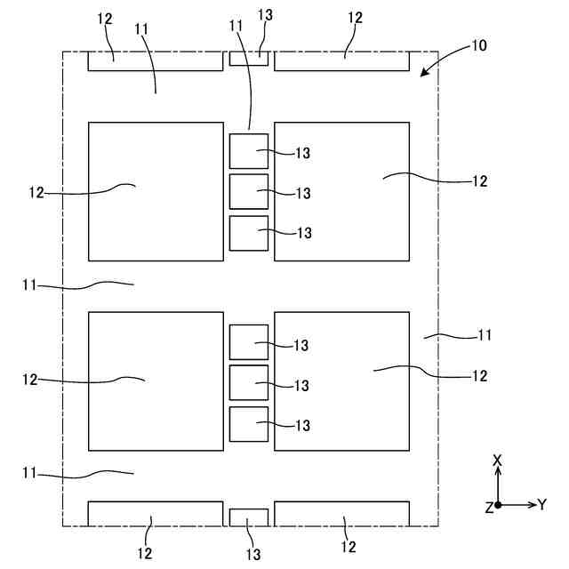
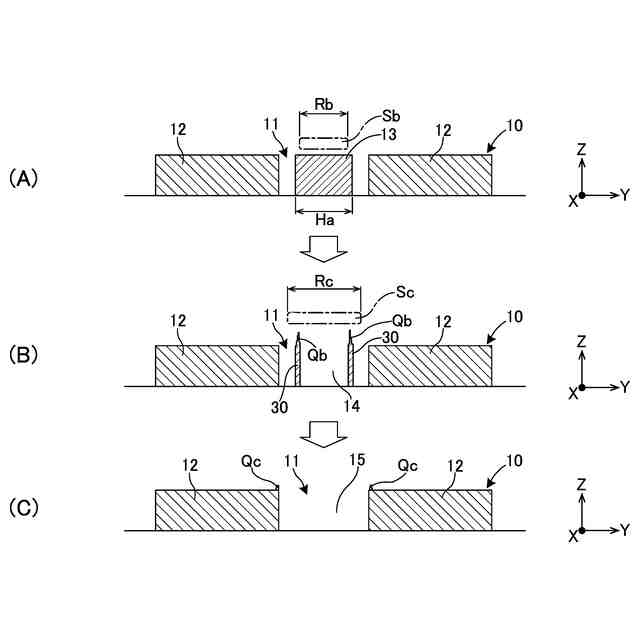
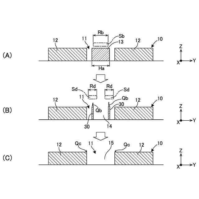
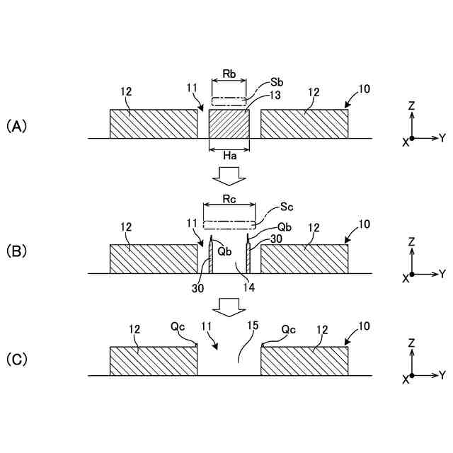
【解決手段】分割予定ライン(11)に沿ってウエーハ(10)に加工溝を形成するウエーハの加工方法であって、分割予定ラインの少なくとも一部には構造物(13)が形成され、構造物の分割予定ラインの幅方向の少なくとも一端を含む端部(30)を残す第一加工溝(14)を形成する第一加工ステップと、分割予定ラインに沿って第一加工ステップで残存した端部を除去する第二加工溝(15)を形成する第二加工ステップと、を行う。
【選択図】図6
特許請求の範囲
【請求項1】
分割予定ラインに沿ってウエーハに加工溝を形成するウエーハの加工方法であって、
該分割予定ラインの少なくとも一部には構造物が形成され、
該構造物の該分割予定ラインの幅方向の少なくとも一端を含む端部を残す第一加工溝を形成する第一加工ステップと、
該分割予定ラインに沿って該第一加工ステップで残存した該端部を除去する第二加工溝を形成する第二加工ステップと、
を備えるウエーハの加工方法。
続きを表示(約 570 文字)
【請求項2】
該第一加工溝と、該第二加工溝と、は、ウエーハにレーザ光線を照射することで形成されることを特徴とする請求項1に記載のウエーハの加工方法。
【請求項3】
該第一加工ステップで除去される該構造物の体積は、該第二加工ステップで除去される該構造物の体積より大きいことを特徴とする請求項1に記載のウエーハの加工方法。
【請求項4】
該第二加工ステップにおいて照射される該レーザ光線の出力は、該第一加工ステップで照射される該レーザ光線の出力より小さいことを特徴とする請求項1に記載のウエーハの加工方法。
【請求項5】
ウエーハに照射される位置における該レーザ光線の隣接する集光スポットの中心間の距離は、該第一加工ステップの方が該第二加工ステップよりも小さいことを特徴とする請求項1に記載のウエーハの加工方法。
【請求項6】
該第一加工ステップにおいて残存させる該構造物は、該構造物の該分割予定ラインの幅方向の長さの2%以上、40%以下であることを特徴とする請求項1から5のいずれかに記載のウエーハの加工方法。
【請求項7】
請求項1に記載の該第一加工溝または該第二加工溝の少なくともいずれかによってウエーハを分割し複数のチップを製造するチップの製造方法。
発明の詳細な説明
【技術分野】
【0001】
本発明は、ウエーハの加工方法、及びチップの製造方法に関する。
続きを表示(約 1,100 文字)
【背景技術】
【0002】
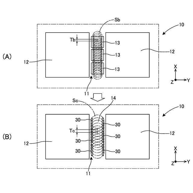
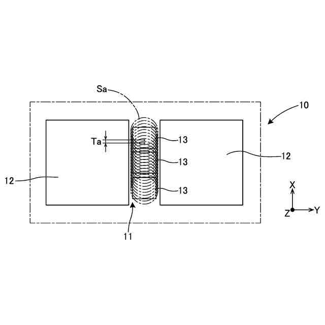
分割予定ライン(ストリート)で区画された複数の領域にチップが形成されているウエーハにおいて、分割予定ライン上に金属パターンなどの構造物が設けられている場合、分割予定ラインに沿って加工溝を形成する際に、分割予定ライン上の構造物に対する加工の結果としてバリが発生してチップに付着する。
【0003】
特許文献1に開示の発明では、分割予定ラインにおいて構造物が形成されていない領域にのみレーザ光線を照射して加工溝を形成し、その後にウエーハの内部に分割予定ラインに沿って改質層を形成し、加工溝と改質層とが形成されたウエーハに外力を付与して分割予定ラインに沿って分割させることによって、分割予定ライン上の構造物に対する加工を起因とするバリの発生を抑制している。
【先行技術文献】
【特許文献】
【0004】
特開2018-098296号公報
【発明の概要】
【発明が解決しようとする課題】
【0005】
構造物が形成されていない領域を避けて加工溝を形成する加工方法は、分割予定ラインに対して構造物が占める範囲が大きい場合には、適用することが難しい。従って、ウエーハの加工において、構造物が存在する箇所に加工溝を形成しながら、チップにおけるバリを低減することが求められている。
【0006】
本発明の課題は、構造物を配置した分割予定ラインに沿って加工溝を形成する際にバリを低減できるウエーハの加工方法、及びチップの製造方法を提供することである。
【課題を解決するための手段】
【0007】
本発明の一態様は、分割予定ラインに沿ってウエーハに加工溝を形成するウエーハの加工方法であって、該分割予定ラインの少なくとも一部には構造物が形成され、該構造物の該分割予定ラインの幅方向の少なくとも一端を含む端部を残す第一加工溝を形成する第一加工ステップと、該分割予定ラインに沿って該第一加工ステップで残存した該端部を除去する第二加工溝を形成する第二加工ステップと、を備える。
【0008】
該第一加工溝と、該第二加工溝と、は、ウエーハにレーザ光線を照射することで形成されることが好ましい。
【0009】
該第一加工ステップで除去される該構造物の体積は、該第二加工ステップで除去される該構造物の体積より大きいことが好ましい。
【0010】
該第二加工ステップにおいて照射される該レーザ光線の出力は、該第一加工ステップで照射される該レーザ光線の出力より小さいことが好ましい。
(【0011】以降は省略されています)
この特許をJ-PlatPat(特許庁公式サイト)で参照する
関連特許
株式会社ディスコ
切削装置
10日前
株式会社ディスコ
加工装置
2日前
株式会社ディスコ
研削装置
9日前
株式会社ディスコ
処理方法
16日前
株式会社ディスコ
掃除器具
16日前
株式会社ディスコ
切削装置
8日前
株式会社ディスコ
掃除器具
16日前
株式会社ディスコ
加工装置
16日前
株式会社ディスコ
加工装置
17日前
株式会社ディスコ
処理装置
8日前
株式会社ディスコ
加工装置
9日前
株式会社ディスコ
加工装置
29日前
株式会社ディスコ
加工方法
3日前
株式会社ディスコ
処理装置
1日前
株式会社ディスコ
加工方法
1日前
株式会社ディスコ
洗浄方法
1日前
株式会社ディスコ
加工方法
1日前
株式会社ディスコ
加工装置
1か月前
株式会社ディスコ
加工装置
1か月前
株式会社ディスコ
結束バンド
1日前
株式会社ディスコ
搬送システム
8日前
株式会社ディスコ
搬送システム
9日前
株式会社ディスコ
搬送システム
16日前
株式会社ディスコ
搬送システム
16日前
株式会社ディスコ
搬送システム
16日前
株式会社ディスコ
シート固着装置
1か月前
株式会社ディスコ
レーザー加工装置
1か月前
株式会社ディスコ
カセットステージ
9日前
株式会社ディスコ
被加工物の加工方法
1か月前
株式会社ディスコ
ウエーハの加工方法
1日前
株式会社ディスコ
スピンドルユニット
29日前
株式会社ディスコ
キャリア板の除去方法
1か月前
株式会社ディスコ
洗浄装置及び洗浄方法
24日前
株式会社ディスコ
シリアル接続システム
29日前
株式会社ディスコ
処理装置及び検知方法
1か月前
株式会社ディスコ
吸引面の中心検出方法
3日前
続きを見る
他の特許を見る