TOP
|
特許
|
意匠
|
商標
特許ウォッチ
Twitter
他の特許を見る
10個以上の画像は省略されています。
公開番号
2025177515
公報種別
公開特許公報(A)
公開日
2025-12-05
出願番号
2024084423
出願日
2024-05-23
発明の名称
整流型GW製ラインボックス
出願人
株式会社エアー・トラスト
代理人
個人
,
個人
主分類
F24F
13/072 20060101AFI20251128BHJP(加熱;レンジ;換気)
要約
【課題】本発明は、室内開口部における長手方向の風量を均一化することができる整流型GW製ラインボックスを提供することを目的とする。
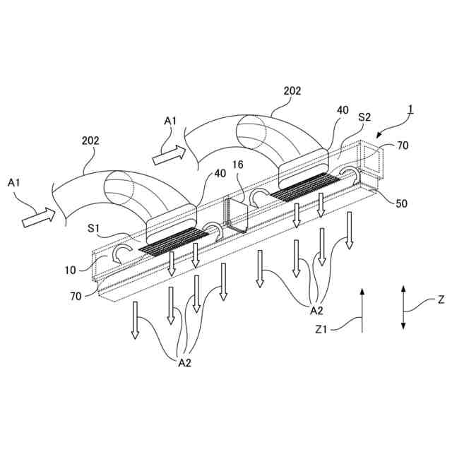
【解決手段】ラインボックス1は、単位空間S1及びS2において、供給口40の先端部から所定の距離だけ乖離した態様において、複数の貫通孔が分散して形成されている板状部材70が配置されており、板状部材70は、平面視において、供給口40の開口面と重複し、かつ、開口面よりも大きい形状に形成されており、単位空間S1及びS2の長手方向の全体ではなく、一部分のみに対応するように配置されている。
【選択図】図2
特許請求の範囲
【請求項1】
中空の箱体状のラインボックス本体と、前記ラインボックス本体と接続され、前記ラインボックス本体から送られた空調空気を排出する筒状の排出部とを有する整流型GW製ラインボックスであって、
前記ラインボックス本体は、
平面視において、前記排出部と略相似形状に構成され、
天井壁部、互いに平行に配置される前壁部及び後壁部、及び、長手方向の両端部をそれぞれ閉塞する一対の側壁部を有し、
前記排出部と接続する部分が開口して接続開口部となっており、前記ラインボックス本体の内側に前記排出部を挿入して固定することが可能に構成されており、
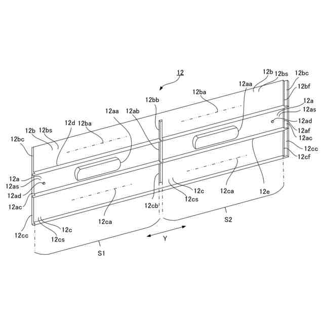
前記ラインボックス本体の長手方向に直行する方向において区切られる少なくとも一つの単位空間を有しており、
前記単位空間において、
前記天井壁部には、空調機からの空調空気を前記ラインボックス本体の内部に取り入れるための開口である天井開口部が、前記長手方向における実質的に中央部分に形成されており、
前記天井開口部には、空調機と接続されるダクトと接続するための筒状の供給口が配置されており、
前記供給口の先端部は前記単位空間に露出しており、
前記供給口の前記先端部と前記接続開口部との間には、前記先端部から所定の距離だけ乖離した態様において、複数の貫通孔が分散して形成されている板状部材が配置されており、
前記板状部材は、平面視において、前記供給口の開口面と重複し、かつ、前記開口面よりも大きい形状に形成されており、前記単位空間の長手方向の全体ではなく、一部分のみに対応するように配置されている、
整流型GW製ラインボックス。
続きを表示(約 1,500 文字)
【請求項2】
前記板状部材において、前記複数の貫通孔は実質的に均一に分散している、請求項1に記載の整流型GW製ラインボックス。
【請求項3】
前記板状部材の全体の面積に対する前記複数の貫通孔によって構成される開口部の合計の面積の割合は、10分の5以上10分の8以下である、請求項1に記載の整流型GW製ラインボックス。
【請求項4】
前記板状部材は、3センチメートル(cm)以上15センチメートル(cm)以下の範囲におけるいずれかの距離だけ前記供給口の前記先端部から乖離して配置されている、請求項1に記載の整流型GW製ラインボックス。
【請求項5】
前記板状部材は、前記供給口の前記先端部と前記接続開口部との実質的に中間の位置に配置されている、請求項1に記載の整流型GW製ラインボックス。
【請求項6】
前記天井開口部は、平面視において、前記ラインボックス本体の長手方向と一致する長手方向を有する形状であり、前記長手方向と直交する幅方向の長さよりも、前記長手方向の長さが大きく形成されている、請求項1に記載の整流型GW製ラインボックス。
【請求項7】
空調機からの空調空気を前記ラインボックス本体へ送るダクトの開口面積よりも、前記供給口の開口面積が小さい、請求項1に記載の整流型GW製ラインボックス。
【請求項8】
前記板状部材は、前記供給口の方向を上方、前記排出口の方向を下方とし、前記ラインボックス本体に取り付けられたときに、両端部の高さが実質的に等しくなるように形成されており、側面視において、直線状の形状、または、両端部が低く中心部が高くなるように折れ曲がった形状、または、両端部が低く中心部が高くなるように形成された曲線状の形状に形成されている、請求項1に記載の整流型GW製ラインボックス。
【請求項9】
前記ラインボックス本体の長手方向の長さと実質的に同一の長さを有し、前記天井壁部、前記前壁部及び前記後壁部の位置関係の固定を補強するための角枠部材を有し、
前記排出部は、前記長手方向を構成し、平行に配置される前板部と後板部を有し、
前記前板部と前記後板部には、高さ方向と実質的に直交する方向において前記排出部の外側に突出する矩形部が配置され、
前記排出部の高さ方向における一部は、前記ラインボックス本体の前記前壁部及び前記後壁部に接する態様において前記ラインボックス本体の内部に挿入され、前記矩形部が前記前壁部及び前記後壁部の側部に接することによって、前記排出部と前記ラインボックス本体との位置関係が規定されるように構成されており、
前記矩形部が前記前壁部及び前記後壁部の前記側部と前記角枠部材との間に挟まれることによって、前記排出部と前記ラインボックス本体との固定状態が維持されるように構成されている、請求項1に記載の整流型GW製ラインボックス。
【請求項10】
前記ラインボックス本体は、長手方向の両端部を閉塞する側壁部を有し、
前記天井壁部、前記前壁部及び前記後壁部の長手方向の両端近傍部は、前記天井壁部、前記前壁部及び前記後壁部の他の部分である壁基部に対して段差を有して低く形成されており、
前記側壁部は、前記天井壁部、前記前壁部及び前記後壁部の前記壁基部の側面と、前記両端近傍部によって、位置決めされるように構成されている、請求項1に記載の整流型GW製ラインボックス。
(【請求項11】以降は省略されています)
発明の詳細な説明
【技術分野】
【0001】
本発明は空調空気を送るダクトに接続されるラインボックスに関する。
続きを表示(約 3,100 文字)
【背景技術】
【0002】
従来、建物の天井裏などに配置した空調機からダクトが延び、そのダクトと接続された箱体(ラインボックス)から、居室等の各空調エリアに形成された開口部(以下、「室内開口部」と呼ぶ。)を介して空調空気を室内へ供給する方式が採用されている。一般的に、室内開口部の開口面は長方形の形状であり、室内開口部と接続されるラインボックスの排出口も、室内開口部の開口面の形状に整合する直方体であった(例えば、特許文献1)。
【先行技術文献】
【特許文献】
【0003】
特開2003-56895公報
【発明の概要】
【発明が解決しようとする課題】
【0004】
図65に示すように、一般的に、ラインボックスは、中空の本体100と筒状の排出口150を含んで構成される。典型的には、矩形の室内開口部200に対して、排出口150は、室内開口部200と合致するように、直方体状の筒状に形成されている。例えば、天井であるRoomCに形成された室内開口部200から空調空気が排出されるように、天井裏にラインボックス1が配置される。ラインボックス1の天井部の開口部110に空調空気Air1が供給されると、空調空気Air1は、本体100の内部及び排出口150を通り、排出空気であるAir2となって室内であるRoomMに供給される。
【0005】
本体100の内部において、Air1は、気圧が低い長手方向の両端側(矢印Yに示す方向)に広がりつつ、室内開口部200を通って、RoomMに向かう。ただし、Air1の大部分は、開口部110の直下に流れる傾向があるから、排出口150の長手方向において、Air2の流量には偏りがある。なお、開口部110が、天井部ではなく、前面(紙面手前側の面)に形成された場合には、Air1は、本体110の内部において、前面と対向する後面に当たり、矢印Y方向へ流れる傾向が強く、Air2は、むしろ、排出口150の長手方向の両端側から排出される流量が大きくなる。この点、従来、室内開口部200からの排出空気の総量が重要視され、排出空気の総量が所定の数値であれば、問題はないものとされていた。
【0006】
しかし、本発明の発明者は、居室等の内部の位置によって排出される風量が異なると、例えば、居室等の内部の位置によって気流、気温及び湿度が異なり、居室等に滞在している人の快適性に影響を与えるとの観点から、室内開口部200の長手方向における位置によって排出空気の風量が不均一であることを問題として見出した。
【0007】
本発明は、上記を踏まえて、室内開口部における長手方向の風量を均一化することができる整流型GW製ラインボックスを提供するものである。
【課題を解決するための手段】
【0008】
第一の発明は、中空の箱体状のラインボックス本体と、前記ラインボックス本体と接続され、前記ラインボックス本体から送られた空調空気を排出する筒状の排出部とを有する整流型GW製ラインボックスであって、前記ラインボックス本体は、平面視において、前記排出部と略相似形状に構成され、天井壁部、互いに平行に配置される前壁部及び後壁部、及び、長手方向の両端部をそれぞれ閉塞する一対の側壁部を有し、前記排出部と接続する部分が開口して接続開口部となっており、前記ラインボックス本体の内側に前記排出部を挿入して固定することが可能に構成されており、前記ラインボックス本体の長手方向に直行する方向において区切られる少なくとも一つの単位空間を有しており、前記単位空間において、前記天井壁部には、空調機からの空調空気を前記ラインボックス本体の内部に取り入れるための開口である天井開口部が、前記長手方向における実質的に中央部分に形成されており、前記天井開口部には、空調機と接続されるダクトと接続するための筒状の供給口が配置されており、前記供給口の先端部は前記単位空間に露出しており、前記供給口の前記先端部と前記接続開口部との間には、前記先端部から所定の距離だけ乖離した態様において、複数の貫通孔が分散して形成されている板状部材が配置されており、前記板状部材は、平面視において、前記供給口の開口面と重複し、かつ、前記開口面よりも大きい形状に形成されており、前記単位空間の長手方向の全体ではなく、一部分のみに対応するように配置されている、整流型GW製ラインボックスである。
【0009】
第一の発明の構成によれば、ラインボックス本体の単位空間ごとに、供給口の先端部と接続開口部の間には、先端部から所定の距離だけ乖離した態様において、板状部材が配置されており、板状部材は、平面視において、天井開口部の開口面と重複し、かつ、開口面よりも大きい形状に形成されている。これにより、供給口から単位空間内に流入した空調空気(以下、「流入気流」と呼ぶ。)は板状部材に当たるように構成されている。そして、板状部材には、複数の貫通孔が形成されている。このため、空調空気の一部は貫通孔を通って排出部へ向かい、他の一部は板状部材の貫通孔ではない部分(以下、「基部」と呼ぶ。)に当たって流れの方向を変える。天井開口部は長手方向における実質的に中央部分に形成されており、流入気流は天井開口部に配置された供給口から板状部材に向かって流れるから、単位空間の長手方向の位置において、供給口と板状部材の間は他の位置よりも気圧が高い。そして、単位空間の長手方向の両端部は相対的に気圧が低い。このため、基部に当たった気流(以下、「反射気流」と呼ぶ。)のベクトルは両端部側へ向かう方向成分を有する。そして、板状部材は、単位空間の長手方向の全体ではなく、一部分のみに対応するように配置されているから、板状部材の領域を外れた反射気流は、気圧の低い排出部側へ向かい、さらに、単位空間の両端部に達した反射気流も気圧の低い排出部側へ向かう。このように、板状部材は、流入気流の一部を単位空間の長手方向における中央部から排出部側に向かわせ、他の一部を単位空間の長手方向の中央部以外の部分を通して排出部側に向かわせるように機能する。さらに、反射気流は供給口と板状部材の間を流れ、そのベクトルは両端部側へ向かう方向成分を有するから、板状部材に向かって流れる流入気流の挙動にも影響を与える。ラインボックス本体において、供給口が位置する方向を上方、排出部が位置する方向を下方とし、供給口と排出部を最短で結ぶ線分の方向を上下方向、上下方向と直交する長手方向を水平方向とすると、流入気流は、直線的に下方に進むのではなく、反射気流の影響を受けて、水平方向の方向成分を有して板状部材に向かう。このため、流入気流は、直線的に下方へ向かって貫通孔を通過するのではなく、水平方向のベクトル成分を有して貫通孔を通過し、貫通孔を通過した後も水平方向のベクトル成分を有する。このように、ラインボックス本体の両端部側へ向かう反射気流に加えて、貫通孔を通過する流入気流も水平方向のべベクトル成分を有するから、排出口から排出される空調空気の風量は、排出口の長手方向において均一化される。
【0010】
第二の発明は、第一の発明の構成において、前記板状部材において、前記複数の貫通孔は実質的に均一に分散している、整流型GW製ラインボックスである。
(【0011】以降は省略されています)
この特許をJ-PlatPat(特許庁公式サイト)で参照する
関連特許
個人
集熱器具
1か月前
株式会社トヨトミ
五徳
1か月前
個人
油ハネ防止カーテン
1か月前
株式会社コロナ
空調装置
3か月前
株式会社コロナ
空調装置
1か月前
株式会社コロナ
加湿装置
2か月前
株式会社コロナ
空調装置
1か月前
個人
UFO型空気清浄機
22日前
株式会社コロナ
空調装置
2か月前
株式会社コロナ
空調装置
2か月前
個人
太陽光パネル傾斜装置
1か月前
株式会社コロナ
風呂給湯機
3か月前
株式会社コロナ
貯湯式給湯機
2か月前
個人
シンプルクーラー
1か月前
株式会社KDW
加熱調理器具
今日
株式会社コロナ
温水暖房装置
1か月前
株式会社コロナ
暖房システム
2か月前
株式会社コロナ
貯湯式給湯機
2か月前
ホーコス株式会社
換気扇取付枠
3か月前
三菱電機株式会社
換気扇
1か月前
三菱電機株式会社
換気扇
1か月前
三菱電機株式会社
換気扇
1か月前
三菱電機株式会社
換気扇
14日前
株式会社パロマ
ガスコンロ
1か月前
株式会社ノーリツ
温水装置
1か月前
株式会社パロマ
ガスコンロ
1か月前
株式会社コロナ
潜熱回収型給湯機
6日前
株式会社ツインバード
加熱調理器
2か月前
株式会社パロマ
ガスコンロ
1か月前
株式会社ノーリツ
給湯装置
2か月前
株式会社ノーリツ
温水装置
1か月前
株式会社トヨトミ
固体燃料燃焼器
21日前
大阪瓦斯株式会社
ガスコンロ
1か月前
株式会社パロマ
湯沸器
2か月前
株式会社ノーリツ
貯湯給湯装置
1か月前
オリオン機械株式会社
空調装置
1か月前
続きを見る
他の特許を見る