TOP
|
特許
|
意匠
|
商標
特許ウォッチ
Twitter
他の特許を見る
公開番号
2025177154
公報種別
公開特許公報(A)
公開日
2025-12-05
出願番号
2024083727
出願日
2024-05-23
発明の名称
水処理拠点の状況診断支援システム
出願人
栗田工業株式会社
代理人
個人
,
個人
主分類
G06Q
50/06 20240101AFI20251128BHJP(計算;計数)
要約
【課題】水処理拠点の状況診断の計算に要する時間を短縮する。
【解決手段】本実施形態による状況診断支援システムは、複数の水処理ユニットを有する水処理拠点の状況診断支援システムであって、前記複数の水処理ユニットの各々について、検知対象の状況を表す複数のシチュエーションノードと観察情報ノードとの関係性をベイジアンネットワークにより表現したユニットモデルを含み、前記水処理拠点を複数の階層に分け、各階層で1つ下の階層のモデル同士の関係性が記述された階層型モデルを記憶する記憶部と、各ノードに設定された確率分布と、入力された観察情報とを用いて確率分布を修正し、状況が発生している可能性が高いシチュエーションノードを選択する演算部と、を備える。前記演算部は複数台のコンピュータを有し、各コンピュータが、各階層の各モデルに割り当てられ、並列に計算を実行する。
【選択図】図1
特許請求の範囲
【請求項1】
複数の水処理ユニットを有する水処理拠点の状況診断支援システムであって、
前記複数の水処理ユニットの各々について、検知対象の状況を表す複数のシチュエーションノードと観察情報ノードとの関係性をベイジアンネットワークにより表現したユニットモデルを含み、前記水処理拠点を複数の階層に分け、各階層で1つ下の階層のモデル同士の関係性が記述された階層型モデルを記憶する記憶部と、
各ノードに設定された確率分布と、入力された観察情報とを用いて確率分布を修正し、状況が発生している可能性が高いシチュエーションノードを選択する演算部と、
を備え、
前記演算部は複数台のコンピュータを有し、各コンピュータが、各階層の各モデルに割り当てられ、並列に計算を実行する、状況診断支援システム。
続きを表示(約 160 文字)
【請求項2】
前記階層型モデルは、
複数のユニットモデルと、
ユニットモデル同士の関係性を記述したプロセスモデルと、
プロセスモデル同士の関係性を記述したシステムモデルと、
システムモデル同士の関係性を記述したプラントモデルと、
を含む、請求項1に記載の状況診断支援システム。
発明の詳細な説明
【技術分野】
【0001】
本発明は、水処理拠点の状況診断支援システムに関する。
続きを表示(約 1,500 文字)
【背景技術】
【0002】
従来、発電プラントや水処理プラント等において、設備の異常又は異常の予兆を検知し、検知した異常に対して必要な保守作業を指示する診断システムが知られている。例えば、特許文献1には、プラントの運転履歴に基づいてプラントの異常の予兆を監視し、異常予兆があると判定された計測パラメータを異常兆候データとして異常診断システムに入力し、異常診断システムが、異常兆候データと異常モデルパターンとを比較すると共に、統計モデルとしてのベイジアンネットワークを用いることで、異常原因を特定するプラント運転システムが記載されている。
【0003】
水処理拠点の診断にベイジアンネットワーク技術を適用する場合、水処理拠点内の凝集槽、逆浸透膜分離装置、電気脱イオン装置等の水処理ユニット毎に、因果関係をモデル化したユニットモデルを作成し、ユニットモデル同士を直接的に接続して、拠点モデルを作成していた。
【0004】
しかし、水供給現場等の数百~数千に及ぶ水処理ユニットが設置された大規模な水処理拠点を対象とした場合、多数のユニットモデルを直列接続したような巨大な拠点モデルが作成され、多数のユニットモデルを順々に計算するため、計算に多大な時間を要し、現場状況の定時診断(例えば1時間に1回)を実行することが困難であった。
【先行技術文献】
【特許文献】
【0005】
特開2017-62729号公報
【発明の概要】
【発明が解決しようとする課題】
【0006】
本発明は、水処理拠点の状況診断の計算に要する時間を短縮できる水処理拠点の状況診断支援システムを提供することを課題とする。
【課題を解決するための手段】
【0007】
[1] 複数の水処理ユニットを有する水処理拠点の状況診断支援システムであって、
前記複数の水処理ユニットの各々について、検知対象の状況を表す複数のシチュエーションノードと観察情報ノードとの関係性をベイジアンネットワークにより表現したユニットモデルを含み、前記水処理拠点を複数の階層に分け、各階層で1つ下の階層のモデル同士の関係性が記述された階層型モデルを記憶する記憶部と、
各ノードに設定された確率分布と、入力された観察情報とを用いて確率分布を修正し、状況が発生している可能性が高いシチュエーションノードを選択する演算部と、
を備え、
前記演算部は複数台のコンピュータを有し、各コンピュータが、各階層の各モデルに割り当てられ、並列に計算を実行する、状況診断支援システム。
【0008】
[2] 前記階層型モデルは、
複数のユニットモデルと、
ユニットモデル同士の関係性を記述したプロセスモデルと、
プロセスモデル同士の関係性を記述したシステムモデルと、
システムモデル同士の関係性を記述したプラントモデルと、
を含む、[1]に記載の状況診断支援システム。
【発明の効果】
【0009】
本発明によれば、水処理拠点の状況診断の計算に要する時間を短縮できる。
【図面の簡単な説明】
【0010】
本発明の実施形態に係る水処理拠点状況診断支援システムの概略構成図である。
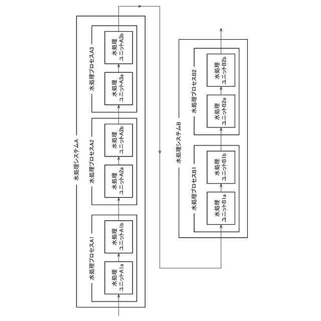
水処理拠点の構成例を示す図である。
水処理拠点の階層型モデルの例を示す図である。
【発明を実施するための形態】
(【0011】以降は省略されています)
この特許をJ-PlatPat(特許庁公式サイト)で参照する
関連特許
栗田工業株式会社
排水回収装置
2か月前
栗田工業株式会社
ギ酸の回収方法
17日前
栗田工業株式会社
ギ酸の回収方法
2か月前
栗田工業株式会社
電気脱イオン装置
2か月前
栗田工業株式会社
用水の水質予測方法
2か月前
栗田工業株式会社
電気イオン濃縮装置
1か月前
栗田工業株式会社
放射性廃液の処理方法
2か月前
栗田工業株式会社
畜糞造粒物の製造方法
1か月前
栗田工業株式会社
生物処理水の利用方法
29日前
栗田工業株式会社
逆浸透膜装置の運転方法
1か月前
栗田工業株式会社
超純水製造装置の制御方法
1か月前
栗田工業株式会社
有機性排水の生物処理方法
2か月前
栗田工業株式会社
リチウム含有物の濃縮方法
16日前
栗田工業株式会社
電気脱イオン装置の運転方法
1か月前
栗田工業株式会社
有機物含有水の脱泡処理装置
24日前
栗田工業株式会社
方法、システム及びプログラム
8日前
栗田工業株式会社
水質予測方法及び水質制御方法
2か月前
栗田工業株式会社
管内面の洗浄用プラグ及び洗浄方法
1か月前
栗田工業株式会社
洗浄水製造装置及び洗浄水製造方法
1日前
栗田工業株式会社
リチウム二次電池正極材の処理方法
16日前
栗田工業株式会社
洗浄水製造装置及び洗浄水製造方法
8日前
栗田工業株式会社
水処理拠点の状況診断支援システム
1日前
栗田工業株式会社
水処理拠点の状況診断支援システム
1日前
栗田工業株式会社
微生物発電装置および微生物発電方法
1か月前
株式会社デンソー
液体分離システム
16日前
栗田工業株式会社
超純水製造装置の立ち上げ時の洗浄方法
24日前
栗田工業株式会社
有機物含有排水からの水回収装置及び方法
1か月前
日本製紙クレシア株式会社
パンツ型紙おむつ
29日前
栗田工業株式会社
水・蒸気サイクル中の有機系溶存物質の除去方法
1か月前
栗田工業株式会社
熱交換器内のかき取り板の移動装置及び熱交換器
1か月前
栗田工業株式会社
純水製造システム、及び純水製造システムの運転方法
2か月前
栗田工業株式会社
フッ化物イオン及びカチオン含有水の処理方法及び装置
3日前
栗田工業株式会社
推定システム、推定方法及びコンピュータープログラム
2か月前
栗田工業株式会社
ベルトコンベアの監視方法、粉体の搬送方法及びプログラム
2か月前
栗田工業株式会社
蓄電デバイス輸送容器、及びこれを用いた蓄電デバイスの輸送方法
1日前
栗田工業株式会社
ベルトコンベアの監視方法、ベルトコンベアの制御方法及びプログラム
1か月前
続きを見る
他の特許を見る