TOP
|
特許
|
意匠
|
商標
特許ウォッチ
Twitter
他の特許を見る
10個以上の画像は省略されています。
公開番号
2025176060
公報種別
公開特許公報(A)
公開日
2025-12-03
出願番号
2025140988,2024124134
出願日
2025-08-27,2021-04-14
発明の名称
干渉測定デバイス
出願人
テイラー・ホブソン・リミテッド
,
TAYLOR HOBSON LIMITED
代理人
個人
,
個人
主分類
G01B
11/26 20060101AFI20251126BHJP(測定;試験)
要約
【課題】光学要素の表面またはプロファイルを測定するための干渉測定デバイスおよび測定方法を提供する。
【解決手段】測定方法は、光学要素(10)の測定面(11)のうちの1つに少なくとも3つの測定点を画成する工程と、測定ヘッド(60)からの測定ビーム(61)を測定点へ誘導し、それぞれ測定点で反射された測定ビーム部分(62)を検出することによって、各測定点の位置を測定する工程と、少なくとも3つの測定位置に基づいて、基準軸(51)に対する測定面(11)の偏心および傾斜のうちの少なくとも1つを判定する工程とを含む。
【選択図】図7
特許請求の範囲
【請求項1】
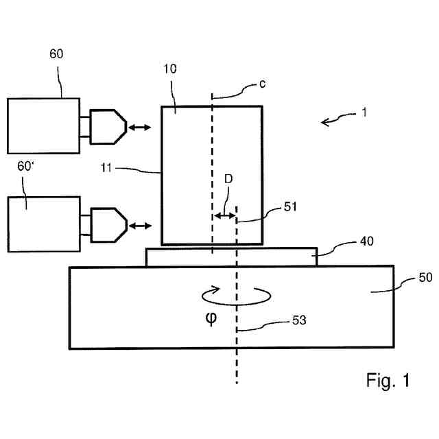
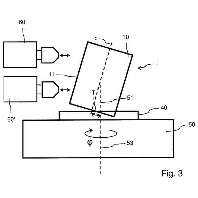
光学要素(10)の表面(20、30)またはプロファイル(P)を測定する方法であって、光学要素(10)は、第1の表面(20)および該第1の表面(20)とは反対側の第2の表面(30)を含み、該方法は:
光学要素(10)の測定面(11)上で少なくとも第1の測定点(21、31)、第2の測定点(22、32)、および第3の測定点(23、33)を画成する工程であって、測定面(20、30)は、第1の表面(20)および第2の表面(30)のうちの一方である、工程と、
測定ヘッド(60)からの測定ビーム(61)を第1の測定点(21、31)へ誘導し、第1の測定点(21、31)で反射された測定ビーム部分(62)を検出することによって、第1の測定点(21、31)の第1の位置を測定する工程と、
その後、それぞれ測定ビーム(61)を第2の測定点(22、32)および第3の測定点(23、33)へ誘導し、第2の測定点(22、32)および第3の測定点(23、33)で反射された測定ビーム部分(62)を検出することによって、少なくとも第2の測定点(22、32)の第2の位置および第3の測定点(23、33)の第3の位置を測定する工程と、
少なくとも第1の位置、第2の位置、および第3の位置に基づいて、基準軸(51)に対する測定面(11)の偏心(D)および傾斜(T)のうちの少なくとも1つを判定する工程とを含む、前記方法。
続きを表示(約 2,000 文字)
【請求項2】
第1の位置、第2の位置、および第3の位置のうちの少なくとも1つを測定する工程は、第1の測定点(21、31)、第2の測定点(22、32)、および第3の測定点(23、33)のうちの少なくとも1つに測定ビーム(61)を集束させ、それぞれ第1の測定点(21、31)、第2の測定点(22、32)、および第3の測定点(23、33)のうちの少なくとも1つで再帰反射されたそれぞれの測定ビーム部分(62)を検出することを含む、請求項1に記載の方法。
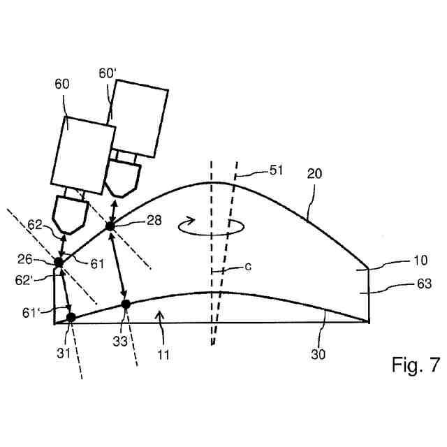
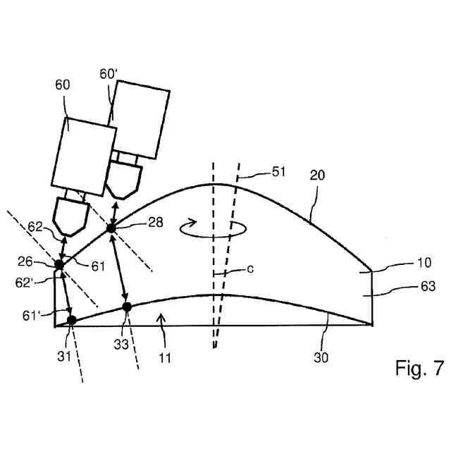
【請求項3】
光学要素(10)の第1の表面(20)および第2の表面(30)のうちの一方は、測定ヘッド(60)の方を向いており、測定ヘッド(60)から離れる方を向いている第1の表面(20)および第2の表面(30)のうちの他方は、測定面(11)であり、第1の位置、第2の位置、および第3の位置は、第1の標的点(26、36)、第2の標的点(27、37)、および第3の標的点(28、38)に測定ビーム(61)を誘導することによって測定され、第1、第2、および第3の標的点(26、27、28、36、37、38)は、第1の表面(20)および第2の表面(30)のうち測定ヘッド(60)の方を向いている表面上に配置され、測定ビーム(61)は、光学要素(10)の媒体(63)を通って伝播する、請求項1または2に記載の方法。
【請求項4】
第1の表面(20)および第2の表面(30)のうち測定ヘッド(60)の方を向いている表面上の第1、第2、および第3の標的点(26、27、28、36、37、38)の位置は:
光学要素(10)の媒体(63)の屈折率、
第1、第2、または第3の標的点(26、27、28、36、37、38)に対する測定ビーム(61)の入射角、ならびに
第1、第2、または第3の測定点(21、22、23、31、32、33)および/または標的点(26、27、28、36、37、38)の領域における第1の表面(20)および第2の表面(30)のうちの少なくとも一方の局所的な表面プロファイルに基づいて判定される、請求項3に記載の方法。
【請求項5】
測定面(11)上に第1の測定経路(25、35)および第2の測定経路(29、39
)が画成され、第1、第2、および第3の測定点のうちの少なくとも2つ(21、22、31、32)は、第1の測定経路(25、35)上に配置され、第1、第2、および第3の測定点のうちの少なくとも1つ(23、33)は、第2の測定経路(29、39)上に配置される、請求項1~4のいずれか1項に記載の方法。
【請求項6】
第1の測定経路(25、35)および第2の測定経路(29、39)のうちの少なくとも一方は、閉じた測定経路である、請求項5に記載の方法。
【請求項7】
第1の測定経路(25、35)および第2の測定経路(29、39)は、光学要素(10)の光学軸(c)または基準軸(51)に対して同心円状である、請求項5または6に記載の方法。
【請求項8】
光学要素(10)は、測定台(50)上に配置されたマウント(40)に取り付けられ、測定台(50)は、回転軸(53)の周りを回転可能であり、回転軸(53)に対するマウント(40)の径方向位置(r)および向き(a、b)のうちの少なくとも1つは、光学要素(10)の偏心(D)および傾斜(T)のうちの少なくとも1つを最小にするように調整される、請求項1~7のいずれか1項に記載の方法。
【請求項9】
第1の測定手順で、第1の表面(20)および第2の表面(30)のうちの一方の偏心(D)および傾斜(T)のうちの少なくとも1つが判定され、第2の測定手順で、第1の表面(20)および第2の表面(30)のうちの他方の偏心(D)および傾斜(T)のうちの少なくとも1つが判定される、請求項1~8のいずれか1項に記載の方法。
【請求項10】
光学軸(c)に沿った光学要素(10)の厚さの測定をさらに含み、厚さ測定は:
光学要素(10)の光学軸(c)に沿ってまたは光学軸(c)に平行に測定ヘッド(60)を位置合わせすることと、
光学軸(c)に沿ってまたは光学軸(c)に平行に測定ビーム(61)を誘導することと、
光学軸(c)に沿ってまたは光学軸(c)に平行に集束させた測定ビーム(61)を動かすことと、
集束させた測定ビーム(61)の焦点区域(68)と第1の表面(20)および/または第2の表面(30)との一致を検出することとを含む、請求項1~9のいずれか1項に記載の方法。
(【請求項11】以降は省略されています)
発明の詳細な説明
【技術分野】
【0001】
本開示は、干渉測定デバイスの分野に関し、詳細には、物体の表面からの電磁放射の反射によって物体の表面、距離、および/またはプロファイルを測定するためのファイバで実装された干渉測定デバイスに関する。
続きを表示(約 1,800 文字)
【背景技術】
【0002】
レンズなどの光学要素の光学表面の品質管理および精密測定は、特に大量生産される光学要素にとって、ますます重要になっている。これは特に、たとえば小型カメラ、撮像、および/または表示システムで使用することができるかなり小さいサイズの光学要素に当てはまることがある。
【0003】
たとえば、特許文献1は、キャリア上に取り付けられた物体の少なくとも1つの表面セクションの測定のための装置を開示している。この装置は、キャリアに対して固定可能な基準物体と、基準物体に対して少なくとも第1の方向に可動のホルダとを含む。
【0004】
互いに対して回転可能に取り付けられた基準体および距離センサが、ホルダ上に配置される。距離測定デバイスが、物体の表面上の第1の点までの第1の距離を判定し、物体上の第1の点に対応する基準体上の第2の点までの第2の距離を判定するように構成される。このため、距離測定デバイスは、第1および第2の距離センサを含み、第1および第2の距離センサのうちの一方は物体の方を向き、他方は基準体の方を向く。そのような装置によって、非常に精密かつ非接触に物体の表面を光学的に精査または走査することができる。
【0005】
厚さを測定する場合、特に物体の厚さプロファイルを測定し、光学表面のウェッジまたは傾斜を判定する場合、特許文献2は、上面および下面を有する物体ホルダを使用する別の装置を開示しており、物体ホルダは、キャリア上に第1および第2の向きで配置されるように選択的に適用される。物体の厚さを測定し、物体の両側に設けられた表面プロファイルを相互に割り当てる場合、物体ホルダが第1の向きで位置する状態で、物体の第1の表面または上面を測定または走査する必要がある。その後、物体ホルダが第2の向きにある状態で、物体を測定または走査しなければならない。
【0006】
距離測定デバイスに対して物体ホルダを配置し、ならびに物体が取り付けられた状態で物体ホルダの向きを変えるには、それぞれの測定デバイスの手動調整および/または較正が必要になることがあり、これはかなり複雑で時間のかかることがある。
【0007】
たとえば測定予定の物体およびその物体に対するそれぞれのマウントが、光学要素または物体の表面の走査中に回転を受ける回転測定台上に設けられたとき、そのような較正および調整は特に重要なものとなることがある。通常、そのような測定方式の場合、測定予定の光学要素の光学軸が測定台の回転軸と位置合わせされる必要がある。
【0008】
特に干渉法に基づく表面測定または距離測定の場合、測定ヘッドと測定予定の光学要素の表面との間の距離が所定の測定範囲内に留まる必要がある。光学干渉に基づく測定方法の場合、それぞれの距離測定に対する測定範囲、したがって明瞭な面積は所与であり、測定ビームの波長によって判定される。たとえば異なる波長の複数の測定ビームを同時に使用することによって、測定範囲、したがって明瞭な範囲を拡張することができる。しかし通常、測定の空間分解能を増大させると、それぞれ測定範囲、したがって明瞭な範囲が低減するという規則が当てはまる。
【先行技術文献】
【特許文献】
【0009】
DE102011011065B4
米国特許出願第2017/0082521(A1)号
【発明の概要】
【発明が解決しようとする課題】
【0010】
したがって、本開示の目的は、表面を測定する改善された方法を提供すること、改善された測定デバイス、たとえば光学要素の表面またはプロファイルを測定するための干渉測定デバイスを提供することである。この測定デバイスおよび方法は、干渉測定デバイスの効果的かつ迅速な測定ならびに較正および調整を提供するはずである。さらに、この方法および測定デバイスは、測定デバイスに対する光学要素の支承部または取付具を修正する必要なく、光学要素の少なくとも一面または両面の偏心、厚さ、および/または傾斜のかなり精密かつ迅速な測定を提供するはずである。
(【0011】以降は省略されています)
この特許をJ-PlatPat(特許庁公式サイト)で参照する
関連特許
個人
採尿及び採便具
1か月前
日本精機株式会社
検出装置
29日前
個人
計量機能付き容器
24日前
個人
高精度同時多点測定装置
1か月前
個人
アクセサリー型テスター
1か月前
甲神電機株式会社
電流検出装置
29日前
株式会社ミツトヨ
測定器
1か月前
株式会社カクマル
境界杭
14日前
日本精機株式会社
発光表示装置
7日前
株式会社トプコン
測量装置
6日前
アズビル株式会社
電磁流量計
1か月前
大成建設株式会社
風洞実験装置
24日前
ダイキン工業株式会社
監視装置
1か月前
トヨタ自動車株式会社
監視装置
1か月前
日本特殊陶業株式会社
ガスセンサ
22日前
日本特殊陶業株式会社
ガスセンサ
今日
ローム株式会社
半導体装置
1か月前
大和製衡株式会社
組合せ計量装置
1か月前
大和製衡株式会社
組合せ計量装置
1か月前
ローム株式会社
半導体装置
1か月前
愛知電機株式会社
軸部材の外観検査装置
1か月前
個人
非接触による電磁パルスの測定方法
27日前
個人
システム、装置及び実験方法
1か月前
長崎県
形状計測方法
1か月前
TDK株式会社
磁気センサ
1か月前
日本信号株式会社
距離画像センサ
27日前
双庸電子株式会社
誤配線検査装置
1か月前
日本特殊陶業株式会社
ガスセンサ
6日前
個人
計量具及び計量機能付き容器
24日前
愛知時計電機株式会社
ガスメータ
1か月前
株式会社タイガーカワシマ
揚穀装置
6日前
トヨタ自動車株式会社
測定システム
1か月前
日東精工株式会社
振動波形検査装置
1か月前
ダイハツ工業株式会社
移動支援装置
1か月前
日本特殊陶業株式会社
センサ
1か月前
株式会社デンソー
電流センサ
1か月前
続きを見る
他の特許を見る