TOP
|
特許
|
意匠
|
商標
特許ウォッチ
Twitter
他の特許を見る
公開番号
2025174595
公報種別
公開特許公報(A)
公開日
2025-11-28
出願番号
2024081072
出願日
2024-05-17
発明の名称
カメラ映像の管理システム
出願人
トヨタ自動車株式会社
代理人
弁理士法人高田・高橋国際特許事務所
主分類
H04N
7/18 20060101AFI20251120BHJP(電気通信技術)
要約
【課題】カメラ映像に映る人物のプライバシーを保護しながら、カメラ映像に映るシーンの再生に必要となるデータのサイズを減らす。
【解決手段】処理回路は、カメラ映像に対する物体認識処理によってカメラ映像に映る物体の認識情報を生成する。処理回路は、また、カメラ映像に対する言語化処理によってカメラ映像に映るシーンの言語情報を生成する。処理回路は、また、人物の認識情報と、シーンの言語情報とを関連付けたシーン情報を生成して記憶装置に格納する。処理回路は、更に、シーン情報に基づいて、カメラ映像に映るシーンの再現処理を行う。再現処理では、カメラ映像に映る空間の抽象化画像がレンダリングされ、この空間の抽象化画像上に人物の抽象化画像がレンダリングされる。再現処理では、また、空間の抽象化画像に、言語情報から生成されたキャプション情報が追加されて再現画像が生成される。
【選択図】図3
特許請求の範囲
【請求項1】
カメラ映像を管理するシステムであって、
前記カメラ映像が格納された記憶装置と、
各種処理を行う処理回路と、
画像を出力する表示装置と、
を備え、
前記処理回路が、
前記記憶装置に格納された前記カメラ映像に対する物体認識処理によって前記カメラ映像に映る物体の認識情報を生成し、
前記記憶装置に格納された前記カメラ映像に対する言語化処理によって前記カメラ映像に映るシーンの言語情報を生成し、
前記物体の認識情報に人物の認識情報が含まれる場合、前記人物の認識情報と、前記人物が認識された前記カメラ映像に対する前記言語化処理により生成されたシーンの言語情報とを関連付けたシーン情報を生成して前記記憶装置に格納し、
前記記憶装置に格納された前記シーン情報に基づいて、前記カメラ映像に映るシーンの再現処理を行い、
前記再現処理が、
前記シーン情報に含まれる静的物体の認識情報に基づいて、前記カメラ映像に映る空間の抽象化画像をレンダリングすることと、
前記シーン情報に含まれる前記人物の認識情報に基づいて、前記カメラ映像に映る前記人物の抽象化画像を、前記空間の抽象化画像上にレンダリングすることと、
前記シーン情報に含まれる前記シーンの言語情報に基づいて前記シーンのキャプション情報を生成することと、
前記人物の抽象化画像がレンダリングされた前記空間の抽象化画像に前記キャプション情報を追加して、前記表示装置から出力するための再現画像を生成することと、
を含むことを特徴とするカメラ映像の管理システム。
続きを表示(約 910 文字)
【請求項2】
請求項1に記載のシステムであって、
前記処理回路が、
前記物体の認識情報に人物以外の動的物体の認識情報が含まれる場合、前記シーン情報に前記動的物体の認識情報を追加し、
前記再現処理が、更に、
前記シーン情報に含まれる前記動的物体の認識情報に基づいて、前記動的物体の抽象化画像を、前記空間の抽象化画像上にレンダリングすることと、
を含むことを特徴とするカメラ映像の管理システム。
【請求項3】
請求項1又は2に記載のシステムであって、
前記処理回路が、更に、
前記シーン情報に含まれる前記シーンの言語情報の参照により、事前に設定された特定言語を検出し、
前記特定言語の情報が含まれる前記シーンの言語情報が検出された場合、検出された前記シーンの言語情報の生成元の前記カメラ映像に対する再度の言語化処理によって、前記カメラ映像に映るシーンの詳細な言語情報を再生成し、
前記シーンの詳細な言語情報に基づいて、前記特定言語の情報が含まれる前記シーン情報を更新する
ことを特徴とするカメラ映像の管理システム。
【請求項4】
請求項1又は2に記載のシステムであって、
情報が入力される入力装置を更に備え、
前記処理回路が、更に、
前記入力装置から前記カメラ映像に映るシーンの検索情報が入力された場合、前記検索情報と、前記記憶装置に格納された前記シーン情報に含まれる前記シーンの言語情報とに基づいて、前記検索情報に合致するシーン情報を特定し、
前記再現処理が、前記検索情報に合致するシーン情報に基づいて行われる
ことを特徴とするカメラ映像の管理システム。
【請求項5】
請求項1又は2に記載のシステムであって、
前記空間の抽象化画像が、前記カメラ映像に映る空間を抽象化した3次元画像を含み、
前記人物の抽象化画像が、前記カメラ映像に映る人物を抽象化した3次元画像を含む
ことを特徴とするカメラ映像の管理システム。
発明の詳細な説明
【技術分野】
【0001】
本開示は、カメラ映像を管理するシステムに関する。
続きを表示(約 2,200 文字)
【背景技術】
【0002】
特開2006-295251号公報は、監視カメラ映像を画像処理して外部モニタから出力するシステムを開示する。この従来のシステムは、監視カメラ映像から人物を抽出し、抽出された人物の身振り及び行為を検出し、検出された身振り及び行為の有する重要度を算出する。従来のシステムは、また、算出された重要度に基づいて、画像処理の対象となる監視カメラ映像の範囲を決定する。画像処理では、画像処理の対象の範囲に対して、モザイク処理、平滑化処理といったプライバシー保護処理が施される。つまり、従来のシステムでは、人物の身振り及び行為の有する重要度に応じた画像処理が施された映像が外部モニタから出力される。
【0003】
従来のシステムは、更に、監視カメラ映像のシーンの解析を行う。そして、解析において映像シーンが異常であると判定された場合、画像処理が施された映像に、異常シーンであることを示す文字情報が付加される。
【0004】
本開示に関連する技術分野の技術水準を示す文献としては、特開2006-295251号公報の他に、特開2022-056533号公報、特開2019-144830号公報及び特開2002-024962号公報を例示することができる。
【先行技術文献】
【特許文献】
【0005】
特開2006-295251号公報
特開2022-056533号公報
特開2019-144830号公報
特開2002-024962号公報
【発明の概要】
【発明が解決しようとする課題】
【0006】
従来のシステムにおいて、人物の身振り及び行為の有する重要度の算出は、事前に作成した得点テーブルを参照することにより行われている。しかしながら、得点テーブルの情報の粒度によっては画像処理の対象となる範囲が正しく決定されず、監視カメラ映像に映る人物のプライバシー保護が不十分となる可能性がある。
【0007】
従来のシステムによれば、異常シーンであることを示す文字情報が外部モニタからの出力映像に付加されることで、映像シーンが異常であることを外部モニタの視聴者に伝え易くなることが期待される。しかしながら、このような文字情報が付加された出力映像の再生のためには、画像処理が施された映像を文字情報と組み合わせて保存しておく必要があり、映像のデータサイズが大きくなるという課題もある。
【0008】
本開示の1つの目的は、カメラ映像に映る人物のプライバシーを保護しながら、カメラ映像に映るシーンの再生に必要となるデータのサイズを減らすことのできる技術を提供することにある。
【課題を解決するための手段】
【0009】
本開示は、カメラ映像の管理システムであり、次の特徴を有する。
前記システムは、記憶装置と、処理回路と、表示装置とを備える。前記記憶装置には前記カメラ映像が格納されている。前記処理回路は各種処理を行うように構成されている。前記表示装置は、画像を出力するように構成されている。
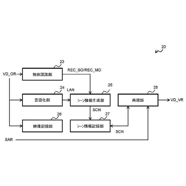
前記処理回路は、前記記憶装置に格納された前記カメラ映像に対する物体認識処理によって前記カメラ映像に映る物体の認識情報を生成し、前記記憶装置に格納された前記カメラ映像に対する言語化処理によって前記カメラ映像に映るシーンの言語情報を生成し、前記物体の認識情報に人物の認識情報が含まれる場合、前記人物の認識情報と、前記人物が認識された前記カメラ映像に対する前記言語化処理により生成されたシーンの言語情報とを関連付けたシーン情報を生成して前記記憶装置に格納し、前記記憶装置に格納された前記シーン情報に基づいて、前記カメラ映像に映るシーンの再現処理を行うように構成されている。
前記再現処理は、前記シーン情報に含まれる静的物体の認識情報に基づいて、前記カメラ映像に映る空間の抽象化画像をレンダリングすることと、前記シーン情報に含まれる前記人物の認識情報に基づいて、前記カメラ映像に映る前記人物の抽象化画像を、前記空間の抽象化画像上にレンダリングすることと、前記シーン情報に含まれる前記シーンの言語情報に基づいて前記シーンのキャプション情報を生成することと、前記人物の抽象化画像がレンダリングされた前記空間の抽象化画像に前記キャプション情報を追加して、前記表示装置から出力するための再現画像を生成することと、を含む。
【発明の効果】
【0010】
本開示によれば、カメラ映像に映るシーンの再現処理が、カメラ映像に映る空間の抽象化画像上に同カメラ映像に映る人物の抽象化画像がレンダリングされた画像に、同カメラ映像に映るシーンの言語情報がキャプションとして追加されたものを用いて行われる。ここで、空間及び人物の抽象化画像は、カメラ映像に対する物体認識処理により生成された物体の認識情報に基づいてレンダリングされたものである。そのため、生映像データや、従来技術のプライバシー保護処理が施された映像データが用いられる場合に比べて、映像シーンの再生に必要なデータサイズのサイズを小さくすることができる。また、人物の抽象化画像が用いられることから、当該人物のプライバシーを保護することもできる。
【図面の簡単な説明】
(【0011】以降は省略されています)
この特許をJ-PlatPat(特許庁公式サイト)で参照する
関連特許
トヨタ自動車株式会社
車両
25日前
トヨタ自動車株式会社
車両
1か月前
トヨタ自動車株式会社
方法
25日前
トヨタ自動車株式会社
電池
26日前
トヨタ自動車株式会社
電池
17日前
トヨタ自動車株式会社
方法
1か月前
トヨタ自動車株式会社
電池
3日前
トヨタ自動車株式会社
車両
1か月前
トヨタ自動車株式会社
車両
1か月前
トヨタ自動車株式会社
車両
1か月前
トヨタ自動車株式会社
配管
12日前
トヨタ自動車株式会社
電池
1か月前
トヨタ自動車株式会社
電池
3日前
トヨタ自動車株式会社
車両
26日前
トヨタ自動車株式会社
電池
11日前
トヨタ自動車株式会社
車両
1か月前
トヨタ自動車株式会社
方法
1か月前
トヨタ自動車株式会社
方法
1か月前
トヨタ自動車株式会社
車両
11日前
トヨタ自動車株式会社
方法
1か月前
トヨタ自動車株式会社
車両
1か月前
トヨタ自動車株式会社
治具
1か月前
トヨタ自動車株式会社
車両
12日前
トヨタ自動車株式会社
車体
25日前
トヨタ自動車株式会社
車体
1か月前
トヨタ自動車株式会社
車両
25日前
トヨタ自動車株式会社
モータ
24日前
トヨタ自動車株式会社
サーバ
1か月前
トヨタ自動車株式会社
モータ
1か月前
トヨタ自動車株式会社
モータ
1か月前
トヨタ自動車株式会社
電動車
11日前
トヨタ自動車株式会社
電動機
1か月前
トヨタ自動車株式会社
電動車
12日前
トヨタ自動車株式会社
正極層
1か月前
トヨタ自動車株式会社
蓄電池
25日前
トヨタ自動車株式会社
ロータ
12日前
続きを見る
他の特許を見る