TOP
|
特許
|
意匠
|
商標
特許ウォッチ
Twitter
他の特許を見る
公開番号
2025174519
公報種別
公開特許公報(A)
公開日
2025-11-28
出願番号
2024080935
出願日
2024-05-17
発明の名称
電解コンデンサおよび電解コンデンサの製造方法
出願人
ルビコン株式会社
代理人
弁理士法人綿貫国際特許・商標事務所
主分類
H01G
9/035 20060101AFI20251120BHJP(基本的電気素子)
要約
【課題】ニトロ化合物によって水素ガスの発生を抑制することができ、高温負荷を経た後の耐電圧の低下が抑制されて、高温を含む温度帯において安定して動作可能な電解コンデンサおよび電解コンデンサの製造方法を提供する。
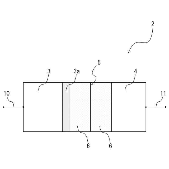
【解決手段】本発明に係る電解コンデンサ1は、誘電体層が形成された陽極箔3と、陰極箔4と、前記陽極箔3と前記陰極箔4との間に配設されたセパレータ5と、を有するコンデンサ素子2と、前記コンデンサ素子2内に含浸された電解液6と、を備え、前記電解液6は、4-ニトロピリジン N-オキシド化合物を含有する。
【選択図】図6
特許請求の範囲
【請求項1】
誘電体層が形成された陽極箔と、陰極箔と、前記陽極箔と前記陰極箔との間に配設されたセパレータと、を有するコンデンサ素子と、
前記コンデンサ素子内に含浸された電解液と、を備え、
前記電解液は、4-ニトロピリジン N-オキシド化合物を含有すること
を特徴とする電解コンデンサ。
続きを表示(約 390 文字)
【請求項2】
前記4-ニトロピリジン N-オキシド化合物が、4-ニトロピリジン N-オキシドであること
を特徴とする請求項1記載の電解コンデンサ。
【請求項3】
前記電解液の溶媒が、水を含有する溶媒であること
を特徴とする請求項1または請求項2記載の電解コンデンサ。
【請求項4】
電解液に、4-ニトロピリジン N-オキシド化合物を配合すること
を特徴とする電解コンデンサの製造方法。
【請求項5】
前記4-ニトロピリジン N-オキシド化合物が、4-ニトロピリジン N-オキシドであること
を特徴とする請求項4記載の電解コンデンサの製造方法。
【請求項6】
前記電解液の溶媒には、水を含有する溶媒を用いること
を特徴とする請求項4または請求項5記載の電解コンデンサの製造方法。
発明の詳細な説明
【技術分野】
【0001】
本発明は電解コンデンサおよび電解コンデンサの製造方法に関する。
続きを表示(約 1,300 文字)
【背景技術】
【0002】
電解コンデンサは、誘電体層が形成された陽極箔と、陰極箔との間に、セパレータが配設されたコンデンサ素子内に電解質が含浸された構成を基本とする蓄電デバイスである。電解コンデンサには、コンデンサ素子内に、非固体電解質としての電解液が導入されるタイプと、導電性高分子等の固体電解質が導入されるタイプとが存在する。さらに、電解コンデンサには、コンデンサ素子内に、固体電解質と共に電解液が導入され、固体電解質および非固体電解質双方の利点を期待した所謂「ハイブリッドタイプ」も存在する。
【0003】
従来の電解コンデンサでは、様々な市場の要求に応えるために、一例として、低インピーダンス化等を図ろうとして例えば電解液中の水の含有量を高めると、電極箔の金属元素と水との水和反応による水素ガスの発生量が増加する。或いは、他の例として、製品の小型化および高容量化を図ろうとすると、例えば箔の高容量化に伴って水素ガスの発生量が増加し、この水素ガスが縮小された外装ケース空間の内圧を上昇させる。こうした水素ガスの発生がもとになって、ひいては外観の膨れ、液漏れ、防爆弁の作動(開弁)等が起こり易くなるという問題があった。
【0004】
そこで、従来、電解液にニトロ基を有するニトロ化合物が配合されることがあった(特許文献1:特開平4-10512号公報参照)。ニトロ化合物は、ニトロ基が還元されて水素イオンを吸収することで電解コンデンサ内の水素ガスの発生を抑制する作用効果を有する。
【先行技術文献】
【特許文献】
【0005】
特開平4-10512号公報
特開2023-145741号公報
【発明の概要】
【発明が解決しようとする課題】
【0006】
特許文献1(特開平4-10512号公報)に例示されるように、ニトロ化合物(ニトロ基)の水素ガス発生抑制作用はよく知られている。従来、電解コンデンサ用電解液には、ニトロ化合物の中で限られたニトロベンゼン化合物が用いられてきた(特許文献2:特開2023-145741号公報、段落0032)。
【0007】
しかしながら、これまで用いられていたニトロ化合物は、エチレングリコール等の極性溶媒への溶解性が比較的低かったり、比較的高濃度では電解コンデンサの耐電圧を低下させたりするため、その配合量は比較的低濃度で、限定的であった。
【課題を解決するための手段】
【0008】
さらに、発明者は、従来のニトロ化合物は、特に高温負荷(一定時間の高温放置)を経た後の耐電圧低下が著しいという課題を新たに見出した。
【0009】
そこで、本発明は、ニトロ化合物によって水素ガスの発生を抑制することができ、高温負荷を経た後の耐電圧の低下が抑制されて、高温を含む温度帯において安定して動作可能な電解コンデンサおよび電解コンデンサの製造方法を提供することを目的とする。
【0010】
本発明は、一実施形態として以下に記載するような解決手段により、前記課題を解決する。
(【0011】以降は省略されています)
この特許をJ-PlatPat(特許庁公式サイト)で参照する
関連特許
ルビコン株式会社
電解コンデンサおよび電解コンデンサの製造方法
2日前
東ソー株式会社
絶縁電線
1か月前
APB株式会社
蓄電セル
1か月前
ローム株式会社
半導体装置
1か月前
株式会社東芝
端子台
1か月前
マクセル株式会社
電源装置
1か月前
株式会社GSユアサ
蓄電装置
1か月前
株式会社GSユアサ
蓄電装置
10日前
株式会社GSユアサ
蓄電装置
24日前
三菱電機株式会社
回路遮断器
18日前
富士電機株式会社
電磁接触器
10日前
株式会社GSユアサ
蓄電装置
1か月前
大電株式会社
電線又はケーブル
2日前
日本特殊陶業株式会社
保持装置
23日前
北道電設株式会社
配電具カバー
1か月前
トヨタ自動車株式会社
バッテリ
1か月前
ホシデン株式会社
複合コネクタ
4日前
日新イオン機器株式会社
基板処理装置
1か月前
日本特殊陶業株式会社
保持装置
1か月前
トヨタ自動車株式会社
冷却構造
1か月前
トヨタ自動車株式会社
蓄電装置
1か月前
トヨタ自動車株式会社
蓄電装置
2日前
日本無線株式会社
レーダアンテナ
25日前
ローム株式会社
半導体装置
1か月前
トヨタ自動車株式会社
密閉型電池
1か月前
日亜化学工業株式会社
半導体レーザ素子
1か月前
住友電装株式会社
コネクタ
1か月前
甲神電機株式会社
変流器及び零相変流器
25日前
ローム株式会社
半導体モジュール
11日前
ヒロセ電機株式会社
電気コネクタ
10日前
株式会社レゾナック
冷却器
18日前
トヨタ自動車株式会社
電池パック
1か月前
矢崎総業株式会社
コネクタ
10日前
住友電装株式会社
コネクタ
10日前
株式会社デンソー
電子装置
1か月前
三協立山株式会社
バッテリーケース
1か月前
続きを見る
他の特許を見る