TOP
|
特許
|
意匠
|
商標
特許ウォッチ
Twitter
他の特許を見る
10個以上の画像は省略されています。
公開番号
2025172900
公報種別
公開特許公報(A)
公開日
2025-11-26
出願番号
2025146075,2023130061
出願日
2025-09-03,2015-02-25
発明の名称
レンズ駆動装置及びこれを含むカメラモジュール
出願人
エルジー イノテック カンパニー リミテッド
代理人
個人
,
個人
,
個人
,
個人
,
個人
,
個人
,
個人
主分類
G02B
7/04 20210101AFI20251118BHJP(光学)
要約
【課題】ボビンの位置情報のフィードバックを受けることができるレンズ駆動装置を提供する。
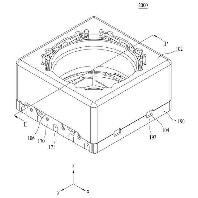
【解決手段】レンズ駆動装置は、ベース190;ベースに結合されて上面と複数の側壁を含むカバー部材;ベースに配置されて光軸方向に移動するボビン110A;カバー部材に配置される1対の駆動マグネット130;ボビンに配置されて1対の駆動マグネットと対向するコイル120;ボビンに配置されるセンシングマグネット182A;及びセンシングマグネットを感知する位置センサーを含む。側壁は互いに反対側に配置される第1及び第2側壁と、第1及び第2側壁との間に配置されて互いに反対側に配置される第3及び第4側壁を含む。1対の駆動マグネットは第1側壁に配置される第1マグネットと第2側壁に配置される第2マグネットを含む。第3側壁と第4側壁には駆動マグネットが配置されない。センシングマグネットは第3側壁に対応するボビンの第1面に配置される。
【選択図】図8
特許請求の範囲
【請求項1】
ベース;
前記ベースに結合されて上面と前記上面から延びる複数の側壁を含むカバー部材;
前記ベースに配置されて光軸方向に移動するボビン;
前記カバー部材に配置される1対の駆動マグネット;
前記ボビンに配置されて前記1対の駆動マグネットと対向するコイル;
前記ボビンに配置されるセンシングマグネット;及び
前記センシングマグネットを感知する位置センサーを含み、
前記カバー部材の前記複数の側壁は互いに反対側に配置される第1及び第2側壁と、前
記第1及び第2側壁との間に配置されて互いに反対側に配置される第3及び第4側壁を含
み、
前記1対の駆動マグネットは前記カバー部材の前記第1側壁に配置される第1マグネッ
トと前記カバー部材の前記第2側壁に配置される第2マグネットを含み、
前記カバー部材の前記第3側壁と前記第4側壁には前記駆動マグネットが配置されない
で、
前記センシングマグネットは前記カバー部材の前記第3側壁に対応する前記ボビンの第
1面に配置される、レンズ駆動装置。
続きを表示(約 1,200 文字)
【請求項2】
複数の端子を含む回路基板を含み、
前記回路基板は前記カバー部材の前記第3側壁に対応する位置に配置されて、
前記位置センサーは前記回路基板に配置されて、
前記複数の端子は前記回路基板の下面に配置される、請求項1に記載のレンズ駆動装置
。
【請求項3】
前記1対の駆動マグネットは互いに平行に配置されて、
前記カバー部材は金属材質もしくは磁性材質で形成される、請求項1に記載のレンズ駆
動装置。
【請求項4】
前記センシングマグネットは前記1対の駆動マグネットと対向しない位置に配置されて
、前記センシングマグネットは前記1対の駆動マグネットより小さい、請求項1に記載の
レンズ駆動装置。
【請求項5】
前記センシングマグネットは前記ボビンと対向する前記第3側壁の表面に垂直方向に前
記カバー部材の前記第3側壁とオーバーラップされない、請求項1に記載のレンズ駆動装
置。
【請求項6】
前記カバー部材はインナーヨークと一体で形成されて、
前記カバー部材の前記インナーヨークは4つのインナーヨークを含み、
前記4つのインナーヨークはそれぞれ前記カバー部材の4つのコーナーと対応する位置
に配置されて、
前記インナーヨークの一側面は前記コイルと離隔して、前記インナーヨークの他側面は
前記ボビンと離隔する、請求項1乃至5のうちいずれか一つに記載のレンズ駆動装置。
【請求項7】
前記インナーヨークは
前記カバー部材から下へ折り曲げられる折曲部;及び
前記折曲部に隣接した位置に形成されるボトルネック区間を含み、
前記インナーヨークの前記ボトルネック区間は対称で形成される、請求項6に記載のレ
ンズ駆動装置。
【請求項8】
前記第1マグネットは接着剤によって前記カバー部材の前記第1側壁に固定されて前記
第2マグネットは前記接着剤によって前記カバー部材の前記第2側壁に固定される、請求
項1乃至5のうちいずれか一つに記載のレンズ駆動装置。
【請求項9】
前記ボビンに結合される弾性部材を含み、
前記弾性部材は前記ボビンの下面に結合される下部弾性部材と前記ボビンの上面に結合
される上部弾性部材を含み、
前記下部弾性部材は互いに離隔する第1バネと第2バネを含み、
前記第1バネは前記コイルの一端と電気的に連結されて、
前記第2バネは前記コイルの他端と電気的に連結されて、
前記第1バネと前記第2バネは回路基板に電気的に連結される、請求項1に記載のレン
ズ駆動装置。
【請求項10】
前記回路基板の少なくとも一部は前記ベースの側面に配置される、請求項9に記載のレ
ンズ駆動装置。
(【請求項11】以降は省略されています)
発明の詳細な説明
【技術分野】
【0001】
実施例はレンズ駆動装置及びこれを含むカメラモジュールに関するものである。
続きを表示(約 2,100 文字)
【背景技術】
【0002】
近年、超小型デジタルカメラが内蔵された携帯電話、スマートフォン、タブレットPC
、ノートブック型PCなどのIT製品の開発が活発に進行されている。よって、デジタル
カメラを有するカメラモジュールは自動焦点(auto focusing)、シャッタ
ー、振れ改善又はズーム機能などの多様な機能を提供することが要求されるとともに、高
画素化、小型化の趨勢にある。
【0003】
一方、既存のカメラモジュールは、オートフォーカシング機能及び手の震え補正機能を
果たすことができるレンズ駆動装置を含むことができる。レンズ駆動装置は多様に構成す
ることができるもので、ボイスコイルユニットモーターを一般的に多く使う。ボイスコイ
ルユニットモーターは、ハウジングに固定されたマグネットとレンズバレルが結合された
ボビンの外周面に巻線されたコイルユニットの電磁気的相互作用によって動作してオート
フォーカシング機能を果たすことができる。このようなボイスコイルモーター方式のアク
チュエータモジュールは、上下に移動するボビンが下側及び上側弾性部材によって弾支さ
れたままで光軸に平行な方向に往復移動することができる。
【0004】
既存の超小型デジタルカメラが内蔵されたIT製品の場合、イメージセンサーとレンズ
の間の間隔を調節してレンズの焦点距離を整列するレンズ駆動装置が内蔵されている。こ
のような既存の超小型デジタルカメラは自動焦点機能を果たすために自動焦点時間が長く
かかる問題点が存在して来た。したがって、自動焦点時間を縮めるための多角的な努力が
なされて来たが、電磁気力の不安定、磁気力によるレンズバレルの偏心などによってレン
ズ駆動装置の性能を低下させることがある。
【0005】
また、既存のカメラモジュールの場合、レンズの焦点位置を知るために、レンズの光軸
方向に垂直な方向に向かい合うホールセンサー(Hall sensor)(図示せず)
とセンサー用マグネット(図示せず)が配置されることができる。この場合、ホールセン
サーはセンサー用マグネットの磁場を感知し、これに相応する電圧を出力する。ホールセ
ンサーから出力される電圧によって光軸方向へのレンズの位置を把握することができるが
、光軸方向へのレンズの移動があったにもかかわらず、ホールセンサーがこれを正確に感
知することができなくてレンズの位置を把握するのに限界がある。
【発明の概要】
【発明が解決しようとする課題】
【0006】
一実施例は、ボビンの位置情報のフィードバックを受けることができるレンズ駆動装置
及びこれを含むカメラモジュールを提供する。
【0007】
他の実施例は、レンズの自動焦点時間を縮めることができるレンズ駆動装置及びこれを
含むカメラモジュールを提供する。また、レンズをレンズの焦点距離により正確で早く位
置させることができるレンズ駆動装置及びこれを含むカメラモジュールを提供する。また
、自動焦点機能を向上させるとともに空間効率性及び耐久性を向上させたレンズ駆動装置
及びこれを含むカメラモジュールを提供する。
【0008】
さらに他の実施例は、レンズの位置を正確に把握して制御することができるレンズ駆動
装置及びこれを含むカメラモジュールを提供する。
【課題を解決するための手段】
【0009】
一実施例によるレンズ駆動装置は、少なくとも一枚以上のレンズが取り付けられ、外周
面にコイルユニットが配置されるボビン;前記コイルユニットと対応する位置に駆動用マ
グネットが取り付けられるハウジング部材;前記ボビンの上面と下面にそれぞれ一端が結
合され、前記ボビンのレンズの光軸方向に平行な方向への動きを弾力的に支持する上側及
び下側弾性部材;及び前記ボビンの光軸に平行な方向への動きを感知する感知ユニットを
含み、前記感知ユニットは、前記ボビンの外周面に取り付けられるセンシングマグネット
;及び前記ハウジング部材の側壁に取り付けられ、前記センシングマグネットと向かい合
う内側面に位置感知センサーが配置された回路基板を含むことができる。
【0010】
例えば、前記レンズ駆動装置は、前記ハウジング部材を取り囲むカバー部材をさらに含
み、前記カバー部材は前記センシングマグネットと対応する面に設けられたウィンドウを
含むことができる。前記カバー部材は金属素材で形成されることができる。
(【0011】以降は省略されています)
この特許をJ-PlatPat(特許庁公式サイト)で参照する
関連特許
個人
立体像表示装置
1か月前
カンタツ株式会社
光学系
1か月前
住友化学株式会社
偏光板
1か月前
株式会社シグマ
結像光学系
20日前
株式会社シグマ
結像光学系
1か月前
住友化学株式会社
垂直偏光板
1か月前
東レ株式会社
赤外線遮蔽構成体
1か月前
東レ株式会社
貼合体の製造方法
1か月前
日本精機株式会社
ミラーユニット
29日前
古河電気工業株式会社
融着機
1か月前
日本電気株式会社
光モジュール
1か月前
日東電工株式会社
導光部材
20日前
株式会社コシナ
投射ズームレンズ
13日前
個人
多方向視差効果のための微細穴加工
1か月前
豊田合成株式会社
調光装置
7日前
三菱電機株式会社
レンズモジュール
1か月前
日東電工株式会社
光学積層体
22日前
京セラ株式会社
光学系
28日前
個人
眼鏡装着位置変更具および眼鏡
1か月前
AGC株式会社
インフィニティミラー
1か月前
住友化学株式会社
偏光板
1か月前
住友化学株式会社
偏光板
1か月前
日本精機株式会社
ヘッドアップディスプレイ
23日前
日本精機株式会社
ヘッドアップディスプレイ
20日前
住友化学株式会社
積層体
1か月前
日本精機株式会社
ヘッドアップディスプレイ装置
21日前
日本精機株式会社
ヘッドアップディスプレイ装置
20日前
マクセル株式会社
映像表示装置
13日前
新光電気工業株式会社
光導波路部品
1か月前
住友化学株式会社
偏光積層体
1か月前
住友化学株式会社
光学積層体
1か月前
新光電気工業株式会社
光導波路部品
1か月前
株式会社タムロン
ズームレンズ及び撮像装置
28日前
株式会社リコー
光走査装置及び画像形成装置
20日前
スタンレー電気株式会社
透光性樹脂部材
28日前
レーザーテック株式会社
光学装置及び調整方法
20日前
続きを見る
他の特許を見る