TOP
|
特許
|
意匠
|
商標
特許ウォッチ
Twitter
他の特許を見る
公開番号
2025172874
公報種別
公開特許公報(A)
公開日
2025-11-26
出願番号
2025142020,2022504514
出願日
2025-08-28,2020-07-24
発明の名称
ホログラフィック光学素子と共に使用する中間層およびカプセル化層
出願人
ソルティア・インコーポレーテッド
代理人
個人
,
個人
,
個人
,
個人
主分類
G02B
5/32 20060101AFI20251118BHJP(光学)
要約
【課題】ホログラフィック光学素子(HOE)を含有する積層体に組み込まれた場合に、望ましい光学特性を提供する中間層であって、HOEフィルムの特性を維持し、損ねないこと。
【解決手段】低屈折率化合物を含む第1のポリマー層およびポリマー体積ホログラムを提供するステップと、第1のポリマー層とポリマー体積ホログラムとを組み立てて組立体を形成するステップと、少なくとも第1の基板を提供するステップと、組立体と少なくとも第1の基板とを積層して積層構造体を形成するステップとを含み、第1の基板が第1のポリマー層に隣接し、ポリマー体積ホログラムの光調節特性が、積層およびポリマー中間層との低屈折率化合物の平衡化の後に、少なくとも1つの波長域における組立て前のポリマーホログラムの元の光調節特性の大きさの70%超であるように、積層構造体が、ポリマー体積ホログラム内に分配された低屈折率化合物レベルを有する、製造方法。
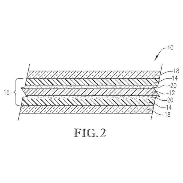
【選択図】図1
特許請求の範囲
【請求項1】
低屈折率化合物を含む第1のポリマー層およびポリマー体積ホログラムを提供するステップと、第1のポリマー層とポリマー体積ホログラムとを組み立てて組立体を形成するステップと、少なくとも第1の基板を提供するステップと、組立体と少なくとも第1の基板とを積層して積層構造体を形成するステップとを含み、第1の基板が第1のポリマー層に隣接し、ポリマー体積ホログラムの光調節特性が、積層およびポリマー中間層との低屈折率化合物の平衡化の後に、少なくとも1つの波長域における組立て前のポリマーホログラムの元の光調節特性の大きさの70%超であるように、積層構造体が、ポリマー体積ホログラム内に分配された低屈折率化合物レベルを有する、製造方法。
続きを表示(約 670 文字)
【請求項2】
初期のポリマー体積ホログラムが、低屈折率化合物を含有しない、請求項1に記載の製造方法。
【請求項3】
初期のポリマー体積ホログラムが、低屈折率化合物を含む、請求項1に記載の製造方法。
【請求項4】
1つまたは複数の付加的なポリマー層をさらに含む、請求項1から3のいずれか一項に記載の製造方法。
【請求項5】
ポリマー体積ホログラムが、第2の基板上に配置される、請求項1から4のいずれか一項に記載の製造方法。
【請求項6】
第2の基板をさらに含む、請求項1から4のいずれか一項に記載の製造方法。
【請求項7】
ポリマー層中の低屈折率化合物が、ポリマー体積ホログラム中の低屈折率化合物とは異なる、請求項3から6のいずれか一項に記載の製造方法。
【請求項8】
ポリマー層中の低屈折率化合物が、ポリマー体積ホログラム中の低屈折率化合物と同じである、請求項3から6のいずれか一項に記載の製造方法。
【請求項9】
ポリマー中間層が、ポリマー体積ホログラム中の低屈折率化合物の濃度の-25から+25重量パーセントの範囲内の濃度の低屈折率化合物を含む、請求項3から8のいずれか一項に記載の製造方法。
【請求項10】
ポリマー中間層が、積層構造体の0超から50重量パーセント未満の範囲内の低屈折率化合物の総量を含む、請求項1から9のいずれか一項に記載の製造方法。
(【請求項11】以降は省略されています)
発明の詳細な説明
【技術分野】
【0001】
[0001]本発明は、概して、ホログラフィック光学素子をカプセル化および保護するために使用されるポリマー中間層、ならびにこれらの中間層を含む積層体に関する。より詳細には、本発明は、概して、ポリマー中間層、ならびにポリマー中間層およびホログラフィック光学素子を含む少なくとも1つの層を含む積層体に関する。
続きを表示(約 3,100 文字)
【背景技術】
【0002】
[0002]一般に、多重層ガラスパネルは、中間層もしくは多層中間層または2枚のガラス板の間に挟まれた中間層で構成される積層体を含む。一部の用途では、積層体は、1枚のみのガラス板または他の剛性基板を含んでもよい。積層多重層ガラスパネルは、一般的に、建築用ウィンドウの用途に、運搬車両に(自動車、トラック、列車、ボート、飛行機を含む)、および太陽光発電ソーラーパネルに利用される。最初の2つの用途に使用される多重層ガラスパネルは、一般的に積層安全ガラスと呼ばれる。典型的には、積層安全ガラスにおける中間層の主要な機能は、ガラスに加えられた衝撃または力からもたらされるエネルギーを吸収すること、力が加えられた場合でさえも結合されたガラスの層を保持すること、かつガラスが破損した場合、ガラスが鋭い破片に飛散することを防止することである。これらの安全上の利点に加えて、中間層は、付加的に、より高い防音等級を積層ガラスに付与し、UVおよびIRの透過を低減し、および/または関連するウィンドウの美感を向上させることができる。
【0003】
[0003]典型的には、積層ガラス用途における使用を目的とする中間層は、一般に、ポリ(ビニルアセタール)などのポリマー樹脂と、1つまたは複数の可塑剤とを混合し、混合物を当業者に公知の任意の適用可能なプロセスまたは方法により溶融加工して中間層とすることにより製造される。形成された後、これらの中間層、または多層中間層は、典型的には多重層ガラスパネルにおける後での使用の前に、保管用にロールに巻き付けられる。
【0004】
[0004]中間層は、当技術分野で公知の様々な技術を使用して、多重層ガラスパネルに組み込まれ得る。例えば、少なくとも1つの中間層は、2枚の基板の間に配置され得て、過剰の中間層は端から切り取られて、それにより組立体が作り出され得る。多重中間層が2枚の基板の内またはその間に配置され、それにより外部ガラスパネルおよび多重の内部ポリマー中間層を有する多重層スタックが作り出されることは珍しいことではない。いったん形成されると、これらのスタックは、典型的には、ニップローラ、減圧バッグ、減圧リング、または別の好適な脱気機構によるなどの当業者に公知の適用可能なプロセスまたは方法により、大部分の界面空気を除去するように処理される。加えて、中間層は、当業者に公知の任意の方法により、基板に部分的に圧着され得る。最後のステップでは、脱気操作中に生成される界面結合は、典型的には高温および/または高圧の積層プロセスによりさらに持続的なものとなり、その一部はオートクレーブ処理などの当業者に公知のプロセスであるが、それに限定されない。
【0005】
[0005]ヘッドアップディスプレイ(HUD)などの付加的な機能性を必要とする、前面ガラスなどのより高性能の積層体が出現している。ポリマー層は、それらが組み込まれているガラス積層体の光学特性の妨げとなってはならない。付加的な材料は、必要とされる付加的な機能性を提供すると考えられている。
【0006】
[0006]材料、工作機械、およびパターニングにおける最近の開発は、ホログラフィが目新しい製品から高度技術用途へと推移することを可能にしている。そのような可能な用途の1つは、自動車用HUD技術を可能にする角度選択性反射素子としてのホログラフィッ
ク素子またはホログラフィック光学素子(HOE)の使用である。ホログラフィは、今、固定ディスプレイ、自動車用HUD用途、およびユーザヘッドマウント眼鏡/ディスプレイなどの用途に提案されているホログラフィック素子の使用を伴い、最近の十年間にますます急速に進展している。これらの場合の全てにおいて、所望の光学効果を生み出すために必要とされるホログラフィック素子構造体のタイプおよびパターンの理解と共に、合理的な装置設定が想定されてきた。しかしながら、ほとんどの場合、これらの技術はいまだ規模増減の初期段階にあり、組織は使用適合性基準を満たす試作品を製造することに取組んでいる。
【0007】
[0007]初期段階の開発努力のそのような例の1つは、自動車用ヘッドアップディスプレイ用途におけるホログラフィックの使用である。ダッシュ取付けプロジェクターからの光を反射する、前面ガラスまたは風防ガラスに埋め込まれたHOEを使用するホログラフィック技術の使用が提案されてきた。埋込型HOEは、非常に狭い設定の角度からの光を反射し、一方、大部分の他の角度からの光の通過を可能にするように設計され;その結果、得られたのはイン-ダッシュプロジェクター系からの入射光を反射し、一方、全ての他の角度からの光の通過を妨げない前面ガラス系である。これは、運転手が、同時に、車外で起こっていることを見て、同様にダッシュから投影された情報画像を認知することを可能にする。
【0008】
[0008]この分野における初期の導入者は、角度標的化された投射光を反射し、一方、他の角度での光をフィルム透過させる能力を維持する、両方の能力を実証することが可能な試作HOEフィルムを首尾よく設計し、製造した。しかしながら、完成された風防ガラスにこれらのフィルムを組み込む場合、所望の光学特性を維持するには著しく困難な課題がある。最終的な積層ガラス構成体へのHOEフィルムの積層が、HOEにより反射される光の質および強度に影響を及ぼす、意図しない材料変化を常にもたらす。より詳細には、市販の中間層とHOEフィルムを結合する場合の多くは、処理可能性および/または機能性に関して欠陥をもたらす。
【0009】
[0009]上記のHOE障害の大多数は、風防ガラスなどの最終部品を作製するために使用される材料およびプロセスにつながる場合がある。PVBおよびポリウレタン(TPU)中間層などの従来的な中間層フィルムに直接に、または共にHOEを積層する試みは、典型的には50~90%程度の反射応答の強度における著しい低減をもたらすが、他の低減も可能である。浸透性が制限された剛性表板でキャッピングすることにより、ポリマー中間層からHOEを分離または保護することは、応答の強度を保持する助けとなるが、費用との関連があり、また反射応答の質を低下させるレベル(反射される大きさの変化)で、HOEフィルムのしわおよび斑紋をもたらすという意図しない結果もあり得る。積層の質はまた、ベーク試験および/またはHOEの外縁辺りに閉じ込められた目視できる空気により明白となるように、剛性ポリマー基板キャップ層の添加で低下され得る。
【0010】
[0010]市販のHOEフィルムは様々な材料で構成されている。ほとんどの場合、これらのフィルムは、剛性基板上に被覆された、特に配合された弾性感光性ポリマーフィルムを含む。最終的な反射フィルムでは、HOEは、弾性感光性ポリマーフィルム内に低および高屈折率を有する慎重に設計された区域を作り出す化学反応を推し進めるために、高輝度光(1つまたは多重のレーザなど)を使用することにより、所望の光学効果のためにパターン化される。低屈折率化合物(LRIC)(または複数のLRIC)はまた、感光性ポリマー層に組み込まれることが多く、パターン化構造体内の屈折率差を増加させ、HOE応答の強度を高める。
(【0011】以降は省略されています)
この特許をJ-PlatPat(特許庁公式サイト)で参照する
関連特許
個人
立体像表示装置
1か月前
カンタツ株式会社
光学系
1か月前
住友化学株式会社
偏光板
1か月前
株式会社シグマ
結像光学系
1か月前
株式会社シグマ
結像光学系
20日前
住友化学株式会社
垂直偏光板
1か月前
東レ株式会社
赤外線遮蔽構成体
1か月前
東レ株式会社
貼合体の製造方法
1か月前
日本精機株式会社
ミラーユニット
29日前
古河電気工業株式会社
融着機
1か月前
日本電気株式会社
光モジュール
1か月前
豊田合成株式会社
調光装置
7日前
株式会社コシナ
投射ズームレンズ
13日前
個人
多方向視差効果のための微細穴加工
1か月前
日東電工株式会社
導光部材
20日前
日東電工株式会社
光学積層体
22日前
三菱電機株式会社
レンズモジュール
1か月前
個人
眼鏡装着位置変更具および眼鏡
1か月前
京セラ株式会社
光学系
28日前
住友化学株式会社
偏光板
1か月前
住友化学株式会社
偏光板
1か月前
住友化学株式会社
積層体
1か月前
日本精機株式会社
ヘッドアップディスプレイ
20日前
AGC株式会社
インフィニティミラー
1か月前
日本精機株式会社
ヘッドアップディスプレイ
23日前
マクセル株式会社
映像表示装置
13日前
新光電気工業株式会社
光導波路部品
1か月前
新光電気工業株式会社
光導波路部品
1か月前
日本精機株式会社
ヘッドアップディスプレイ装置
21日前
日本精機株式会社
ヘッドアップディスプレイ装置
20日前
住友化学株式会社
光学積層体
1か月前
住友化学株式会社
偏光積層体
1か月前
株式会社リコー
光走査装置及び画像形成装置
20日前
株式会社タムロン
ズームレンズ及び撮像装置
28日前
レーザーテック株式会社
光学装置及び調整方法
20日前
スタンレー電気株式会社
透光性樹脂部材
28日前
続きを見る
他の特許を見る