TOP
|
特許
|
意匠
|
商標
特許ウォッチ
Twitter
他の特許を見る
10個以上の画像は省略されています。
公開番号
2025172683
公報種別
公開特許公報(A)
公開日
2025-11-26
出願番号
2025027774
出願日
2025-02-25
発明の名称
画像形成装置、画像形成方法、画像形成システムおよびプログラム
出願人
株式会社リコー
代理人
弁理士法人ITOH
主分類
B41J
29/38 20060101AFI20251118BHJP(印刷;線画機;タイプライター;スタンプ)
要約
【課題】印刷効率を向上させることができる画像形成装置の提供を目的とする。
【解決手段】本発明の一態様に係る画像形成装置は、第1印刷ジョブによって印刷され、後処理が施される前のシートを積載し、前記シートが満載になると前記第1印刷ジョブを停止させる停止信号を送信するバッファ部と、前記第1印刷ジョブによって印刷され、後処理を施した前記シートを排出する第1排出部と、前記停止信号の受信によって前記第1印刷ジョブが停止した後に実行を開始する第2印刷ジョブによって印刷された前記シートを排出する第2排出部と、印刷性能に基づいて印刷ジョブごとの印刷に要する予想印刷時間を算出し、後処理性能に基づいて前記印刷ジョブごとの後処理に要する予想後処理時間を算出する算出部と、前記予想印刷時間および前記予想後処理時間に基づいて、複数の前記印刷ジョブから前記第2印刷ジョブとする印刷ジョブを選択する選択部と、を備える。
【選択図】図6
特許請求の範囲
【請求項1】
第1印刷ジョブによって印刷され、後処理が施される前のシートを積載し、前記シートが満載になると前記第1印刷ジョブを停止させる停止信号を送信するバッファ部と、
前記第1印刷ジョブによって印刷され、後処理を施した前記シートを排出する第1排出部と、
前記停止信号の受信によって前記第1印刷ジョブが停止した後に実行を開始する第2印刷ジョブによって印刷された前記シートを排出する第2排出部と、
印刷性能に基づいて印刷ジョブごとの印刷に要する予想印刷時間を算出し、後処理性能に基づいて前記印刷ジョブごとの後処理に要する予想後処理時間を算出する算出部と、
前記予想印刷時間および前記予想後処理時間に基づいて、複数の前記印刷ジョブから前記第2印刷ジョブとする前記印刷ジョブを選択する選択部と、
を備える画像形成装置。
続きを表示(約 1,800 文字)
【請求項2】
前記算出部は、
前記第1印刷ジョブを停止する時間であって、前記予想後処理時間から前記予想印刷時間を引いた時間である印刷一時停止時間と、複数の前記第1印刷ジョブの前記印刷一時停止時間の累計時間である累計印刷一時停止時間と、を算出し、
前記選択部は、
前記予想印刷時間および前記累計印刷一時停止時間を比較することによって、前記第2印刷ジョブとする前記印刷ジョブを選択する、
請求項1に記載の画像形成装置。
【請求項3】
前記選択部は、
前記第1印刷ジョブの前記予想印刷時間が、当該第1印刷ジョブの1つ前に受け付けられた前記第1印刷ジョブの前記累計印刷一時停止時間以上であって、
当該第1印刷ジョブの前記予想印刷時間が、当該第1印刷ジョブの前記印刷一時停止時間を除いた当該第1印刷ジョブの1つ後に受け付けられた前記第1印刷ジョブの前記累計印刷一時停止時間未満であれば、
当該第1印刷ジョブを前記第2印刷ジョブとして選択する、
請求項2に記載の画像形成装置。
【請求項4】
一連の前記印刷ジョブの印刷が完了した後に、前記第1印刷ジョブと前記第2印刷ジョブとの前後関係を含むジョブ情報を印刷した前記シートを排出する、
請求項1に記載の画像形成装置。
【請求項5】
第1印刷ジョブによって印刷され、後処理が施される前のシートを積載し、前記シートが満載になると前記第1印刷ジョブを停止させる停止信号を送信するバッファ部と、
前記第1印刷ジョブによって印刷され、後処理を施した前記シートを排出する第1排出部と、
前記停止信号の受信によって前記第1印刷ジョブが停止した後に実行を開始する第2印刷ジョブによって印刷された前記シートを排出する第2排出部と、
印刷性能に基づいて印刷ジョブごとの印刷に要する予想印刷時間を算出し、後処理性能に基づいて前記印刷ジョブごとの後処理に要する予想後処理時間を算出する算出手段と、
前記予想印刷時間および前記予想後処理時間に基づいて、複数の前記印刷ジョブから前記第2印刷ジョブとする前記印刷ジョブを選択する選択手段と、
を備える画像形成システム。
【請求項6】
第1印刷ジョブによって印刷され、後処理が施される前のシートを積載するバッファ部と、
前記第1印刷ジョブによって印刷され、後処理を施した前記シートを排出する第1排出部と、
第2印刷ジョブによって印刷された前記シートを排出する第2排出部と、
を備える画像形成装置が実行する画像形成方法であって、
前記バッファ部に積載された前記シートが満載になると前記第1印刷ジョブを停止させる停止信号を送信するステップと、
前記停止信号の受信によって前記第1印刷ジョブが停止した後に前記第2印刷ジョブの実行を開始するステップと、
印刷性能に基づいて印刷ジョブごとの印刷に要する予想印刷時間を算出し、後処理性能に基づいて前記印刷ジョブごとの後処理に要する予想後処理時間を算出するステップと、
前記予想印刷時間および前記予想後処理時間に基づいて、複数の前記印刷ジョブから前記第2印刷ジョブとする前記印刷ジョブを選択するステップと、
を含む画像形成方法。
【請求項7】
第1印刷ジョブによって印刷され、後処理が施される前のシートを積載するバッファ部と、
前記第1印刷ジョブによって印刷され、後処理を施した前記シートを排出する第1排出部と、
第2印刷ジョブによって印刷された前記シートを排出する第2排出部と、
を備える画像形成装置に実行させるプログラムであって、
前記バッファ部に積載された前記シートが満載になると前記第1印刷ジョブを停止させる停止信号を送信する処理と、
前記停止信号の受信によって前記第1印刷ジョブが停止した後に前記第2印刷ジョブの実行を開始する処理と、
印刷性能に基づいて印刷ジョブごとの印刷に要する予想印刷時間を算出し、後処理性能に基づいて前記印刷ジョブごとの後処理に要する予想後処理時間を算出する処理と、
前記予想印刷時間および前記予想後処理時間に基づいて、複数の前記印刷ジョブから前記第2印刷ジョブとする前記印刷ジョブを選択する処理と、
を実行させるプログラム。
発明の詳細な説明
【技術分野】
【0001】
本発明は、画像形成装置、画像形成方法、画像形成システムおよびプログラムに関する。
続きを表示(約 1,800 文字)
【背景技術】
【0002】
画像形成装置において、接続されている後処理機との処理速度の差異を補填するバッファを設ける技術が知られている。特許文献1には、複数のジョブの入力を受け付けて並行処理を行い、ページを印刷した用紙を複数の排紙トレイのうち何れの排紙トレイに出力させるかを関連づけ、排紙トレイ毎のページを出力待ちページキューに蓄積する印刷装置に関する技術が開示されている。
【発明の概要】
【発明が解決しようとする課題】
【0003】
受け付けたジョブと排紙トレイが関連付けられると、関連付けられたトレイが使用状態であって空いていない場合、印刷待ちが発生することから、印刷効率が低下する虞がある。
【0004】
本発明は、上記の課題を解決するため、印刷効率を向上させる画像形成装置の提供を目的とする。
【課題を解決するための手段】
【0005】
本発明の一態様に係る画像形成装置は、第1印刷ジョブによって印刷され、後処理が施される前のシートを積載し、前記シートが満載になると前記第1印刷ジョブを停止させる停止信号を送信するバッファ部と、前記第1印刷ジョブによって印刷され、後処理を施した前記シートを排出する第1排出部と、前記停止信号の受信によって前記第1印刷ジョブが停止した後に実行を開始する第2印刷ジョブによって印刷された前記シートを排出する第2排出部と、印刷性能に基づいて印刷ジョブごとの印刷に要する予想印刷時間を算出し、後処理性能に基づいて前記印刷ジョブごとの後処理に要する予想後処理時間を算出する算出部と、前記予想印刷時間および前記予想後処理時間に基づいて、複数の前記印刷ジョブから前記第2印刷ジョブとする前記印刷ジョブを選択する選択部と、を備える。
【発明の効果】
【0006】
本発明に係る画像形成装置によれば、印刷効率を向上させることができる。
【図面の簡単な説明】
【0007】
本発明の一実施形態に係る画像形成装置の全体構成の概略図である。
本発明の一実施形態に係る画像形成装置のハードウェア構成図である。
本発明の一実施形態に係る画像形成装置の機能ブロック図である。
本発明の一実施形態に係る画像形成装置が排出するジョブ情報を印刷したシートの例を示す図である。
本発明の一実施形態に係る画像形成装置が実行する画像形成方法を示すフロー図である。
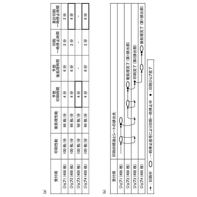
本発明の一実施形態に係る画像形成装置における印刷ジョブごとの進捗、後処理の速度および印刷速度の関係を説明するための図である。
本発明の一実施形態に係る画像形成装置の実施例1を示す図である。
本発明の一実施形態に係る画像形成装置の実施例2を示す図である。
本発明の一実施形態に係る画像形成装置の実施例3を示す図である。
【発明を実施するための形態】
【0008】
以下、図面を参照して発明を実施するための形態について説明する。各図面において、同一構成部分には同一符号を付し、重複した説明を省略する場合がある。
【0009】
[実施形態]
<画像形成装置1の構成>
図1は、本発明の一実施形態に係る画像形成装置1の全体構成の概略図である。画像形成装置1は、例えば、プリンタ、コピー、ファクシミリ等の機能を含むMFP(Multifunction Peripheral)や、プリンタ等の画像形成機能を含む電子機器であってもよい。
【0010】
画像形成装置1は、画像形成部10、搬送部20、後処理機構30、第1排出部41および第2排出部42を備える。第2排出部42は、搬送部20に含まれてもよい。図中の矢印は、シートPの流れを示す。以下では、印刷されたシートPを、後処理を施して第1排出部41に排出する印刷ジョブを第1印刷ジョブ、印刷されたシートPを第2排出部42に排出する印刷ジョブを第2印刷ジョブとする。図中の矢印F1は、第1印刷ジョブによって印刷されたシートPの流れを示す。また、図中の矢印F2は、第2印刷ジョブによって印刷されたシートPの流れを示す。
(【0011】以降は省略されています)
この特許をJ-PlatPat(特許庁公式サイト)で参照する
関連特許
株式会社リコー
移動体
1か月前
株式会社リコー
画像形成装置
21日前
株式会社リコー
画像形成装置
1か月前
株式会社リコー
画像形成装置
12日前
株式会社リコー
外観検査装置
6日前
株式会社リコー
画像形成装置
27日前
株式会社リコー
画像形成装置
27日前
株式会社リコー
画像形成装置
1か月前
株式会社リコー
服薬支援装置
12日前
株式会社リコー
機器及び異常判定方法
1か月前
株式会社リコー
画像形成装置、及び、機器
20日前
株式会社リコー
画像形成装置及びシステム
1か月前
株式会社リコー
定着装置、及び画像形成装置
1か月前
株式会社リコー
光走査装置及び画像形成装置
19日前
株式会社リコー
延長トレイ及び画像形成装置
1か月前
株式会社リコー
シート供給装置、画像形成装置
19日前
株式会社リコー
画像形成装置及び異常判定方法
12日前
株式会社リコー
画像読取装置及び画像読取方法
29日前
株式会社リコー
表示装置、切替方法、プログラム
1か月前
株式会社リコー
画像形成装置および画像形成方法
12日前
株式会社リコー
画像形成装置、及び画像形成方法
6日前
株式会社リコー
加熱搬送装置、及び、画像形成装置
20日前
株式会社リコー
加熱装置、定着装置、画像形成装置
22日前
株式会社リコー
媒体処理装置及び画像形成システム
1か月前
株式会社リコー
樹脂粒子、及び樹脂粒子の製造方法
27日前
株式会社リコー
通信装置、通信方法、及びプログラム
1か月前
株式会社リコー
通信端末、通信方法、及びプログラム
1か月前
株式会社リコー
加熱装置、定着装置及び画像形成装置
6日前
株式会社リコー
シート給送装置及び画像形成システム
1か月前
株式会社リコー
加熱装置、定着装置及び画像形成装置
1か月前
株式会社リコー
読取装置、読取方法およびプログラム
1か月前
株式会社リコー
樹脂粒子、トナー、及び、画像形成装置
19日前
株式会社リコー
光源装置、画像投影装置および調整方法
1か月前
株式会社リコー
通信装置、状態制御方法、及びプログラム
1か月前
株式会社リコー
ノード、データ共有方法、及びプログラム
1か月前
株式会社リコー
画像形成装置、情報処理方法及びプログラム
1か月前
続きを見る
他の特許を見る