TOP
|
特許
|
意匠
|
商標
特許ウォッチ
Twitter
他の特許を見る
公開番号
2025172155
公報種別
公開特許公報(A)
公開日
2025-11-20
出願番号
2025148887,2024077286
出願日
2025-09-09,2024-05-10
発明の名称
スタンプ
出願人
株式会社タイヨートマー
,
株式会社こどものかお
,
惠州万璽科技有限公司
代理人
弁理士法人とこしえ特許事務所
主分類
B41K
1/04 20060101AFI20251113BHJP(印刷;線画機;タイプライター;スタンプ)
要約
【課題】複数の印面を有する非回転式のスタンプにおいて、汎用性に優れたスタンプを提供する。
【解決手段】印面112を含み、単体で押印可能なスタンプユニット11と、複数の前記スタンプユニット11を所定の配列で支持する固定フレーム12と、を備え、前記スタンプユニット11のそれぞれは、前記固定フレーム12に着脱可能に設けられている。
【選択図】 図3
特許請求の範囲
【請求項1】
印面を含み、単体で押印可能なスタンプユニットと、
複数の前記スタンプユニットを所定の配列で支持する固定フレームと、を備え、
前記スタンプユニットのそれぞれは、前記固定フレームに着脱可能に設けられている非回転式スタンプ。
発明の詳細な説明
【技術分野】
【0001】
本発明は、スタンプに関し、特に複数の印面を有する非回転式のスタンプに関するものである。
続きを表示(約 1,600 文字)
【背景技術】
【0002】
この種の複数の印面を有する非回転式のスタンプとして、複数の異なる印面を同一位置に押圧印字して重ね印字することにより、多色印字を可能にした浸透印式スタンプが知られている(特許文献1)。
【先行技術文献】
【特許文献】
【0003】
特開平11-263057号公報
【発明の概要】
【発明が解決しようとする課題】
【0004】
しかしながら、上記従来の複数の印面を有する非回転式のスタンプは、同一位置に精度良く重ね印字するために、印面が印面保持部に予め固定されているので、個々の印面を取り外すことができない。そのため、異なる印面に交換したり、印面の位置を互いに取り替えたりすることができず、汎用性に欠けるという問題がある。
【0005】
本発明が解決しようとする課題は、複数の印面を有する非回転式のスタンプにおいて、汎用性に優れたスタンプを提供することである。
【課題を解決するための手段】
【0006】
本発明は、印面を含み、単体で押印可能なスタンプユニットと、複数の前記スタンプユニットを所定の配列で支持する固定フレームと、を備え、
前記スタンプユニットのそれぞれは、前記固定フレームに着脱可能に設けられている非回転式スタンプによって上記課題を解決する。
【発明の効果】
【0007】
本発明によれば、スタンプユニットのそれぞれは、前記固定フレームに着脱可能に設けられているので、異なるスタンプユニットに交換したり、スタンプユニットの位置を互いに取り替えたりすることができ、汎用性に優れたスタンプを提供することができる。
【図面の簡単な説明】
【0008】
本発明の一実施の形態に係るスタンプの全体を示す斜視図である。
図1のスタンプを示す三面図(平面図、側面図及び正面図)である。
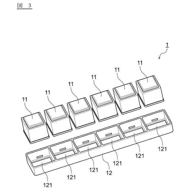
図1のスタンプの固定フレームからスタンプユニットを取り外した状態を示す斜視図である。
図1のスタンプユニットを示す斜視図である。
図4のスタンプユニットを示す分解斜視図である。
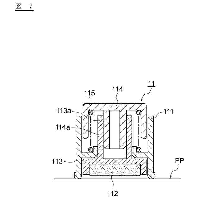
図2のVI-VI線に沿う断面図である。
図6からスタンプユニットを抽出して示す断面図である。
【発明を実施するための形態】
【0009】
以下、図面を参照しながら、本発明を実施するための形態例を説明する。図1は、本発明の一実施の形態に係るスタンプ1を示す斜視図、図2は、本実施形態のスタンプ1を示す三面図(左上が平面図、右上が側面図、左下が正面図)である。本実施形態のスタンプ1は、複数の印面を有するスタンプであって、印面を含む複数のスタンプユニットが固定フレームに固定された非回転式スタンプである。すなわち本実施形態のスタンプ1は、複数の印面がベルトなどを介して回転する、いわゆる回転式スタンプではない。また、本実施形態のスタンプ1は、スタンプ本体を捺印紙面に置いた状態で押しボタンを押し、これにより印面を含む可動部分が捺印紙面に接近して捺印を行う、いわゆる押しボタン式スタンプである。
【0010】
そのため、本実施形態のスタンプ1は、図1及び図2に示すように、複数のスタンプユニット11と、固定フレーム12と、ケース13とを備える。以下、各部材について説明する。図3は、本実施形態のスタンプ1の固定フレーム12からスタンプユニット11を取り外した状態を示す斜視図、図4は、本実施形態のスタンプユニット11を示す斜視図、図5は、本実施形態のスタンプユニット11を示す分解斜視図、図6は、図2のVI-VI線に沿う断面図、図7は、図6からスタンプユニット11だけを抽出して示す断面図である。
(【0011】以降は省略されています)
この特許をJ-PlatPat(特許庁公式サイト)で参照する
関連特許
個人
箔熱転写装置
2か月前
シヤチハタ株式会社
印判
6か月前
東レ株式会社
凸版印刷版原版
11か月前
シヤチハタ株式会社
反転式印判
10か月前
キヤノン株式会社
記録装置
2か月前
三光株式会社
感熱記録材料
7か月前
独立行政法人 国立印刷局
印刷物
8か月前
キヤノン株式会社
電子機器
18日前
株式会社リコー
画像形成装置
2か月前
独立行政法人 国立印刷局
貼付装置
3か月前
独立行政法人 国立印刷局
記録媒体
10か月前
日本製紙株式会社
感熱記録体
9か月前
株式会社リコー
液体吐出装置
9か月前
株式会社リコー
液体吐出装置
9か月前
株式会社リコー
液体吐出装置
3か月前
独立行政法人 国立印刷局
貼付機構
3か月前
株式会社リコー
液体吐出装置
7か月前
株式会社リコー
液体吐出装置
6か月前
株式会社リコー
印刷システム
1か月前
株式会社リコー
液体吐出装置
5か月前
株式会社リコー
液体吐出装置
6か月前
株式会社リコー
画像形成装置
1か月前
株式会社リコー
液体吐出装置
9か月前
株式会社リコー
画像形成装置
1か月前
理想科学工業株式会社
印刷装置
8か月前
ブラザー工業株式会社
液体吐出ヘッド
2か月前
キヤノン株式会社
画像形成装置
10か月前
キヤノン株式会社
印刷制御装置
11か月前
シャープ株式会社
画像形成装置
1か月前
キヤノン株式会社
画像形成装置
2か月前
キヤノン株式会社
印刷システム
8か月前
ブラザー工業株式会社
プリンタ
3か月前
キヤノン株式会社
画像形成装置
1か月前
キヤノン株式会社
画像形成装置
9か月前
キヤノン株式会社
画像形成装置
6か月前
キヤノン株式会社
画像形成装置
9か月前
続きを見る
他の特許を見る