TOP
|
特許
|
意匠
|
商標
特許ウォッチ
Twitter
他の特許を見る
公開番号
2025171936
公報種別
公開特許公報(A)
公開日
2025-11-20
出願番号
2024223879
出願日
2024-12-19
発明の名称
対象物検出装置、対象物検出システム、対象物検出方法およびプログラム
出願人
株式会社PFU
代理人
弁理士法人酒井国際特許事務所
主分類
G01N
23/087 20180101AFI20251113BHJP(測定;試験)
要約
【課題】マルチエナジーX線画像に基づいて特定の対象物を精度よく検出することができる対象物検出装置、対象物検出システム、対象物検出方法およびプログラムを提供する。
【解決手段】X線撮像装置から、複数の種類のX線データに基づいたマルチエナジーX線画像を取得する取得部と、取得部により取得されたマルチエナジーX線画像に基づいて、対象物の位置を出力するように予め学習した第1学習モデルを用いて当該対象物の位置を検出する検出部と、を備える。
【選択図】図9
特許請求の範囲
【請求項1】
X線撮像装置から、複数の種類のX線データに基づいたマルチエナジーX線画像を取得する取得部と、
前記取得部により取得された前記マルチエナジーX線画像に基づいて、対象物の位置を出力するように予め学習した第1学習モデルを用いて該対象物の位置を検出する検出部と、
を備えた対象物検出装置。
続きを表示(約 1,300 文字)
【請求項2】
前記取得部により取得された前記マルチエナジーX線画像から、前記対象物を含む第1画像を生成する第1画像処理部を、さらに備え、
前記検出部は、前記第1画像に基づいて前記第1学習モデルを用いて前記対象物の位置を検出する請求項1に記載の対象物検出装置。
【請求項3】
素材と、マルチエナジーX線画像の画素値の範囲と、を関連付けた関連付け情報を記憶する記憶部を、さらに備え、
前記第1画像処理部は、前記取得部により取得された前記マルチエナジーX線画像から、前記関連付け情報において前記対象物の素材に関連付けられた範囲の画素値を抽出することによって、前記第1画像を生成する請求項2に記載の対象物検出装置。
【請求項4】
前記第1画像処理部により生成された前記第1画像から、所定面積未満の連結要素を削除する第2画像処理部を、さらに備え、
前記検出部は、前記第2画像処理部により前記連結要素が削除された前記第1画像に基づいて、前記第1学習モデルを用いて前記対象物の位置を検出する請求項2に記載の対象物検出装置。
【請求項5】
前記取得部により取得された前記マルチエナジーX線画像から、所定面積未満の連結要素を削除する第2画像処理部を、さらに備え、
前記検出部は、前記第2画像処理部により前記連結要素が削除された前記マルチエナジーX線画像に基づいて、前記第1学習モデルを用いて前記対象物の位置を検出する請求項1に記載の対象物検出装置。
【請求項6】
前記第2画像処理部は、
前記連結要素の数が1以上であり、かつ該連結要素の面積が所定面積以上であるか否かを判定し、
前記連結要素の数が1以上であり、かつ該連結要素の面積が所定面積以上であると判定した場合、所定面積未満の連結要素を削除する請求項4または5に記載の対象物検出装置。
【請求項7】
前記第1学習モデルは、予めマルチエナジーX線画像における前記対象物の形状、X線減衰量および素材情報のうち少なくともいずれか1つを特徴として学習した請求項1~5のいずれか一項に記載の対象物検出装置。
【請求項8】
前記検出部は、前記取得部により取得された前記マルチエナジーX線画像に基づいて、前記位置に加えて、前記対象物の大きさおよび角度のうち少なくともいずれかを出力するように予め学習した第1学習モデルを用いて該対象物の位置および角度を検出する請求項1~5のいずれか一項に記載の対象物検出装置。
【請求項9】
前記検出部により検出された位置および周辺を含む第2画像を切り出す第3画像処理部と、
予め画像から前記対象物であるか否かを出力するように学習した第2学習モデルを用いて、前記第3画像処理部により切り出された前記第2画像に前記対象物が含まれるか否かを判定する判定部と、
をさらに備えた請求項1~5のいずれか一項に記載の対象物検出装置。
【請求項10】
前記対象物は、リチウムイオン電池である請求項1~5のいずれか一項に記載の対象物検出装置。
(【請求項11】以降は省略されています)
発明の詳細な説明
【技術分野】
【0001】
本開示の技術は、対象物検出装置、対象物検出システム、対象物検出方法およびプログラムに関する。
続きを表示(約 2,400 文字)
【背景技術】
【0002】
X線撮像装置によりゴミに紛れ込んでいる所定の対象物を検出する技術が知られている。例えばゴミの中間処理の際に誤って混入したリチウムイオン電池が発火して火災になるという社会問題があり、現状有効な自動検知手段がなく人による手選別に頼っている。また、ゴミは複層状態となっており、リチウムイオン電池等は製品に内蔵されているため、外観から判別しにくく、検出の技術的難易度が高い。
【0003】
このようなX線撮像装置を用いた物体の識別技術として、デュアルエナジーX線画像の素材を識別する情報に基づいて識別結果を疑似カラー化する技術が開示されている。
【先行技術文献】
【特許文献】
【0004】
特許第4806441号公報
【発明の概要】
【発明が解決しようとする課題】
【0005】
しかしながら、従来の技術は、デュアルエナジーX線画像に基づいて疑似カラー化することによる視認性の向上に留まるものであり、特定の対象物を自動的に検出することができないという問題がある。
【0006】
開示の技術は、かかる点に鑑みてなされたものであって、マルチエナジーX線画像に基づいて特定の対象物を精度よく検出することができる対象物検出装置、対象物検出システム、対象物検出方法およびプログラムを提供することを目的とする。
【課題を解決するための手段】
【0007】
本開示の一態様による物体認識装置は、X線撮像装置から、複数の種類のX線データに基づいたマルチエナジーX線画像を取得する取得部と、前記取得部により取得された前記マルチエナジーX線画像に基づいて、対象物の位置を出力するように予め学習した第1学習モデルを用いて該対象物の位置を検出する検出部と、を備えたことを特徴とする。
【発明の効果】
【0008】
開示の対象物検出装置、対象物検出システム、対象物検出方法およびプログラムは、マルチエナジーX線画像に基づいて特定の対象物を精度よく検出することができる。
【図面の簡単な説明】
【0009】
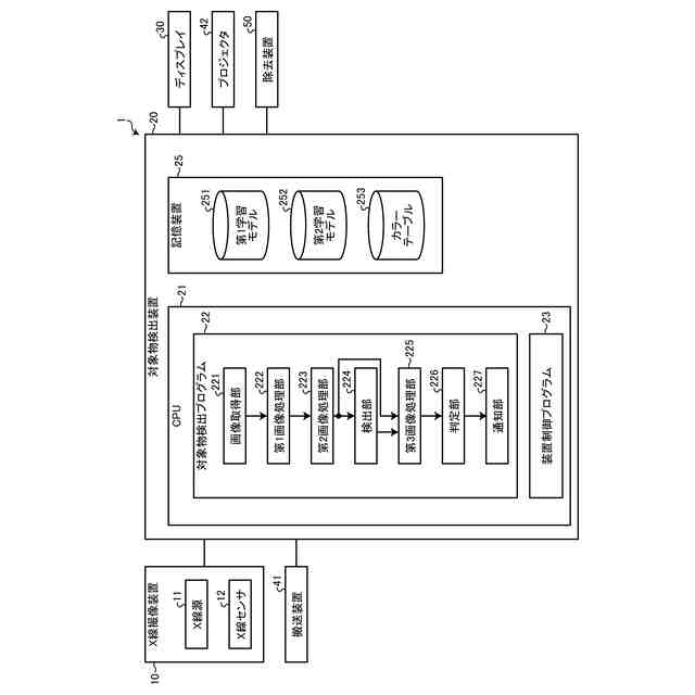
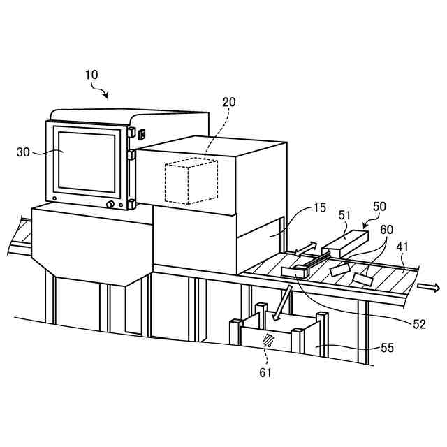
図1は、実施例1に係る対象物検出システムの全体構成の一例を示す図である。
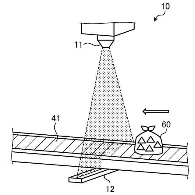
図2は、実施例1に係るX線撮像装置の構成の概要を説明する図である。
図3は、実施例1に係る対象物検出システムに除去装置が含まれる場合の構成の一例を示す図である。
図4は、デュアルエナジーX線画像の一例を示す図である。
図5は、シングルエナジーX線画像およびデュアルエナジーX線画像において各物質の表示態様の相違を説明する図である。
図6は、シングルエナジーX線画像およびデュアルエナジーX線画像において対象物の表示態様の相違を説明する図である。
図7は、容器包装プラスチックごみの中に対象物が混入している場合の対象物検出装置20の動作概要を説明する図である。
図8は、不燃ごみの中に対象物が混入している場合の対象物検出装置20の動作概要を説明する図である。
図9は、実施例1に係る対象物検出システムのブロック構成の一例を示す図である。
図10は、実施例1に係る対象物検出装置の第1画像処理部の処理を説明する図である。
図11は、実施例1に係る対象物検出装置の第2画像処理部の処理を説明する図である。
図12は、不燃ごみを示す画像の一例を示す図である。
図13は、パウチ型リチウムイオン電池を示す画像の一例を示す図である。
図14は、実施例1に係る対象物検出装置の第3画像処理部の処理を説明する図である。
図15は、実施例1に係る対象物検出装置の判定部の処理を説明する図である。
図16は、実施例1に係る対象物検出装置の通知部によるディスプレイの表示動作の一例を示す図である。
図17は、実施例1に係る対象物検出装置の通知部によるディスプレイの表示動作の一例を示す図である。
図18は、実施例1に係る対象物検出装置の通知部によりプロジェクタに対象物を含む搬送物を照射させる動作例を示す図である。
図19は、実施例1に係る対象物検出装置の通知部によりプロジェクタに対象物を照射させる動作例を示す図である。
図20は、実施例1に係る対象物検出装置の通知部によりプロジェクタに対象物の位置表示部を照射させる動作例を示す図である。
図21は、他の素材の厚みの違いによる表示態様の相違を説明する図である。
図22は、実施例1に係る対象物検出装置の通知部によりプロジェクタに対象物を含む広い範囲を照射させる動作例を示す図である。
図23は、実施例1に係る対象物検出システムの動作の流れの一例を示すフローチャートである。
図24は、実施例2に係る対象物検出装置の機能ブロックの構成の別形態を説明する図である。
図25は、実施例3に係る対象物検出装置の機能ブロックの構成の別形態を説明する図である。
【発明を実施するための形態】
【0010】
以下に、図面を参照しながら、本願が開示する対象物検出装置、対象物検出システム、対象物検出方法およびプログラムの実施形態を詳細に説明する。また、以下の記載によって本開示の技術が限定されるものではなく、以下の記載における構成要素には、当業者が容易に想到できるもの、実質的に同一のもの、およびいわゆる均等の範囲のものが含まれる。さらに、以下の実施形態の要旨を逸脱しない範囲で構成要素の種々の省略、置換、変更および組み合わせを行うことができる。
【実施例】
(【0011】以降は省略されています)
この特許をJ-PlatPat(特許庁公式サイト)で参照する
関連特許
株式会社PFU
情報処理装置、文字認識方法、プログラム
23日前
株式会社PFU
媒体搬送装置
2日前
株式会社PFU
媒体搬送装置
15日前
株式会社PFU
媒体搬送装置
23日前
株式会社PFU
媒体搬送装置
1か月前
株式会社PFU
対象物検出装置、対象物検出システム、対象物検出方法およびプログラム
2日前
株式会社PFU
媒体搬送装置、制御方法及び制御プログラム
2か月前
日本精機株式会社
検出装置
17日前
個人
採尿及び採便具
23日前
個人
計量機能付き容器
12日前
個人
アクセサリー型テスター
1か月前
個人
高精度同時多点測定装置
1か月前
株式会社ミツトヨ
測定器
29日前
株式会社カクマル
境界杭
2日前
甲神電機株式会社
電流検出装置
17日前
アズビル株式会社
電磁流量計
1か月前
大成建設株式会社
風洞実験装置
12日前
長崎県
形状計測方法
1か月前
愛知時計電機株式会社
ガスメータ
29日前
日本特殊陶業株式会社
ガスセンサ
10日前
ローム株式会社
半導体装置
1か月前
個人
計量具及び計量機能付き容器
12日前
愛知電機株式会社
軸部材の外観検査装置
26日前
大和製衡株式会社
組合せ計量装置
26日前
大和製衡株式会社
組合せ計量装置
26日前
日本信号株式会社
距離画像センサ
15日前
ローム株式会社
半導体装置
1か月前
個人
非接触による電磁パルスの測定方法
15日前
双庸電子株式会社
誤配線検査装置
18日前
個人
システム、装置及び実験方法
1か月前
株式会社デンソー
電流センサ
1か月前
キーコム株式会社
画像作成システム
2日前
トヨタ自動車株式会社
測定システム
1か月前
日本特殊陶業株式会社
センサ
29日前
個人
液位検視及び品質監視システム
10日前
日東精工株式会社
振動波形検査装置
18日前
続きを見る
他の特許を見る