TOP
|
特許
|
意匠
|
商標
特許ウォッチ
Twitter
他の特許を見る
公開番号
2025171603
公報種別
公開特許公報(A)
公開日
2025-11-20
出願番号
2024077114
出願日
2024-05-10
発明の名称
光学モジュールおよびそれを搭載した三次元スキャナ、ならびに、三次元スキャナの調整方法
出願人
株式会社モリタ製作所
代理人
弁理士法人深見特許事務所
主分類
G01B
11/24 20060101AFI20251113BHJP(測定;試験)
要約
【課題】三次元スキャナにおける測定精度の低下を防止する。
【解決手段】光学モジュールは、光源からの光により合焦法を用いて対象物の三次元の形状情報を取得する三次元スキャナに用いられ、センサ、ビームスプリッタ、パターンプレート、筐体、シムを備える。センサは、対象物で反射された光源からの光を検出し、ビームスプリッタは、光源から対象物に至る光路と、対象物からセンサに至る光路とを分ける。パターンプレートは、光源とビームスプリッタとの間に配置され、光源からの光によりセンサ上に基準パターンを投影するように構成される。筐体には、センサ、ビームスプリッタおよびパターンプレートが配置される。シムは、パターンプレートとビームスプリッタとの間の距離を調整する。筐体はパターンプレートを配置するための凹部を有している。パターンプレートは、凹部内において、光源からの光の光軸周りに所定の角度範囲内で回転可能に支持される。
【選択図】図3
特許請求の範囲
【請求項1】
光源からの光により合焦法を用いて対象物の三次元の形状情報を取得する三次元スキャナに用いられる光学モジュールであって、
前記対象物で反射された前記光源からの光を検出するセンサと、
前記光源から前記対象物に至る光路と、前記対象物から前記センサに至る光路とを分けるビームスプリッタと、
前記光源と前記ビームスプリッタとの間に配置され、前記光源からの光により、前記センサ上に基準パターンを投影するように構成されたパターンプレートと、
前記センサ、前記ビームスプリッタおよび前記パターンプレートが配置される筐体と、
前記筐体内において、前記パターンプレートと前記ビームスプリッタとの間に配置され、前記パターンプレートと前記ビームスプリッタとの間の距離を調整するためのシムとを備え、
前記筐体は、前記パターンプレートを配置するための凹部を有しており、
前記パターンプレートは、前記凹部内において、前記光源からの光の光軸周りに所定の角度範囲内で回転可能に支持される、光学モジュール。
続きを表示(約 1,400 文字)
【請求項2】
前記パターンプレートを保持するためのホルダをさらに備え、
前記パターンプレートは、前記ホルダに保持された状態で前記凹部内に配置され、
前記シムは、前記凹部の底面と前記ホルダとの間に配置される、請求項1に記載の光学モジュール。
【請求項3】
前記パターンプレートは、略正方形の平板形状を有しており、
前記ホルダの外形は、中心が一致した正方形と円形とを組み合わせた形状を有している、請求項2に記載の光学モジュール。
【請求項4】
前記筐体における前記凹部の内壁は、前記ホルダの外形の円形部分を案内するような円弧形状に形成されたガイド部を有する、請求項3に記載の光学モジュール。
【請求項5】
前記シムは、少なくとも1つの平板部材を含み、
前記少なくとも1つの平板部材の厚みは、0.05mm、0.10mmおよび0.15mmのいずれかである、請求項1~請求項4のいずれか1項に記載の光学モジュール。
【請求項6】
前記少なくとも1つの平板部材の基材は、ステンレスまたはアルミである、請求項5に記載の光学モジュール。
【請求項7】
前記光源と、
前記請求項1~請求項4のいずれか1項に記載の光学モジュールと、
前記光学モジュールを通過した前記光源からの光を前記対象物に導くとともに、前記対象物で反射された光を前記光学モジュールに導くように構成された対物光学系とを備える、三次元スキャナ。
【請求項8】
合焦法を用いて対象物の三次元の形状情報を取得する三次元スキャナの調整方法であって、
前記三次元スキャナは、
前記対象物に対して光を照射する光源と、
前記光源から前記対象物までの光軸上に配置された光学モジュールとを含み、
前記光学モジュールは、
前記対象物で反射された前記光源からの光を検出するセンサと、
前記光源からの光を前記対象物および前記センサへの2つの経路に分岐するビームスプリッタと、
前記光源と前記ビームスプリッタとの間に配置され、前記光源からの光により、前記センサ上に基準パターンを投影するように構成されたパターンプレートと、
前記センサ、前記ビームスプリッタおよび前記パターンプレートが配置される筐体と、
前記筐体内において、前記パターンプレートと前記ビームスプリッタとの間に配置され、前記パターンプレートと前記ビームスプリッタとの間の距離を調整するためのシムとを含み、
前記センサは、撮像センサであり、
前記シムは、1つ以上の平板部材を含み、
前記調整方法は、
前記センサに投影された前記基準パターンの画像と前記センサの撮像領域とに基づいて、前記パターンプレートと前記ビームスプリッタとの間の距離が所定範囲内であるかを判定するステップと、
前記判定するステップの結果に基づいて、前記シムに用いる前記平板部材の枚数を決定するステップと、
前記センサに投影された前記基準パターンの画像と前記センサの撮像領域とに基づいて、前記筐体内における前記パターンプレートの、前記光軸回りの回転方向の位置ずれを検出するステップと、
前記検出するステップの結果に基づいて、前記パターンプレートの位置を調整するステップとを含む、調整方法。
発明の詳細な説明
【技術分野】
【0001】
本開示は、対象物の三次元の形状情報を取得する三次元スキャナにおける光学モジュールに関する。
続きを表示(約 2,700 文字)
【背景技術】
【0002】
近年、歯科分野では、コンピュータ上で補綴物等をデジタル的に設計するため、歯の三次元の形状情報を取得する必要があり、三次元スキャナ(口腔内スキャナ)が実用化されている。特開2023-86340号公報(特許文献1)には、合焦法を用いて対象物の三次元の形状情報を取得する三次元スキャナが開示されている。
【先行技術文献】
【特許文献】
【0003】
特開2023-86340号公報
【発明の概要】
【発明が解決しようとする課題】
【0004】
上記のような三次元スキャナは、光源からの光を分岐するビームスプリッタ、および、対象物で反射された光源からの光を検出するイメージセンサなどが組み込まれた光学モジュールを有している。光学モジュールに組み込まれる光学部品が設計上の所望の位置からずれて、部品間の相対位置および相対角度がずれてしまうと、三次元スキャナの測定精度が低下し得る。本開示は、このような課題を解決するためになされたものであって、その目的は、三次元スキャナにおける測定精度の低下を防止することである。
【課題を解決するための手段】
【0005】
本開示に係る光学モジュールは、光源からの光により合焦法を用いて対象物の三次元の形状情報を取得する三次元スキャナに用いられる。光学モジュールは、センサと、ビームスプリッタと、パターンプレートと、筐体と、シムとを備える。センサは、対象物で反射された光源からの光を検出する。ビームスプリッタは、光源から対象物に至る光路と、対象物からセンサに至る光路とを分ける。パターンプレートは、光源とビームスプリッタとの間に配置され、光源からの光によりセンサ上に基準パターンを投影するように構成されている。筐体には、センサ、ビームスプリッタおよびパターンプレートが配置される。シムは、筐体内において、パターンプレートとビームスプリッタとの間に配置され、パターンプレートとビームスプリッタとの間の距離を調整する。筐体は、パターンプレートを配置するための凹部を有している。パターンプレートは、凹部内において、光源からの光の光軸周りに所定の角度範囲内で回転可能に支持される。
【0006】
本開示に係る調整方法は、合焦法を用いて対象物の三次元の形状情報を取得する三次元スキャナについての調整方法である。三次元スキャナは、対象物に対して光を照射する光源と、光源から対象物までの光軸上に配置された光学モジュールとを含む。光学モジュールは、センサと、ビームスプリッタと、パターンプレートと、筐体と、シムとを含む。センサは、対象物で反射された光源からの光を検出する。ビームスプリッタは、光源から対象物に至る光路と、対象物からセンサに至る光路とを分ける。パターンプレートは、光源とビームスプリッタとの間に配置され、光源からの光により、センサ上に基準パターンを投影するように構成される。筐体には、センサ、ビームスプリッタおよびパターンプレートが配置される。シムは、筐体内において、パターンプレートとビームスプリッタとの間に配置される。シムは、パターンプレートとビームスプリッタとの間の距離を調整するために用いられる。センサは、撮像センサである。シムは、1つ以上の平板部材を含む。調整方法は、(i)センサに投影された基準パターンの画像とセンサの撮像領域とに基づいて、パターンプレートとビームスプリッタとの間の距離が所定範囲内であるかを判定するステップと、(ii)上記判定するステップの結果に基づいて、シムに用いる平板部材の枚数を決定するステップと、(iii)センサに投影された基準パターンの画像とセンサの撮像領域とに基づいて、筐体内におけるパターンプレートの、光軸回りの回転方向の位置ずれを検出するステップと、(iv)上記の検出結果に基づいて、パターンプレートの位置を調整するステップとを含む。
【発明の効果】
【0007】
本開示に係る三次元スキャナ用の光学モジュールにおいては、パターンプレートとビームスプリッタと間の距離をシムによって調整することができ、さらに、パターンプレートが光源からの光の光軸周りに所定の角度範囲内で回転可能に支持されているため、光軸に対するパターンプレートの回転方向のずれを調整することができる。これにより、光学モジュールを組み立てる際に、光学モジュール内の各部品間の相対位置および相対角度についての設計位置からのずれを低減できる。したがって、三次元スキャナにおける測定精度の低下を防止できる。
【図面の簡単な説明】
【0008】
実施の形態に係る三次元スキャナの全体構成図である。
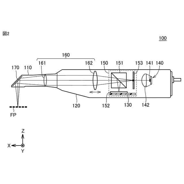
図1におけるハンドピース内の光学構成を説明するための断面図である。
図1における光学モジュールの詳細を説明するための分解斜視図である。
ホルダ内にパターンプレートを組み込んだ状態の斜視図である。
ホルダの平面図である。
筐体内にホルダを組み込んだ状態の斜視図である。
図6の筐体をX軸方向から見たときの平面図である。
イメージセンサの撮像領域に対してパターンプレートの回転ずれが生じた状態を示す図である。
パターンプレートの回転ずれが生じていない状態を示す図である。
光学モジュールの調整方法を説明するためのフローチャートである。
【発明を実施するための形態】
【0009】
以下、本開示の実施の形態について、図面を参照しながら詳細に説明する。なお、図中同一または相当部分には同一符号を付してその説明は繰り返さない。
【0010】
[三次元スキャナの全体構成]
図1は、実施の形態に係る三次元スキャナ10の全体構成を示す図である。三次元スキャナ10は、口腔内の歯牙および軟組織などの対象物の表面形状をスキャンして、表面形状の三次元データを取得する口腔内スキャナ(IOS:Intra Oral Scanner)である。三次元データは、対象物の表面形状を示す点群(複数の点)の各々の位置情報(縦方向,横方向,高さ方向の各軸の座標)を含む。なお、三次元スキャナ10は、三次元データとともに、対象物の表面形状を示す点群(複数の点)の各々の色を示す色データを取得することも可能である。
(【0011】以降は省略されています)
この特許をJ-PlatPat(特許庁公式サイト)で参照する
関連特許
株式会社モリタ製作所
医療用診療装置
14日前
株式会社モリタ製作所
レーザ装置、およびレーザ治療装置
1か月前
株式会社モリタ製作所
レーザ装置、およびレーザ治療装置
1か月前
株式会社モリタ製作所
照明モジュール、三次元スキャナ、および調整方法
1日前
株式会社モリタ製作所
光学モジュールおよびそれを搭載した三次元スキャナ、ならびに、三次元スキャナの調整方法
1日前
日本精機株式会社
検出装置
16日前
個人
採尿及び採便具
22日前
個人
計量機能付き容器
11日前
個人
高精度同時多点測定装置
1か月前
個人
アクセサリー型テスター
1か月前
株式会社ミツトヨ
測定器
28日前
株式会社カクマル
境界杭
1日前
ユニパルス株式会社
ロードセル
1か月前
甲神電機株式会社
電流検出装置
16日前
アズビル株式会社
電磁流量計
1か月前
ダイキン工業株式会社
監視装置
1か月前
大成建設株式会社
風洞実験装置
11日前
株式会社ヨコオ
ソケット
1か月前
トヨタ自動車株式会社
監視装置
1か月前
株式会社チノー
放射光測温装置
1か月前
株式会社ヨコオ
ソケット
1か月前
大和製衡株式会社
組合せ計量装置
25日前
大和製衡株式会社
組合せ計量装置
25日前
愛知電機株式会社
軸部材の外観検査装置
25日前
個人
システム、装置及び実験方法
1か月前
個人
計量具及び計量機能付き容器
11日前
TDK株式会社
磁気センサ
1か月前
TDK株式会社
ガスセンサ
1か月前
日本特殊陶業株式会社
ガスセンサ
9日前
長崎県
形状計測方法
1か月前
個人
非接触による電磁パルスの測定方法
14日前
双庸電子株式会社
誤配線検査装置
17日前
日本信号株式会社
距離画像センサ
14日前
愛知時計電機株式会社
ガスメータ
28日前
ローム株式会社
半導体装置
1か月前
ローム株式会社
半導体装置
1か月前
続きを見る
他の特許を見る