TOP
|
特許
|
意匠
|
商標
特許ウォッチ
Twitter
他の特許を見る
公開番号
2025171599
公報種別
公開特許公報(A)
公開日
2025-11-20
出願番号
2024077110
出願日
2024-05-10
発明の名称
降車支援装置及び降車支援システム
出願人
トヨタ自動車株式会社
代理人
個人
,
個人
,
個人
,
個人
主分類
G08G
1/16 20060101AFI20251113BHJP(信号)
要約
【課題】自車両が複数の外部センサを備えることを前提とせずに降車支援を適切に行える技術を提供する。
【解決手段】降車支援装置は、車両の後方の物体を検知するセンサと、他車両と通信可能な通信機と、車両の乗員へ報知する報知装置と、センサ、通信機、及び、報知装置に接続されたコントローラと、を備え、コントローラは、車両駐停車時においてセンサの検出結果に基づいて車両の後方に位置する後方車両を検知し、後方車両が検知されたことに応じて、通信機に後方車両と通信を確立させ、報知対象の接近物体が検知されたことを通信機が後方車両から受信したことに応じて、報知装置に接近物体の存在を報知させる、ように構成される。
【選択図】図1
特許請求の範囲
【請求項1】
車両の後方の物体を検知するセンサと、
他車両と通信可能な通信機と、
前記車両の乗員へ情報を報知する報知装置と、
前記センサ、前記通信機、及び、前記報知装置に接続されたコントローラと、
を備え、
前記コントローラは、
車両駐停車時において前記センサの検出結果に基づいて前記車両の後方に位置する後方車両を検知し、
前記後方車両が検知されたことに応じて、前記通信機に前記後方車両と通信を確立させ、
報知対象の接近物体が検知されたことを前記通信機が前記後方車両から受信したことに応じて、前記報知装置に前記接近物体の存在を報知させる、ように構成される、
降車支援装置。
続きを表示(約 630 文字)
【請求項2】
前記後方車両は、前記車両の後方に駐停車された車両、及び、前記車両が牽引する車両の少なくとも一方である、請求項1に記載の降車支援装置。
【請求項3】
前記コントローラは、前記後方車両から受信した情報に基づいて、ひとたび検知されていた前記接近物体が検知されていないと判定した場合には、前記センサによって前記接近物体を検知し、前記報知装置に前記接近物体の存在を報知させるように構成される、請求項1に記載の降車支援装置。
【請求項4】
第一車両に搭載される第一コントローラと、
第二車両に搭載される第二コントローラと、
を備え、
前記第一コントローラは、前記第一車両の駐停車時において前記第一車両のセンサの検出結果に基づいて前記車両の後方に位置する前記第二車両を検知し、前記第二車両が検知されたことに応じて、前記第一車両と前記第二車両との通信を確立させる、ように構成され、
前記第二コントローラは、前記第二車両の前記センサの検出結果に基づいて報知対象の接近物体を検知し、又は、前記第二車両の後方車両から前記接近物体が検知されたことを受信し、前記第一車両へ前記接近物体の情報を送信させる、ように構成され、
前記第一コントローラは、前記第二車両から前記接近物体の情報を受信したことに応じて、前記第一車両に前記接近物体の存在を報知させる、ように構成される、降車支援システム。
発明の詳細な説明
【技術分野】
【0001】
本開示は、降車支援装置及び降車支援システムに関する。
続きを表示(約 1,600 文字)
【背景技術】
【0002】
特許文献1は、降車支援装置を開示する。降車支援装置は、自車両の乗員による降車動作が検出されたときに自車両への接近物が検出されている場合に警報及び/又は開扉制限を実行する。降車支援装置は、自車両の駐車時又は停車時に遮蔽物が後方に存在するときは電子アウターミラーを使用し、遮蔽物が存在しないときは後側方レーダを使用する。
【先行技術文献】
【特許文献】
【0003】
特開2020-93567号公報
【発明の概要】
【発明が解決しようとする課題】
【0004】
特許文献1記載の降車支援装置は、車両後方の遮蔽物の有無に応じて外部センサを使い分けるため、自車両に複数の外部センサが必要になる。本開示は、自車両が複数の外部センサを備えることを前提とせずに降車支援を適切に行える技術を提供する。
【課題を解決するための手段】
【0005】
本開示の一形態に係る降車支援装置は、車両の後方の物体を検知するセンサと、他車両と通信可能な通信機と、車両の乗員へ報知する報知装置と、センサ、通信機、及び、報知装置に接続されたコントローラと、を備え、コントローラは、車両駐停車時においてセンサの検出結果に基づいて車両の後方に位置する後方車両を検知し、後方車両が検知されたことに応じて、通信機に後方車両と通信を確立させ、報知対象の接近物体が検知されたことを通信機が後方車両から受信したことに応じて、報知装置に接近物体の存在を報知させる、ように構成される。
【0006】
本開示の一形態に係る降車支援システムは、第一車両に搭載される第一コントローラと、第二車両に搭載される第二コントローラと、を備え、第一コントローラは、第一車両の駐停車時において第一車両のセンサの検出結果に基づいて車両の後方に位置する第二車両を検知し、第二車両が検知されたことに応じて、第一車両と第二車両との通信を確立させる、ように構成され、第二コントローラは、第二車両のセンサの検出結果に基づいて報知対象の接近物体を検知し、又は、第二車両の後方車両から接近物体が検知されたことを受信し、第一車両へ接近物体の情報を送信させる、ように構成され、第一コントローラは、第二車両から接近物体の情報を受信したことに応じて、第一車両に接近物体の存在を報知させる、ように構成される。
【発明の効果】
【0007】
本開示によれば、自車両が複数の外部センサを備えることを前提とせずに降車支援を適切に行える技術が提供される。
【図面の簡単な説明】
【0008】
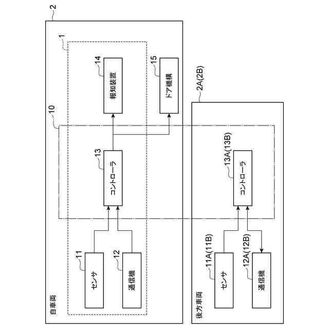
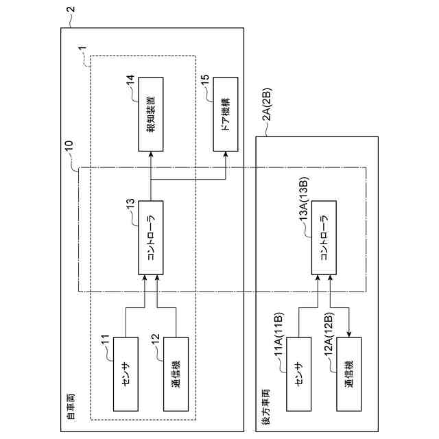
図1は、一実施形態に係る降車支援装置が備わる自車両の構成と、他車両の構成との一例を示すブロック図である。
図2の(A)は、縦列駐車時における自車両のセンサの検出範囲を示す一例である。図2の(B)は、縦列駐車時における自車両の後方車両のセンサの検出範囲を示す一例である。
図3は、降車支援装置の動作を示すフローチャートである。
図4は、後方車両の動作を示すフローチャートである。
図5は、変形例に係る降車支援装置の動作を示すフローチャートである。
【発明を実施するための形態】
【0009】
以下、本発明の実施形態について図面を参照して説明する。
【0010】
[車両の構成]
図1は、一実施形態に係る降車支援装置が備わる自車両の構成と、他車両の構成との一例を示すブロック図である。図1に示されるように、降車支援装置1は、一例として自車両2(車両、第一車両の一例)に搭載される。自車両2は、ドライバによって運転される車両であってもよいし、自動運転車両であってもよい。
(【0011】以降は省略されています)
この特許をJ-PlatPat(特許庁公式サイト)で参照する
関連特許
トヨタ自動車株式会社
車両
15日前
トヨタ自動車株式会社
電池
7日前
トヨタ自動車株式会社
車両
2日前
トヨタ自動車株式会社
電池
1日前
トヨタ自動車株式会社
方法
15日前
トヨタ自動車株式会社
配管
2日前
トヨタ自動車株式会社
車両
16日前
トヨタ自動車株式会社
車体
15日前
トヨタ自動車株式会社
車両
15日前
トヨタ自動車株式会社
電池
16日前
トヨタ自動車株式会社
車両
1日前
トヨタ自動車株式会社
電動車
1日前
トヨタ自動車株式会社
ロータ
2日前
トヨタ自動車株式会社
電動車
2日前
トヨタ自動車株式会社
蓄電池
15日前
トヨタ自動車株式会社
モータ
14日前
トヨタ自動車株式会社
路側装置
14日前
トヨタ自動車株式会社
濾過装置
16日前
トヨタ自動車株式会社
制御装置
1日前
トヨタ自動車株式会社
電動車両
14日前
トヨタ自動車株式会社
電動車両
15日前
トヨタ自動車株式会社
電動車両
14日前
トヨタ自動車株式会社
エンジン
2日前
トヨタ自動車株式会社
制御装置
14日前
トヨタ自動車株式会社
制御装置
1日前
トヨタ自動車株式会社
制御装置
14日前
トヨタ自動車株式会社
制御装置
2日前
トヨタ自動車株式会社
判定装置
1日前
トヨタ自動車株式会社
鋳造装置
14日前
トヨタ自動車株式会社
制御装置
2日前
トヨタ自動車株式会社
コネクタ
1日前
トヨタ自動車株式会社
制御装置
2日前
トヨタ自動車株式会社
蓄電装置
14日前
トヨタ自動車株式会社
樹脂外板
15日前
トヨタ自動車株式会社
製造設備
7日前
トヨタ自動車株式会社
推定装置
14日前
続きを見る
他の特許を見る