TOP
|
特許
|
意匠
|
商標
特許ウォッチ
Twitter
他の特許を見る
公開番号
2025171474
公報種別
公開特許公報(A)
公開日
2025-11-20
出願番号
2024076855
出願日
2024-05-10
発明の名称
撮像位置推定装置及び撮像位置推定方法
出願人
三菱電機株式会社
代理人
弁理士法人山王内外特許事務所
主分類
G06T
7/70 20170101AFI20251113BHJP(計算;計数)
要約
【課題】従来よりも処理負担を抑制する撮像位置推定装置及び撮像位置推定方法を提供する。
【解決手段】撮像位置推定システムにおいて、撮像位置推定装置(100)は、撮像装置(10)による車両内部の撮像により得られた第1範囲の画像情報を取得する画像情報取得部(120)と、画像情報取得部(120)により取得された画像情報から特徴量を抽出し、車両の内部の第1範囲よりも広い第2範囲の画像情報の特徴情報を取得する特徴量抽出部(130)と、第1範囲と少なくとも一部が重なる第2範囲の一部の領域を抽出領域として抽出する領域抽出部(150)と、特徴量抽出部(130)が抽出した特徴量と、取得した特徴情報からの特徴量を、領域抽出部(150)によって抽出された抽出領域において照合する照合部(170)と、照合部(170)による照合結果に基づいて、車両に対する撮像装置(10)の位置を推定する位置推定部(180)と、を備える。
【選択図】図1
特許請求の範囲
【請求項1】
撮像装置による車両の内部の撮像によって得られた第1範囲の画像情報を取得する画像情報取得部と、
前記画像情報取得部によって取得された画像情報から特徴量を抽出する特徴量抽出部と、
前記車両の内部の前記第1範囲よりも広い第2範囲の画像情報の特徴量を示す特徴情報を取得する特徴情報取得部と、
前記第1範囲と少なくとも一部が重なる前記第2範囲の一部の領域を抽出領域として抽出する領域抽出部と、
前記画像情報取得部によって取得された画像情報から前記特徴量抽出部によって抽出された特徴量と、前記特徴情報取得部によって取得された特徴情報の特徴量と、を前記領域抽出部によって抽出された抽出領域において照合する照合部と、
前記照合部による照合結果に基づいて、前記車両に対する前記撮像装置の位置を推定する位置推定部と、を備えた
ことを特徴とする撮像位置推定装置。
続きを表示(約 1,600 文字)
【請求項2】
前記領域抽出部は、前記第2範囲を複数の区分領域に区分した場合の前記複数の区分領域のうち、前記第1範囲に少なくとも一部が含まれる領域を抽出領域として抽出する
ことを特徴とする請求項1記載の撮像位置推定装置。
【請求項3】
前記照合部は、前記画像情報取得部によって取得された画像情報から前記特徴量抽出部によって抽出された特徴量と、前記特徴情報取得部によって取得された特徴情報の特徴量と、を前記第2範囲の一部に予め設定されて、前記照合部による特徴量の照合における重要度が高い重要領域において照合する
ことを特徴とする請求項1又は2記載の撮像位置推定装置。
【請求項4】
前記車両の内部の乗員を検知する乗員検知部と、
前記乗員検知部による検知結果に基づいて、前記乗員が存在する領域の少なくとも一部を含まない前記第2範囲の一部の領域を他の領域よりも重要度が高い重要領域として設定する重要度設定部と、を備えた
ことを特徴とする請求項3記載の撮像位置推定装置。
【請求項5】
前記車両の窓が存在する領域の少なくとも一部を含まない前記第2範囲の一部の領域を他の領域よりも重要度が高い重要領域として設定する重要度設定部を備えた
ことを特徴とする請求項3記載の撮像位置推定装置。
【請求項6】
前記車両の本体に対して前記撮像装置が移動したことを示す情報を取得する撮像装置移動情報取得部を備え、
前記領域抽出部は、前記撮像装置移動情報取得部によって前記撮像装置が移動したことを示す情報が取得されたことに基づいて、前記第1範囲と少なくとも一部が重なる前記第2範囲の一部の領域を抽出領域として抽出する
ことを特徴とする請求項1記載の撮像位置推定装置。
【請求項7】
前記車両の本体に対する前記撮像装置の移動量を示す情報を取得する撮像装置移動情報取得部を備え、
前記領域抽出部は、前記撮像装置移動情報取得部によって取得された前記撮像装置の移動量を示す情報に基づいて、前記第1範囲と少なくとも一部が重なる前記第2範囲の一部の領域を抽出領域として抽出する
ことを特徴とする請求項1記載の撮像位置推定装置。
【請求項8】
前記車両の移動に関する情報を取得する車両情報取得部を備え、
前記領域抽出部は、前記車両情報取得部によって取得された情報に基づいて、前記第1範囲と少なくとも一部が重なる前記第2範囲の一部の領域を抽出領域として抽出する
ことを特徴とする請求項1記載の撮像位置推定装置。
【請求項9】
画像情報取得部と、特徴量抽出部と、特徴情報取得部と、領域抽出部と、照合部と、位置推定部と、を備えた装置が行う撮像位置推定方法であって、
前記画像情報取得部が、撮像装置による車両の内部の撮像によって得られた第1範囲の画像情報を取得するステップと、
前記特徴量抽出部が、前記画像情報取得部によって取得された画像情報から特徴量を抽出するステップと、
前記特徴情報取得部が、前記車両の内部の前記第1範囲よりも広い第2範囲の画像情報の特徴量を示す特徴情報を取得するステップと、
前記領域抽出部が、前記第1範囲と少なくとも一部が重なる前記第2範囲の一部の領域を抽出領域として抽出するステップと、
前記照合部が、前記画像情報取得部によって取得された画像情報から前記特徴量抽出部によって抽出された特徴量と、前記特徴情報取得部によって取得された特徴情報の特徴量と、を前記領域抽出部によって抽出された抽出領域において照合するステップと、
前記位置推定部が、前記照合部による照合結果に基づいて、前記車両に対する前記撮像装置の位置を推定するステップと、を備えた
ことを特徴とする撮像位置推定方法。
発明の詳細な説明
【技術分野】
【0001】
本開示は、撮像位置推定装置及び撮像位置推定方法に関する。
続きを表示(約 2,000 文字)
【背景技術】
【0002】
従来、車載カメラによって収集された前後2つのフレームの画像に対して特徴点マッチングを行い、マッチングする特徴点に基づいて、車体に対する車載カメラの外部パラメータを確定する装置が開示されている(例えば、特許文献1参照)。
【先行技術文献】
【特許文献】
【0003】
特開2021-108191号公報
【発明の概要】
【発明が解決しようとする課題】
【0004】
ところで、前後2つのフレームの特徴点マッチングに基づいて車載カメラの位置を推定する場合、例えば、画像の情報を取得する毎等、短時間毎に車載カメラの位置を推定する処理を行い続けることが求められるため、車載カメラの位置を推定する装置の処理負担を抑制することが難しいという課題がある。
【0005】
本開示は、上記課題の認識を契機としてなされたものであり、撮像装置の位置を推定する際に、従来よりも処理負担を抑制することができる撮像位置推定装置及び撮像位置推定方法を提供することを目的とする。
【課題を解決するための手段】
【0006】
本開示に係る撮像位置推定装置は、撮像装置による車両の内部の撮像によって得られた第1範囲の画像情報を取得する画像情報取得部と、画像情報取得部によって取得された画像情報から特徴量を抽出する特徴量抽出部と、車両の内部の第1範囲よりも広い第2範囲の画像情報の特徴量を示す特徴情報を取得する特徴情報取得部と、第1範囲と少なくとも一部が重なる第2範囲の一部の領域を抽出領域として抽出する領域抽出部と、画像情報取得部によって取得された画像情報から特徴量抽出部によって抽出された特徴量と、特徴情報取得部によって取得された特徴情報の特徴量と、を領域抽出部によって抽出された抽出領域において照合する照合部と、照合部による照合結果に基づいて、車両に対する撮像装置の位置を推定する位置推定部と、を備えたことを特徴とするものである。
【発明の効果】
【0007】
本開示に係る撮像位置推定装置は、撮像装置による車両の内部の撮像によって得られた画像情報と、撮像装置による車両の内部の撮像範囲よりも広い範囲の画像情報と、の照合を行った結果に基づいて撮像装置の位置を推定するので、例えば、予め撮像装置による車両の内部の撮像範囲よりも広い範囲の画像情報を取得しておくことで、撮像装置による撮像毎に撮像装置の位置を推定する必要がなく、従来よりも装置の処理負担を抑制することができる。
【図面の簡単な説明】
【0008】
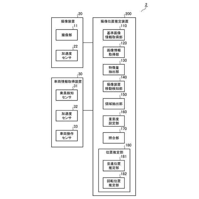
実施の形態1に係る撮像位置推定システムの概略構成を示すブロック図。
実施の形態1に係る撮像位置推定装置のハードウェア構成の一例を示すブロック図。
実施の形態1に係る撮像位置推定装置のハードウェア構成の一例を示すブロック図。
実施の形態1に係る撮像位置推定装置が行う処理の一例を示すフローチャート。
実施の形態1に係る車両の内部の第2範囲の様子を示す図。
実施の形態2に係る撮像位置推定システムの概略構成を示すブロック図。
実施の形態2に係る撮像位置推定装置が行う処理の一例を示すフローチャート。
【発明を実施するための形態】
【0009】
以下、本開示に係る実施の形態について図面を参照しながら詳細に説明する。
実施の形態1.
まず、図1を参照して、実施の形態1に係る撮像位置推定システム1の概略構成について説明する。図1は、実施の形態1に係る撮像位置推定システム1の概略構成を示すブロック図である。図1に示すように、撮像位置推定システム1は、車両に設けられた撮像装置10及び撮像位置推定装置100を備えており、これらが互いに通信可能になるように無線又は有線で接続されて構成されている。
【0010】
撮像装置10は、車両の内部の撮像によって車両の内部の特定の範囲の画像情報を取得する。言い換えると、撮像装置10は、車室の撮像によって車室の特定の範囲の画像情報を取得する。例えば、撮像装置10は、車両の本体に対して移動可能になるように、車両の本体に直接又は間接的に保持されている。具体的には、撮像装置10は、車両の計器盤、車両のステアリングコラム、その他の車室に面した部位に配置されて、車両の本体に対して移動可能に保持されている。より具体的には、撮像装置10は、車両の計器盤に対して並進移動及び回転移動が可能に保持されている。また、より具体的には、撮像装置10は、車両の本体に対して移動可能なステアリングコラムに保持されている。
(【0011】以降は省略されています)
この特許をJ-PlatPat(特許庁公式サイト)で参照する
関連特許
三菱電機株式会社
冷蔵庫
25日前
三菱電機株式会社
冷蔵庫
2日前
三菱電機株式会社
増幅器
29日前
三菱電機株式会社
扇風機
23日前
三菱電機株式会社
収集装置
1か月前
三菱電機株式会社
照明装置
16日前
三菱電機株式会社
電気機器
2日前
三菱電機株式会社
半導体装置
24日前
三菱電機株式会社
保護リレー
24日前
三菱電機株式会社
空気調和機
1か月前
三菱電機株式会社
回路遮断器
10日前
三菱電機株式会社
加熱調理器
10日前
三菱電機株式会社
半導体装置
2日前
三菱電機株式会社
空調システム
18日前
三菱電機株式会社
制御システム
16日前
三菱電機株式会社
光源デバイス
16日前
三菱電機株式会社
貯湯式給湯機
16日前
三菱電機株式会社
空調システム
29日前
三菱電機株式会社
調理システム
25日前
三菱電機株式会社
貯湯式給湯機
25日前
三菱電機株式会社
点検管理装置
23日前
三菱電機株式会社
炊飯システム
25日前
三菱電機株式会社
空気清浄装置
10日前
三菱電機株式会社
ねじ締め装置
29日前
三菱電機株式会社
貯湯式給湯機
26日前
三菱電機株式会社
樹脂成形用金型
29日前
三菱電機株式会社
移動体監視装置
15日前
三菱電機株式会社
電磁波発生装置
2日前
三菱電機株式会社
レンズモジュール
1か月前
三菱電機株式会社
ヒートポンプ装置
1か月前
三菱電機株式会社
空気調和システム
16日前
三菱電機株式会社
道路情報補正装置
1か月前
三菱電機株式会社
照明制御システム
2日前
三菱電機株式会社
全館空調システム
1か月前
三菱電機株式会社
運転支援システム
23日前
三菱電機株式会社
加熱調理システム
15日前
続きを見る
他の特許を見る