TOP
|
特許
|
意匠
|
商標
特許ウォッチ
Twitter
他の特許を見る
公開番号
2025170750
公報種別
公開特許公報(A)
公開日
2025-11-19
出願番号
2025057976
出願日
2025-03-31
発明の名称
位置測定装置
出願人
ドクトル・ヨハネス・ハイデンハイン・ゲゼルシヤフト・ミツト・ベシユレンクテル・ハフツング
,
DR. JOHANNES HEIDENHAIN GESELLSCHAFT MIT BESCHRANKTER HAFTUNG
代理人
個人
,
個人
,
個人
,
個人
主分類
G01D
5/20 20060101AFI20251112BHJP(測定;試験)
要約
【課題】本発明は、第一の構成要素グループ1;1’と第二の構成要素グループ2を備え、これらの構成要素グループ1;1’,2が、測定方向xに互いに動くように配置されている位置測定装置に関する。
【解決手段】第一の構成要素グループ1;1’は、検出ユニット1.11,1.12,1.13,1.14を備えた第一の回路基板1.1と、ドメインウォール導体1.211を備えた第二の回路基板1.2とを有する。第一の回路基板1.1は、第二の回路基板1.2に対して測定方向xにずらして配置されている。第二の構成要素グループ2は、スケール2.1,2.2と磁石2.3,2.4を有する。スケール2.1,2.2は、磁石2.3,2.4と第二の回路基板1.2の間に配置されている。磁石2.3,2.4は、その磁石2.3,2.4が傍を通過する際に、その磁石によって、ドメインウォール導体1.211内のドメインウォールの変位を発生させることが可能であるように配置されている。
【選択図】図1
特許請求の範囲
【請求項1】
第一の構成要素グループ(1;1’)と第二の構成要素グループ(2)を備え、これらの構成要素グループ(1;1’,2)が、測定方向(x)に互いに相対可動に配置されている位置測定装置であって、
この第一の構成要素グループ(1;1’)は、
検出ユニット(1.11,1.12,1.13,1.14)を備えた第一の回路基板(1.1)を有するとともに、
ドメインウォール導体(1.211)を備えた第二の回路基板(1.2)を有し、
第一の回路基板(1.1)が、第二の回路基板(1.2)に対して測定方向(x)にずらして配置されており、
この第二の構成要素グループ(2)は、
スケール(2.1,2.2)と、
磁石(2.3,2.4)とを有し、
このスケール(2.1,2.2)が、磁石(2.3,2.4)と第二の回路基板(1.2)の間に配置されており、
測定方向(x)における相対位置を計測するために、スケール(2.1,2.2)は、検出ユニット(1.11,1.12,1.13,1.14)によって走査可能であり、
磁石(2.3,2.4)は、その磁石(2.3,2.4)が傍を通過する際に、その磁石によって、ドメインウォール導体(1.211)内のドメインウォールの変位を発生させることが可能であるように構成され配置されている当該位置測定装置。
続きを表示(約 1,300 文字)
【請求項2】
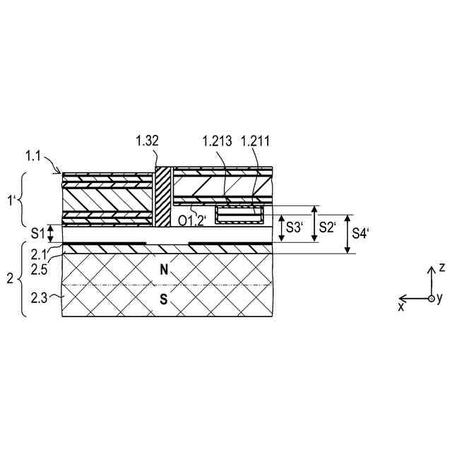
請求項1に記載の位置測定装置において、
前記のドメインウォール導体(1.211)が、第二の回路基板(1.2)の第一の表面(O1.2;O1.2’)に設置された筐体(1.213)内に配置されており、
前記のスケール(2.1,2.2)と検出ユニット(1.11,1.12,1.13,1.14)の間の第一の間隔が第一の長さ(S1)を有し、
前記の第一の表面(O1.2;O1.2’)とスケール(2.1,2.2)の間の第二の間隔が第二の長さ(S2;S2’)を有し、
第一の長さ(S1)が第二の長さ(S2;S2’)よりも小さいか、或いは第二の長さと同じであることが成り立つ当該位置測定装置。
【請求項3】
請求項1又は2に記載の位置測定装置において、
前記のスケール(2.1,2.2)と検出ユニット(1.11,1.12,1.13,1.14)の間の第一の間隔が第一の長さ(S1)を有し、
前記のドメインウォール導体(1.211)とスケール(2.1,2.2)の間の第三の間隔が第三の長さ(S3;S3’)を有し、
第一の長さ(S1)が第三の長さ(S3;S3’)よりも小さいか、或いは第三の長さと同じであることが成り立つ当該位置測定装置。
【請求項4】
請求項1~3の何れか1項に記載の位置測定装置において、
前記の第一の回路基板(1.1)と第二の回路基板(1.2)が、それぞれ多層形態で実現されており、第一の回路基板(1.1)の層構造が第二の回路基板(1.2)の層構造と異なる当該位置測定装置。
【請求項5】
請求項1~4の何れか1項に記載の位置測定装置において、
この位置測定装置が誘導測定方式に基づき、前記の検出ユニット(1.11,1.12,1.13,1.14)が少なくとも一つの受信導体路(1.112,1.122,1.132,1.142)を有する当該位置測定装置。
【請求項6】
請求項1~5の何れか1項に記載の位置測定装置において、
この位置測定装置が角度測定装置として構成されている当該位置測定装置。
【請求項7】
請求項6に記載の位置測定装置において、
第一の回路基板(1.1)が、環状セグメントの形で構成され、少なくとも180°の角度に渡って延びている当該位置測定装置。
【請求項8】
請求項6又は7に記載の位置測定装置において、
第二の回路基板(1.2)が、環状セグメントの形で構成され、180°未満の角度に渡って延びている当該位置測定装置。
【請求項9】
請求項1~8の何れか1項に記載の位置測定装置において、
前記の磁石(2.3,2.4)の材料が、磁化可能な充填材を含むプラスチックから構成される当該位置測定装置。
【請求項10】
請求項1~9の何れか1項に記載の位置測定装置において、
前記の構成要素グループ(1;1’,2)が、一つの軸(A)の周りを互いに相対的に回転可能に配置されており、この軸(A)は、ドメインウォール導体(1.11)が延びる面(XY)を横切らない当該位置測定装置。
(【請求項11】以降は省略されています)
発明の詳細な説明
【技術分野】
【0001】
本発明は、請求項1に基づく、例えば、角度測定装置又は長さ測定装置に関する回転情報又は位置情報を記憶するドメインウォールメモリを備えた位置測定装置に関する。
続きを表示(約 940 文字)
【背景技術】
【0002】
角度測定装置は、例えば、二つの互いに相対的に回転可能な機械部分の角度位置を計測するロータリエンコーダとして使用される。多くの場合、その目的のために、所謂マルチターン角度測定装置が使用され、それによって、多数の回転に渡る絶対位置計測が可能である。
【0003】
更に、二つの互いに相対的にシフト可能な機械部分の直線的な変位を測定する長さ測定装置が周知である。特に、測定する長さが比較的大きい長さ測定装置の場合、しばしば、複数の線形基準尺又は同形のスケールが測定方向に順番に並べられている。そのような長さ測定装置では、最も良いケースとして、測定長全体に渡って、絶対位置計測を可能とすべきである。
【0004】
多くの場合、そのような測定装置又は電気駆動部用の測定機器が、相応の機械部分の相対運動又は相対位置を計測するために使用される。その際、生成された位置値が、相応のインタフェース装置を介して、駆動部を駆動する後続の電子機器に供給される。
【0005】
位置測定装置、特に、角度測定装置又は長さ測定装置の多くの用途に関して、少なくとも回転回数又は粗い位置を不揮発方式により記憶することが重要である。
【0006】
本出願人の特許文献1には、誘導測定方式に基づき角度位置を測定する位置測定装置が記載されている。
【0007】
更に、特許文献2は、ドメインウォールメモリを備えた磁気式回転計数器を開示している。
【先行技術文献】
【特許文献】
【0008】
欧州特許公開第4170289号明細書
欧州特許登録第3387387号明細書
【発明の概要】
【発明が解決しようとする課題】
【0009】
本発明の課題は、比較的簡単で省スペース形態に構成され、精密に動作する、ドメインウォールメモリを備えた位置測定装置を実現することである。
【課題を解決するための手段】
【0010】
本発明では、この課題は、請求項1の特徴によって解決される。
(【0011】以降は省略されています)
特許ウォッチbot のツイートを見る
この特許をJ-PlatPat(特許庁公式サイト)で参照する
関連特許
個人
メジャー文具
1か月前
日本精機株式会社
検出装置
15日前
個人
採尿及び採便具
21日前
個人
アクセサリー型テスター
1か月前
個人
高精度同時多点測定装置
1か月前
個人
計量機能付き容器
10日前
甲神電機株式会社
電流検出装置
15日前
株式会社ミツトヨ
測定器
27日前
ユニパルス株式会社
ロードセル
1か月前
株式会社カクマル
境界杭
今日
アズビル株式会社
電磁流量計
1か月前
トヨタ自動車株式会社
監視装置
1か月前
株式会社チノー
放射光測温装置
1か月前
株式会社ヨコオ
ソケット
1か月前
大成建設株式会社
風洞実験装置
10日前
ダイキン工業株式会社
監視装置
1か月前
株式会社ヨコオ
ソケット
1か月前
大和製衡株式会社
組合せ計量装置
24日前
ローム株式会社
半導体装置
1か月前
ローム株式会社
半導体装置
1か月前
日本信号株式会社
距離画像センサ
13日前
愛知電機株式会社
軸部材の外観検査装置
24日前
双庸電子株式会社
誤配線検査装置
16日前
個人
非接触による電磁パルスの測定方法
13日前
個人
計量具及び計量機能付き容器
10日前
TDK株式会社
ガスセンサ
1か月前
個人
システム、装置及び実験方法
1か月前
長崎県
形状計測方法
1か月前
愛知時計電機株式会社
ガスメータ
27日前
大和製衡株式会社
組合せ計量装置
24日前
TDK株式会社
磁気センサ
1か月前
日本特殊陶業株式会社
ガスセンサ
8日前
日本特殊陶業株式会社
センサ
1か月前
キーコム株式会社
画像作成システム
今日
日本特殊陶業株式会社
センサ
1か月前
株式会社デンソー
電流センサ
1か月前
続きを見る
他の特許を見る