TOP
|
特許
|
意匠
|
商標
特許ウォッチ
Twitter
他の特許を見る
10個以上の画像は省略されています。
公開番号
2025170714
公報種別
公開特許公報(A)
公開日
2025-11-19
出願番号
2024075507
出願日
2024-05-07
発明の名称
蛍光測定装置及び蛍光測定方法
出願人
国立大学法人 東京大学
,
国立大学法人東北大学
,
国立大学法人北海道大学
代理人
弁理士法人ドライト国際特許事務所
主分類
G01N
21/64 20060101AFI20251112BHJP(測定;試験)
要約
【課題】変調周波数の違いによって生じる測定アーチファクトを抑制することができる蛍光測定装置及び蛍光測定方法を提供する。
【解決手段】蛍光イメージング装置10は、プローブビーム生成部11で生成した第1プローブビーム及び第2プローブビームをプローブビーム照射部12から測定対象に照射する。第1プローブビームは、強度の変調周波数が互いに異なる複数の励起光が配列され、第2プローブビームは、第1プローブビームとは逆の順番で励起光が配列されている。測定対象に向けて、各励起光が主走査方向に並ぶように第1プローブビームが照射され、第1プローブビームから副走査方向にずれて各励起光が主走査方向に並ぶように第2プローブビームが照射される。
【選択図】図1
特許請求の範囲
【請求項1】
強度の変調周波数が互いに異なる複数の第1励起光を前記変調周波数の順番で空間的に配列した第1プローブビームと、強度の変調周波数が互いに異なる複数の第2励起光を前記変調周波数の順番で空間的に配列した第2プローブビームとをそれぞれ生成するプローブビーム生成部と、
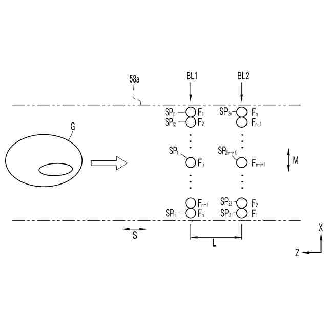
測定対象に向けて、前記複数の第1励起光が配列された順番で主走査方向に並ぶように前記第1プローブビームを照射するとともに、前記複数の第1励起光が並ぶ前記変調周波数の順番とは逆の前記変調周波数の順番で前記複数の第2励起光が主走査方向に並び、かつ主走査方向と直交する副走査方向に前記第1プローブビームからずらして前記第2プローブビームを照射するプローブビーム照射部と、
副走査方向に、前記第1プローブビーム及び前記第2プローブビームと前記測定対象とを相対的に移動させる副走査部と
を備えることを特徴とする蛍光測定装置。
続きを表示(約 2,200 文字)
【請求項2】
前記プローブビーム生成部は、前記複数の第1励起光と前記変調周波数が同じ前記複数の第2励起光からなる前記第2プローブビームを生成することを特徴とする請求項1に記載の蛍光測定装置。
【請求項3】
前記第1プローブビームを照射することで前記測定対象から発せられる蛍光からなる第1検出光と、前記第2プローブビームを照射することで前記測定対象から発せられる蛍光からなる第2検出光とを分離する検出光分離部と、
前記第1検出光を受光し、前記第1検出光の光強度に応じた第1検出信号を出力する第1検出部と
前記第2検出光を受光し、前記第2検出光の光強度に応じた第2検出信号を出力する第2検出部と
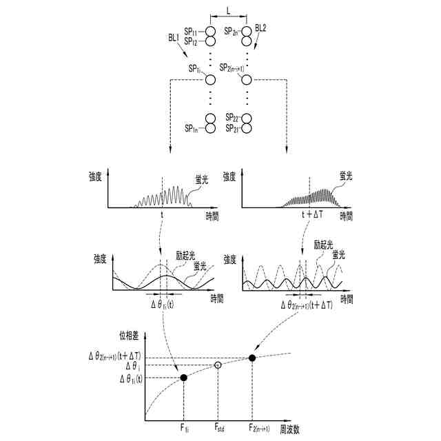
前記第1検出信号を前記変調周波数ごとに分離して複数の第1蛍光信号を生成するとともに、前記第2検出信号を前記変調周波数ごとに分離して複数の第2蛍光信号を生成し、前記第1プローブビーム及び前記第2プローブビームに対する前記測定対象の副走査方向の移動速度及び照射される前記第1プローブビームと前記第2プローブビームとの距離に応じた時間で相対的にずらされた、主走査方向における照射位置が同じ前記第1プローブビーム及び前記第2プローブビームの各励起光に対応する前記第1蛍光信号と前記第2蛍光信号とに基づいて、予め設定した基準変調周波数で強度変調した励起光に対する前記測定対象の蛍光寿命または蛍光強度を得る信号処理部と
を備えることを特徴とする請求項1または2に記載の蛍光測定装置。
【請求項4】
前記複数の第1励起光が照射される主走査方向の各々の位置についての、主走査方向における同じ位置に照射する前記第1励起光の前記変調周波数と前記第2励起光の前記変調周波数との平均変調周波数が互いに同じにされており、
主走査方向における同じ位置に照射する前記第1励起光の前記変調周波数と前記第2励起光との前記変調周波数との平均変調周波数を前記基準変調周波数とすることを特徴とする請求項3に記載の蛍光測定装置。
【請求項5】
前記プローブビーム生成部は、
連続発振タイプのレーザ光源と
前記レーザ光源から出力されたレーザ光を回折させ、入力される第1コム信号の周波数に応じた複数の第1回折光を射出する第1音響光学ディフレクタと、
前記レーザ光が入射され、前記レーザ光の光周波数をシフトする光周波数シフタと、
前記光周波数シフタからのレーザ光を回折させ、第2コム信号の周波数に応じた複数の第2回折光を射出する第2音響光学ディフレクタと
前記第1回折光と前記第2回折光とを光周波数の差が異なる組み合わせで干渉させることよって、前記第1プローブビームと前記第2プローブビームとする干渉部とを有し
前記プローブビーム照射部は、前記第2プローブビームにおける前記複数の第2励起光の並ぶ順番を反転させる反転部を有する
ことを特徴とする請求項1に記載の蛍光測定装置。
【請求項6】
前記副走査部は、副走査方向に沿って前記測定対象が流体と共に流れる流路を有する流路デバイスであり、
前記プローブビーム照射部は、前記流路内に前記第1プローブビーム及び前記第2プローブビームを照射する
ことを特徴とする請求項1に記載の蛍光測定装置。
【請求項7】
測定対象に向けて、強度の変調周波数が互いに異なる複数の第1励起光を前記変調周波数の順番で空間的に配列した第1プローブビームを、前記複数の第1励起光が配列された順番で主走査方向に並ぶように照射するとともに、強度の変調周波数が互いに異なる複数の第2励起光を前記変調周波数の順番で空間的に配列した第2プローブビームを、前記複数の第1励起光が並ぶ前記変調周波数の順番とは逆の前記変調周波数の順番で前記複数の第2励起光が主走査方向に並び、かつ主走査方向と直交する副走査方向に前記第1プローブビームから離して前記第2プローブビームを照射する照射ステップと、
副走査方向に、前記第1プローブビーム及び前記第2プローブビームと前記測定対象とを相対的に移動させる副走査ステップと、
前記第1プローブビームを照射することで前記測定対象から発せられる蛍光からなる第1検出光と、前記第2プローブビームを照射することで前記測定対象から発せられる蛍光からなる第2検出光とを分離する検出光分離ステップと、
前記第1検出光の光強度に応じた第1検出信号を前記変調周波数ごとに分離して複数の第1蛍光信号を生成するとともに、前記第2検出光の光強度に応じた第2検出信号を前記変調周波数ごとに複数の第2蛍光信号に分離する蛍光信号分離ステップと、
前記第1プローブビーム及び前記第2プローブビームに対する前記測定対象の副走査方向の移動速度及び照射される前記第1プローブビームと前記第2プローブビームとの距離に応じた時間で相対的にずらされた、主走査方向における照射位置が同じ前記第1プローブビーム及び前記第2プローブビームの各励起光に対応する前記第1蛍光信号と前記第2蛍光信号とに基づいて、予め設定した基準変調周波数で強度変調した励起光に対する前記測定対象の蛍光寿命または蛍光強度を得る信号処理ステップと
を有することを特徴とする蛍光測定方法。
発明の詳細な説明
【技術分野】
【0001】
本発明は、蛍光測定装置及び蛍光測定方法に関する。
続きを表示(約 2,500 文字)
【背景技術】
【0002】
周波数分割多重方式により蛍光物質の分布を取得するレーザ顕微鏡装置が知られている(特許文献1を参照)。周波数分割多重方式のレーザ顕微鏡装置では、異なる変調周波数で強度変調された励起光をライン状に並べて測定対象に同時照射し、また走査することによって、照射された励起光と同じ変調周波数の蛍光信号を検出する。蛍光信号は、信号処理によって変調周波数成分ごとに分離することで、測定対象の蛍光画像の高速な撮像を可能にしている。
【0003】
また、上記レーザ顕微鏡装置と同様な構成で、励起光と蛍光信号の位相差を測定することによって、測定対象の蛍光寿命画像を高速に得ることができる蛍光寿命イメージング装置が知られている(例えば、非特許文献1、2を参照)。
【先行技術文献】
【特許文献】
【0004】
国際公開第2017/138619号
【非特許文献】
【0005】
菅野寛志、三上秀治、合田圭介、「周波数分割多重による超高速蛍光寿命イメージング」、第66回応用物理学会春季学術講演会 講演予稿集、doi:10.11470/jsapmeeting.2019.1.0_263
Hiroshi Kanno, Hideharu Mikami, Keisuke Goda, “Ultrafast fluorescence lifetime imaging microscopy by frequency-division multiplexing”, SPIE Photonics West BiOS, March 2020 , doi:10.1117/12.2550427
【発明の概要】
【発明が解決しようとする課題】
【0006】
ところで、測定対象の物質によっては、単一の蛍光減衰を示さないものがある。すなわち、蛍光減衰が照射される励起光の変調周波数の影響を受けて非線形に変化する場合がある。この場合、上記のような周波数分割多重方式の蛍光寿命イメージング装置では、励起光の変調周波数が異なっているから、その変調周波数に応じて蛍光強度および蛍光寿命が変調周波数に依存して変化する非線形な測定アーチファクトを生じ、解析等が難しくなるといった問題があった。
【0007】
本発明は、上記事情を鑑みてなされたものであり、変調周波数の違いによって生じる測定アーチファクトを抑制することができる蛍光測定装置及び蛍光測定方法を提供することを目的とする。
【課題を解決するための手段】
【0008】
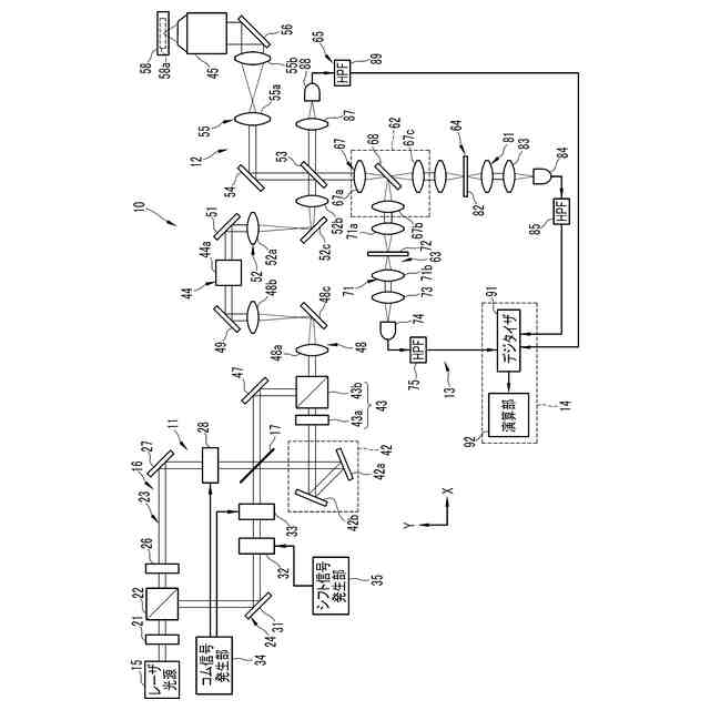
本発明の蛍光測定装置は、強度の変調周波数が互いに異なる複数の第1励起光を変調周波数の順番で空間的に配列した第1プローブビームと、強度の変調周波数が互いに異なる複数の第2励起光を変調周波数の順番で空間的に配列した第2プローブビームとをそれぞれ生成するプローブビーム生成部と、測定対象に向けて、複数の第1励起光が配列された順番で主走査方向に並ぶように第1プローブビームを照射するとともに、複数の第1励起光が並ぶ変調周波数の順番とは逆の変調周波数の順番で複数の第2励起光が主走査方向に並び、かつ主走査方向と直交する副走査方向に第1プローブビームからずらして第2プローブビームを照射するプローブビーム照射部と、副走査方向に、第1プローブビーム及び第2プローブビームと測定対象とを相対的に移動させる副走査部とを備えるものである。
【0009】
また、本発明の蛍光測定方法は、測定対象に向けて、強度の変調周波数が互いに異なる複数の第1励起光を変調周波数の順番で空間的に配列した第1プローブビームを、複数の第1励起光が配列された順番で主走査方向に並ぶように照射するとともに、強度の変調周波数が互いに異なる複数の第2励起光を前記変調周波数の順番で空間的に配列した第2プローブビームを、複数の第1励起光が並ぶ変調周波数の順番とは逆の変調周波数の順番で複数の第2励起光が主走査方向に並び、かつ主走査方向と直交する副走査方向に第1プローブビームから離して第2プローブビームを照射する照射ステップと、副走査方向に、第1プローブビーム及び第2プローブビームと測定対象とを相対的に移動させる副走査ステップと、第1プローブビームを照射することで測定対象から発せられる蛍光からなる第1検出光と、第2プローブビームを照射することで測定対象から発せられる蛍光からなる第2検出光とを分離する検出光分離ステップと、第1検出光の光強度に応じた第1検出信号を変調周波数ごとに分離して複数の第1蛍光信号を生成するとともに、第2検出光の光強度に応じた第2検出信号を変調周波数ごとに複数の第2蛍光信号に分離する蛍光信号分離ステップと、第1プローブビーム及び第2プローブビームに対する測定対象の副走査方向の移動速度及び照射される第1プローブビームと第2プローブビームとの距離に応じた時間で相対的にずらされた、主走査方向における照射位置が同じ第1プローブビーム及び第2プローブビームの各励起光に対応する第1蛍光信号と第2蛍光信号とに基づいて、予め設定した基準変調周波数で強度変調した励起光に対する測定対象の蛍光寿命または蛍光強度を得る信号処理ステップとを有するものである。
【発明の効果】
【0010】
本発明によれば、測定対象に向けて、強度の変調周波数が互いに異なる複数の第1励起光を変調周波数の順番で主走査方向に配列した第1プローブビームを照射するとともに、第1プローブビームとは逆の順番で主走査方向に第2励起光が並ぶ第2プローブビームを第1プローブビームから副走査方向にずらして照射して、主走査方向における同じ位置に変調周波数が異なる第1励起光と第2励起光を照射するので、予め設定した基準変調周波数で強度変調した励起光に対する測定対象の蛍光寿命または蛍光強度を得られ、変調周波数の違いによって生じる測定アーチファクトを抑制することができる。
【図面の簡単な説明】
(【0011】以降は省略されています)
この特許をJ-PlatPat(特許庁公式サイト)で参照する
関連特許
国立大学法人 東京大学
力センサ
7日前
国立大学法人 東京大学
ガス処理方法
1か月前
国立大学法人 東京大学
担持金属触媒
2か月前
国立大学法人 東京大学
せん妄判定方法
3か月前
国立大学法人 東京大学
コンパレータ回路
1か月前
国立大学法人 東京大学
ビーム追従システム
1か月前
国立大学法人 東京大学
超音波モータシステム
2か月前
国立大学法人 東京大学
超音波モータシステム
2か月前
国立大学法人 東京大学
超音波モータシステム
2か月前
国立大学法人 東京大学
光学装置及びレーザー
4か月前
国立大学法人 東京大学
結晶、及びその製造方法
3か月前
AGC株式会社
組成物
4か月前
国立大学法人 東京大学
肝臓オルガノイド成熟培地
1か月前
国立大学法人 東京大学
テラヘルツ帯同期検波回路
2か月前
国立大学法人 東京大学
推定装置、及びプログラム
2か月前
国立大学法人 東京大学
接着性細胞の浮遊培養用基材
1か月前
国立大学法人 東京大学
テラヘルツ波帯位相変調回路
2か月前
国立大学法人 東京大学
読出回路及び磁気メモリ装置
2か月前
国立大学法人 東京大学
嗅覚受容体の応答感度増強剤
4か月前
NTT株式会社
圧力センサ
2か月前
住友化学株式会社
原子力電池
5か月前
国立大学法人 東京大学
ドローンを用いた配送システム
1か月前
国立大学法人 東京大学
情報処理装置、及びプログラム
2か月前
国立大学法人 東京大学
酸化腐食抑制能を有する電解液
20日前
国立大学法人 東京大学
蛍光測定装置及び蛍光測定方法
今日
ダイキン工業株式会社
冷凍装置
20日前
ダイキン工業株式会社
冷凍装置
20日前
国立大学法人 東京大学
光デバイス及びコヒーレント受信器
2か月前
株式会社アイシン
有機酸除去方法
5か月前
積水化学工業株式会社
酸素発生剤
2か月前
国立大学法人 東京大学
通信装置、制御方法、及びプログラム
1か月前
古河電気工業株式会社
超電導モータ
2か月前
国立大学法人 東京大学
ホウ素含有化合物及びそれを含む医薬
3か月前
国立大学法人 東京大学
皮膚微生物叢を制御するための溶菌剤
4か月前
ダイキン工業株式会社
層及び構造体
4か月前
国立大学法人 東京大学
静電容量式センサ及びロボットシステム
2か月前
続きを見る
他の特許を見る