TOP
|
特許
|
意匠
|
商標
特許ウォッチ
Twitter
他の特許を見る
10個以上の画像は省略されています。
公開番号
2025135218
公報種別
公開特許公報(A)
公開日
2025-09-18
出願番号
2024032917
出願日
2024-03-05
発明の名称
圧力センサ
出願人
NTT株式会社
,
国立大学法人 東京大学
代理人
弁理士法人アイル知財事務所
主分類
G01L
9/00 20060101AFI20250910BHJP(測定;試験)
要約
【課題】デバイス数を増加させずに広い範囲全体を連続的に測定することができる圧力センサ及び圧力測定方法を提供することを目的とする。
【解決手段】本発明に係る圧力センサ301は、光ファイバ50と、光ファイバ50を長手方向に覆う容器11と、を備える圧力センサであって、容器11は、液体又は気体で満たされていること、及び長手方向に垂直な断面において外周の一部が圧力で変形する膜12で形成されていることを特徴とする。測定器20で光ファイバ50の歪分布を測定し、歪分布を圧力分布へ変換する。
【選択図】図3
特許請求の範囲
【請求項1】
光ファイバと、前記光ファイバを長手方向に覆う容器と、を備える圧力センサであって、前記容器は、
液体又は気体で満たされていること、及び
長手方向に垂直な断面において外周の一部が圧力で変形する膜で形成されていること
を特徴とする圧力センサ。
続きを表示(約 690 文字)
【請求項2】
前記光ファイバがシングルモードファイバであり、前記膜に接着されていることを特徴とする請求項1に記載の圧力センサ。
【請求項3】
前記光ファイバがテープファイバ又はマルチコアファイバであり、前記膜に接着されていないことを特徴とする請求項1に記載の圧力センサ。
【請求項4】
前記圧力で前記光ファイバ及び前記膜が位置変動しないように固定する少なくとも1つの節をさらに備えることを特徴とする請求項1から3のいずれかに記載の圧力センサ。
【請求項5】
前記節において前記液体又は気体を分離する隔離壁をさらに備えることを特徴とする請求項4に記載の圧力センサ。
【請求項6】
圧力を測定したい範囲の形の容器に液体または気体、及びシングルモードファイバである光ファイバを格納し、圧力で変形する膜で密封した圧力センサを配置すること、
前記光ファイバに光を入射し、前記光ファイバからの後方散乱光で前記光ファイバに発生した歪分布を測定すること、及び
前記歪分布を圧力に変換すること
を特徴とする圧力測定方法。
【請求項7】
圧力を測定したい範囲の形の容器に液体または気体、及びマルチコアファイバ又はテープファイバである光ファイバを格納し、圧力で変形する膜で密封した圧力センサを配置すること、
前記光ファイバに光を入射し、前記光ファイバからの後方散乱光で前記光ファイバに発生した曲げを測定すること、及び
前記曲げを圧力に変換すること
を特徴とする圧力測定方法。
発明の詳細な説明
【技術分野】
【0001】
本開示は、光ファイバを用いて液体や気体などの圧力を測定する圧力センサに関する。
続きを表示(約 1,600 文字)
【背景技術】
【0002】
液体や気体などの圧力を測定する圧力センサは様々なものが実用されている。図1は、電気的な圧力センサの例を説明する図である(例えば、非特許文献1を参照。)。図2は、光ファイバを用いた圧力センサの例を説明する図である(例えば、非特許文献2を参照。)。
気体や液体の圧力を受ける部分にその力によって歪を生じるデバイス(図1であれば歪ゲージ、図2であればFBG部)を使い、測定した歪量から測定したい気体や液体の圧力へ変換する。
【先行技術文献】
【非特許文献】
【0003】
Webページ(https://www.keyence.co.jp/products/process/pressure/)、2023年12月1日検索
Webページ(https://nanoxeed.co.jp/product/fbgpressure/)、2023年12月1日検索
【発明の概要】
【発明が解決しようとする課題】
【0004】
そのデバイス(歪ゲージやFBG部)は小型であり、相対的に広い範囲全体の圧力を測定しようとすれば、そのデバイスを多数用いることになる。また、そのデバイスの配置は有限個であり機構間を測定することができず不連続な有限個の点での測定となる。つまり、図1や2のような圧力測定手法には、広い範囲全体を連続的に測定することが困難という課題がある。
【0005】
前記課題を解決するために、本発明は、デバイス数を増加させずに広い範囲全体を連続的に測定することができる圧力センサ及び圧力測定方法を提供することを目的とする。
【課題を解決するための手段】
【0006】
上記目的を達成するために、本発明に係る圧力センサは、直接圧力を測定するのではなく、気体や液体が封入された容器に印可される圧力を容器内に配置した光ファイバで測定することとした。
【0007】
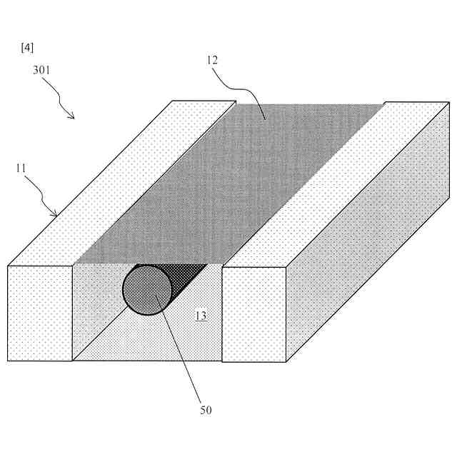
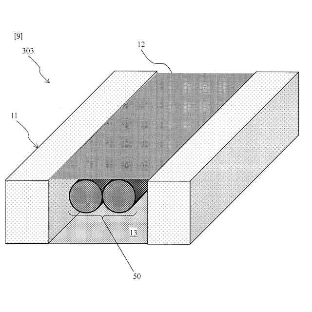
具体的には、本発明に係る圧力センサは、光ファイバと、前記光ファイバを長手方向に覆う容器と、を備える圧力センサであって、前記容器は、液体又は気体で満たされていること、及び長手方向に垂直な断面において外周の一部が圧力で変形する膜で形成されていることを特徴とする。
ここで、前記光ファイバがシングルモードファイバであり、前記膜に接着されていてもよい。
また、前記光ファイバがテープファイバ又はマルチコアファイバであり、前記膜に接着されていなくてもよい。
【0008】
粘性など特性がわかっている液体または気体で満たした容器に光ファイバを格納する。当該容器は、その一面が圧力によって変形する膜で形成されている。圧力による当該膜の変形により膜に接着された光ファイバに、または容器の中の液体または気体を介した圧力により光ファイバに歪が発生する。この歪を測定することで容器の周囲全体の圧力を連続的に測定することができる。
容器内の液体または気体、及び膜の特性(既知の特性)により光ファイバが受ける圧力が一定の精度を持つため、光ファイバの歪を測定することで誤差の少ない高精度の圧力への変換が可能である。
【0009】
従って、本発明は、デバイス数を増加させずに広い範囲全体を連続的に測定することができる圧力センサを提供することができる。
【0010】
前記圧力で前記光ファイバ及び前記膜が位置変動しないように固定する少なくとも1つの節をさらに備えることとしてもよい。この時、前記節において前記液体又は気体を分離する隔離壁をさらに備えることとしてもよい。任意に設定した節間の圧力を測定することができる。
(【0011】以降は省略されています)
特許ウォッチbot のツイートを見る
この特許をJ-PlatPat(特許庁公式サイト)で参照する
関連特許
NTT株式会社
計算装置
1か月前
NTT株式会社
検知装置
10日前
NTT株式会社
計算装置
25日前
NTT株式会社
通信システム
16日前
NTT株式会社
遠隔制御システム
2日前
NTT株式会社
遠隔制御システム
2日前
NTT株式会社
復号装置及び復号方法
1か月前
NTT株式会社
推定装置及び推定方法
2か月前
NTT株式会社
情報処理装置、及び情報処理方法
1か月前
NTT株式会社
情報処理装置、及び情報処理方法
1か月前
NTT株式会社
交通量推定装置及び交通量推定方法
2か月前
NTT株式会社
映像処理装置、方法及びプログラム
2日前
NTT株式会社
通信システム、方法及びプログラム
1か月前
NTT株式会社
通信システム、方法及びプログラム
1か月前
NTT株式会社
無線通信システム及び無線通信方法
24日前
NTT株式会社
映像処理装置、方法及びプログラム
2か月前
NTT株式会社
刺激制御装置、および刺激制御方法
24日前
NTT株式会社
窒素固定能を有する藻類の選抜方法
26日前
NTT株式会社
評価装置、評価方法およびプログラム
1か月前
NTT株式会社
量子鍵配送システム及び量子鍵配送方法
1か月前
NTT株式会社
座屈剥離構造の予測装置および予測方法
1か月前
NTT株式会社
電子署名システム、方法及びプログラム
1か月前
NTT株式会社
微生物の土壌中での生存性を調節する方法
1か月前
NTT株式会社
情報処理装置およびボットネット分析方法
1か月前
NTT株式会社
測定装置、測定方法、及び、測定プログラム
1か月前
NTT株式会社
数モードマルチコア光ファイバ及び光伝送システム
1か月前
NTT株式会社
推定装置、復元装置、推定方法、およびプログラム
1か月前
NTT株式会社
データ処理装置、データ処理方法、およびプログラム
4日前
NTT株式会社
情報処理システム、情報処理装置および情報処理方法
1か月前
NTT株式会社
通信品質予測装置、通信品質予測方法、及びプログラム
2か月前
NTT株式会社
電荷分布推定装置、電荷分布推定方法、及びプログラム
2日前
NTT株式会社
組合せ最適化方法、組合せ最適化装置、及びプログラム
2か月前
NTT株式会社
学習装置、分類装置、学習方法、分類方法及びプログラム
1か月前
NTT株式会社
伝搬グラフ復元装置、伝搬グラフ復元方法、及びプログラム
1か月前
NTT株式会社
施工計画立案装置、施工計画立案方法、及び施工計画立案プログラム
2か月前
NTT株式会社
植物の開花時期制御方法および開花時期が制御された植物の作出方法
16日前
続きを見る
他の特許を見る