TOP
|
特許
|
意匠
|
商標
特許ウォッチ
Twitter
他の特許を見る
10個以上の画像は省略されています。
公開番号
2025170196
公報種別
公開特許公報(A)
公開日
2025-11-18
出願番号
2024071644
出願日
2024-04-25
発明の名称
河川水位予測システム、河川水位予測方法、および河川水位予測プログラム
出願人
NTTドコモソリューションズ株式会社
代理人
個人
,
個人
,
個人
主分類
G01W
1/00 20060101AFI20251111BHJP(測定;試験)
要約
【課題】多地点の降水データや水位データを取得することなく高い精度で水位を予測する。
【解決手段】本発明の一態様は、対象河川の水位を示す水位データ、対象河川における降水量を示す降水量データを取得する取得部と、前記取得部により取得された前記降水量データに基づいて所定時間における降水量累積データおよび降水時間を算出する算出部と、前記水位データ、前記降水量データ、前記降水量累積データ、および前記降水時間データに基づいて未来の水位を予測する予測部と、を備え、前記予測部は、前記算出部により算出された前記所定時間を複数の期間に分割した分割期間ごとに、各分割期間よりも前の分割期間の水位予測結果に基づいて各分割期間の水位を予測することで前記所定時間における分割期間ごとの水位予測結果を生成する、河川水位予測システムである。
【選択図】図1
特許請求の範囲
【請求項1】
対象河川の水位を示す水位データ、対象河川における降水量を示す降水量データを取得する取得部と、
前記取得部により取得された前記降水量データに基づいて所定時間における降水量累積データおよび降水時間データを算出する算出部と、
前記水位データ、前記降水量データ、前記降水量累積データ、および前記降水時間データに基づいて未来の水位を予測する予測部と、を備え、
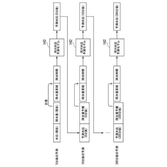
前記予測部は、前記算出部により算出された前記所定時間を複数の期間に分割した分割期間ごとに、各分割期間よりも前の分割期間の水位予測結果に基づいて各分割期間の水位を予測することで前記所定時間における分割期間ごとの水位予測結果を生成する、河川水位予測システム。
続きを表示(約 2,300 文字)
【請求項2】
前記予測部は、
対象河川における前記水位データ、前記降水量データ、前記降水量累積データ、および前記降水時間データにより学習された個別河川水位予測モデルに、対象河川の前記水位データ、前記降水量データ、前記降水量累積データ、および前記降水時間データを入力し、前記個別河川水位予測モデルの出力に基づいて未来の水位を予測し、
複数の河川における前記水位データ、前記降水量データ、前記降水量累積データ、および前記降水時間データにより学習された汎用河川水位予測モデルに、対象河川の前記水位データ、前記降水量データ、前記降水量累積データ、および前記降水時間データを入力し、前記汎用河川水位予測モデルの出力に基づいて未来の水位を予測し、
前記個別河川水位予測モデルの出力および前記汎用河川水位予測モデルの出力に基づいて対象河川における未来の水位を予測する、
請求項1に記載の河川水位予測システム。
【請求項3】
前記予測部は、
対象河川における前記水位データ、前記降水量データ、前記降水量累積データ、および前記降水時間データにより学習された個別河川水位予測モデルに、対象河川の前記水位データ、前記降水量データ、前記降水量累積データ、および前記降水時間データを入力し、前記個別河川水位予測モデルの出力に基づいて未来の水位を予測し、
複数の河川における前記水位データ、前記降水量データ、前記降水量累積データ、および前記降水時間データにより学習された汎用河川水位予測モデルに、対象河川の前記水位データ、前記降水量データ、前記降水量累積データ、および前記降水時間データを入力し、前記汎用河川水位予測モデルの出力に基づいて未来の水位を予測し、
前記個別河川水位予測モデルの出力に応じた予測結果の精度と前記汎用河川水位予測モデルの出力に応じた予測結果の精度とに基づいて、前記個別河川水位予測モデルと前記汎用河川水位予測モデルとの何れかを用いるかを選択する、
請求項1に記載の河川水位予測システム。
【請求項4】
前記予測部は、
各分割期間よりも前の分割期間の水位予測結果に基づいて各分割期間の水位を再帰的に予測することで前記所定時間における分割期間ごとの水位予測結果を生成する再帰的予測モデルに、対象河川の前記水位データ、前記降水量データ、前記降水量累積データ、および前記降水時間データを入力し、前記再帰的予測モデルの出力に基づいて未来の分割期間ごとの水位を予測し、
現時点の前記水位データ、前記降水量データ、前記降水量累積データ、および前記降水時間データを入力し、現時点から前記所定時間に含まれる複数の未来の時点ごとに水位を予測する複数の時点予測モデルに、対象河川の前記水位データ、前記降水量データ、前記降水量累積データ、および前記降水時間データを入力し、前記複数の時点予測モデルの出力に基づいて未来の複数の時点における水位を予測し、
前記再帰的予測モデルの出力および前記時点予測モデルの出力に基づいて対象河川における未来の水位を予測する、
請求項1に記載の河川水位予測システム。
【請求項5】
前記予測部により予測された水位と実際の水位の差、予測された最大水位の到来時刻と実際の最大水位の到来時刻との差、予測された最大水位と実際の最大水位との差を評価する評価部を備える、請求項1に記載の河川水位予測システム。
【請求項6】
前記水位データ、前記降水量データ、前記降水量累積データ、および前記降水時間データをそれぞれ正規化する正規化部を備え、
前記予測部は、前記正規化部により正規化された前記水位データ、前記降水量データ、前記降水量累積データ、および前記降水時間データに基づいて水位を予測する、請求項1に記載の河川水位予測システム。
【請求項7】
情報処理装置が、対象河川の水位を示す水位データ、対象河川における降水量を示す降水量データを取得するステップと、
前記情報処理装置が、前記降水量データに基づいて所定時間における降水量累積データおよび降水時間データを算出するステップと、
前記情報処理装置が、前記水位データ、前記降水量データ、前記降水量累積データ、および前記降水時間データに基づいて未来の水位を予測するステップと、を含み、
前記未来の水位を予測するステップは、前記所定時間を複数の期間に分割した分割期間ごとに、各分割期間よりも前の分割期間の水位予測結果に基づいて各分割期間の水位を予測することで前記所定時間における分割期間ごとの水位予測結果を生成する、河川水位予測方法。
【請求項8】
情報処理装置のコンピュータに、
対象河川の水位を示す水位データ、対象河川における降水量を示す降水量データを取得するステップと、
前記情報処理装置が、前記降水量データに基づいて所定時間における降水量累積データおよび降水時間データを算出するステップと、
前記情報処理装置が、前記水位データ、前記降水量データ、前記降水量累積データ、および前記降水時間データに基づいて未来の水位を予測するステップと、を実行させ、
前記未来の水位を予測するステップは、前記所定時間を複数の期間に分割した分割期間ごとに、各分割期間よりも前の分割期間の水位予測結果に基づいて各分割期間の水位を予測することで前記所定時間における分割期間ごとの水位予測結果を生成する、河川水位予測プログラム。
発明の詳細な説明
【技術分野】
【0001】
本発明は、河川水位予測システム、河川水位予測方法、および河川水位予測プログラムに関する。
続きを表示(約 2,400 文字)
【背景技術】
【0002】
従来、河川の水位を判定するための技術としては、例えば、特許文献1に記載された水位判定システムが知られている。この水位判定システムは、水位の判定対象となる箇所を撮像して得られた画像の互いに異なる位置に設定された複数の水位判定用領域それぞれにおける、水が写っている部分を検出し、検出結果に基づいて複数の水位判定用領域それぞれについて水位の判定に用いるか否かを判断し、水位の判定に用いると判断した水位判定用領域の検出結果を用いて水位を判定している。
【先行技術文献】
【特許文献】
【0003】
特開2023-27633号公報
【発明の概要】
【発明が解決しようとする課題】
【0004】
上述した水位判定システムは現時点の水位を判定する技術であるが、未来の河川の水位を予測することが望まれている。河川の水位の予測精度を高くするためには河川における多地点の降水データや水位データを取得することが考えられる。しかし、水位の予測精度を高くするためには降水データや水位データを取得する地点を多くする必要があり、システムの導入コストが高くなってしまう。
【0005】
本発明は、上記の課題に鑑みてなされたものであって、多地点の降水データや水位データを取得することなく高い精度で水位を予測することができる河川水位予測システム、河川水位予測方法、および河川水位予測プログラムを提供することを目的としている。
【課題を解決するための手段】
【0006】
(1)本発明の一態様は、対象河川の水位を示す水位データ、対象河川における降水量を示す降水量データを取得する取得部と、前記取得部により取得された前記降水量データに基づいて所定時間における降水量累積データおよび降水時間を算出する算出部と、前記水位データ、前記降水量データ、前記降水量累積データ、および前記降水時間データに基づいて未来の水位を予測する予測部と、を備え、前記予測部は、前記算出部により算出された前記所定時間を複数の期間に分割した分割期間ごとに、各分割期間よりも前の分割期間の水位予測結果に基づいて各分割期間の水位を予測することで前記所定時間における分割期間ごとの水位予測結果を生成する、河川水位予測システムである。
【0007】
(2)本発明の一態様は、前記予測部は、対象河川における前記水位データ、前記降水量データ、前記降水量累積データ、および前記降水時間データにより学習された個別河川水位予測モデルに、対象河川の前記水位データ、前記降水量データ、前記降水量累積データ、および前記降水時間データを入力し、前記個別河川水位予測モデルの出力に基づいて未来の水位を予測し、複数の河川における前記水位データ、前記降水量データ、前記降水量累積データ、および前記降水時間データにより学習された汎用河川水位予測モデルに、対象河川の前記水位データ、前記降水量データ、前記降水量累積データ、および前記降水時間データを入力し、前記汎用河川水位予測モデルの出力に基づいて未来の水位を予測し、前記個別河川水位予測モデルの出力および前記汎用河川水位予測モデルの出力に基づいて対象河川における未来の水位を予測してよい。
【0008】
(3)本発明の一態様は、前記予測部は、対象河川における前記水位データ、前記降水量データ、前記降水量累積データ、および前記降水時間データにより学習された個別河川水位予測モデルに、対象河川の前記水位データ、前記降水量データ、前記降水量累積データ、および前記降水時間データを入力し、前記個別河川水位予測モデルの出力に基づいて未来の水位を予測し、複数の河川における前記水位データ、前記降水量データ、前記降水量累積データ、および前記降水時間データにより学習された汎用河川水位予測モデルに、対象河川の前記水位データ、前記降水量データ、前記降水量累積データ、および前記降水時間データを入力し、前記汎用河川水位予測モデルの出力に基づいて未来の水位を予測し、前記個別河川水位予測モデルの出力に応じた予測結果の精度と前記汎用河川水位予測モデルの出力に応じた予測結果の精度とに基づいて、前記個別河川水位予測モデルと前記汎用河川水位予測モデルとの何れかを用いるかを選択してよい。
【0009】
(4)本発明の一態様は、前記予測部は、各分割期間よりも前の分割期間の水位予測結果に基づいて各分割期間の水位を再帰的に予測することで前記所定時間における分割期間ごとの水位予測結果を生成する再帰的予測モデルに、対象河川の前記水位データ、前記降水量データ、前記降水量累積データ、および前記降水時間データを入力し、前記再帰的予測モデルの出力に基づいて未来の分割期間ごとの水位を予測し、現時点の前記水位データ、前記降水量データ、前記降水量累積データ、および前記降水時間データを入力し、現時点から前記所定時間に含まれる複数の未来の時点ごとに水位を予測する複数の時点予測モデルに、対象河川の前記水位データ、前記降水量データ、前記降水量累積データ、および前記降水時間データを入力し、前記複数の時点予測モデルの出力に基づいて未来の複数の時点における水位を予測し、前記再帰的予測モデルの出力および前記時点予測モデルの出力に基づいて対象河川における未来の水位を予測してよい。
【0010】
(5)本発明の一態様は、前記予測部により予測された水位と実際の水位の差、予測された最大水位の到来時刻と実際の最大水位の到来時刻との差、予測された最大水位と実際の最大水位との差を評価する評価部を備えてよい。
(【0011】以降は省略されています)
特許ウォッチbot のツイートを見る
この特許をJ-PlatPat(特許庁公式サイト)で参照する
関連特許
個人
採尿及び採便具
22日前
日本精機株式会社
検出装置
16日前
個人
アクセサリー型テスター
1か月前
個人
計量機能付き容器
11日前
個人
高精度同時多点測定装置
1か月前
株式会社ミツトヨ
測定器
28日前
株式会社カクマル
境界杭
1日前
甲神電機株式会社
電流検出装置
16日前
アズビル株式会社
電磁流量計
1か月前
ダイキン工業株式会社
監視装置
1か月前
大成建設株式会社
風洞実験装置
11日前
愛知時計電機株式会社
ガスメータ
28日前
ローム株式会社
半導体装置
1か月前
双庸電子株式会社
誤配線検査装置
17日前
個人
システム、装置及び実験方法
1か月前
日本特殊陶業株式会社
ガスセンサ
9日前
愛知電機株式会社
軸部材の外観検査装置
25日前
個人
非接触による電磁パルスの測定方法
14日前
日本信号株式会社
距離画像センサ
14日前
長崎県
形状計測方法
1か月前
ローム株式会社
半導体装置
1か月前
大和製衡株式会社
組合せ計量装置
25日前
大和製衡株式会社
組合せ計量装置
25日前
個人
計量具及び計量機能付き容器
11日前
トヨタ自動車株式会社
測定システム
1か月前
日東精工株式会社
振動波形検査装置
17日前
株式会社デンソー
電流センサ
1か月前
キーコム株式会社
画像作成システム
1日前
株式会社不二越
X線測定装置
14日前
日本特殊陶業株式会社
センサ
28日前
個人
液位検視及び品質監視システム
9日前
日本特殊陶業株式会社
センサ
1か月前
日本特殊陶業株式会社
センサ
1か月前
日本特殊陶業株式会社
センサ
1か月前
日本特殊陶業株式会社
センサ
1か月前
日本特殊陶業株式会社
センサ
1か月前
続きを見る
他の特許を見る