TOP
|
特許
|
意匠
|
商標
特許ウォッチ
Twitter
他の特許を見る
公開番号
2025169939
公報種別
公開特許公報(A)
公開日
2025-11-14
出願番号
2025077484
出願日
2025-05-07
発明の名称
試験測定システム及び被試験デバイスの試験方法
出願人
テクトロニクス・インコーポレイテッド
,
TEKTRONIX,INC.
代理人
個人
,
個人
主分類
G01R
13/28 20060101AFI20251107BHJP(測定;試験)
要約
【課題】ニューラル・ネットワークの学習をDUTの新データで効率的に更新する。
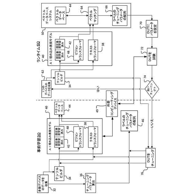
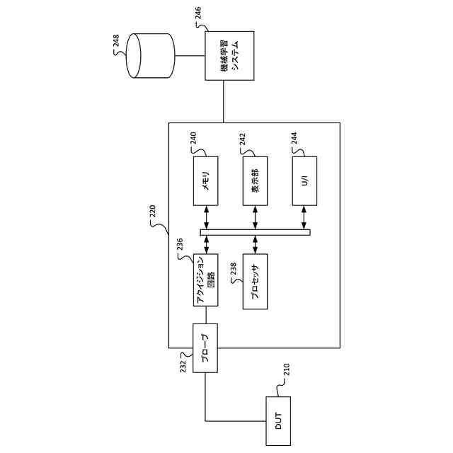
【解決手段】試験測定システムには、機械学習システム246、被試験デバイス(DUT)210への接続部のある試験測定装置220、DUT210からの信号を受けて1つ以上のデジタル波形に変換する1つ以上のADCがあり、1つ以上のプロセッサは、DUT210に適用されるチューニング・パラメータのセットに対応する1つ以上のデジタル波形を受信し、1つ以上のデジタル波形の1つ以上の画像テンソルを構築し、人工知能埋め込み表現モデルを使用してメタデータから1つ以上のテキスト文字列を生成すると共にメタデータと1つ以上の画像テンソルを埋め込み表現ベクトルに変換し、ベクトル・データベースにアクセスし、マッチングの数に対応する個数のインデックスを有するインデックスのセットを受けて、このセットを利用して最適なチューニング・パラメータの1つ以上のセットを見つけ、DUT210の動作を検証する。
【選択図】図5
特許請求の範囲
【請求項1】
試験測定システムであって、
試験測定装置を被試験デバイス(DUT)に接続できるようにする接続部と、
上記DUTから信号を受信し、1つ以上のデジタル波形に変換する1つ以上のアナログ・デジタル・コンバータ(ADC)と
を有する上記試験測定装置と、
1つ以上のプロセッサとを具え、該1つ以上のプロセッサは、
上記DUTに適用される1つのチューニング・パラメータのセットに夫々対応する上記1つ以上のデジタル波形を上記1つ以上のADCから受信する処理と、
上記1つ以上のデジタル波形の1つ以上の画像テンソルを構築する処理と、
上記1つ以上のデジタル波形に関連するメタデータから1つ以上のテキスト文字列を生成すると共に、上記メタデータ及び上記1つ以上の画像テンソルを埋め込み表現ベクトルに変換する人工知能埋め込み表現モデルを使用する処理と、
ベクトル・データベースにアクセスする処理と、
マッチングの数に対応する個数のインデックスを有するインデックスのセットを上記ベクトル・データベースから受ける処理と、
上記インデックスのセットを使用して最適なチューニング・パラメータの配列にアクセスし、上記DUTの1つ以上の最適なチューニング・パラメータのセットを見つける処理と、
上記最適なチューニング・パラメータの配列からの上記1つ以上の最適なチューニング・パラメータのセットを使用して、上記DUTの動作を検証する処理と
を上記1つ以上のプロセッサに行わせるプログラムを実行するように構成される試験測定システム。
続きを表示(約 2,500 文字)
【請求項2】
上記DUTの動作を検証する処理を上記1つ以上のプロセッサに行わせるプログラムは、
上記1つ以上の最適なチューニング・パラメータのセットの中の1つのセットで上記DUTをチューニングする処理と、
上記1つ以上の最適なチューニング・パラメータのセットの中の上記1つのセットで上記DUTを試験する処理と、
上記DUTが試験に合格したかどうかを判断する処理と、
上記DUTが試験に不合格の場合、上記1つ以上の最適なチューニング・パラメータのセットの中の別のセットを使用する処理と、
上記DUTが試験に合格するか、又は、上記1つ以上の最適なチューニング・パラメータのセットの全てセットで試験を行うかのいずれかまで反復する処理と
を上記1つ以上のプロセッサに行わせるプログラムを含む請求項1に記載の試験測定システム。
【請求項3】
上記1つ以上のプロセッサは、ユーザ試験プロセスを利用して、上記1つ以上の最適なチューニング・パラメータのセットの中の最も良いセットを使用して上記ユーザ試験プロセスを開始する処理を上記1つ以上のプロセッサに行わせるプログラムを実行するように更に構成される請求項2に記載の試験測定システム。
【請求項4】
上記1つ以上のプロセッサは、ユーザ試験プロセスを利用して、上記1つ以上の波形に関連するメタデータに由来するテキスト文字列及び上記1つ以上の画像テンソルで上記人工知能埋め込み表現モデルをアップデートする処理を上記1つ以上のプロセッサに行わせるプログラムを実行するように更に構成される請求項2に記載の試験測定システム。
【請求項5】
上記1つ以上のプロセッサは、該1つ以上のプロセッサが上記インデックスを使用する前に、上記メタデータを使用して上記インデックスの数を減らす処理を上記1つ以上のプロセッサに行わせるプログラムを実行するように更に構成される請求項1に記載の試験測定システム。
【請求項6】
上記1つ以上のプロセッサは、上記メタデータからチューニング・パラメータを読み取って回帰分析を実行して上記チューニング・パラメータの最も可能性の高い値を決定し、回帰チューニング・パラメータ・セットを返す処理を上記1つ以上のプロセッサに行わせるプログラムを実行するように更に構成される請求項1に記載の試験測定システム。
【請求項7】
上記1つ以上のプロセッサは、
最適なチューニング・パラメータの配列、テンソル画像及びテキストを含むチューニング・データを所定数のDUTに関して収集する処理と、
上記チューニング・データを上記人工知能埋め込み表現モデルに入力して、上記人工知能埋め込み表現モデルが上記チューニング・データを変換し、上記ベクトル・データベースをアップデートできるようにする処理と
によって、上記人工知能埋め込み表現モデルに学習させる処理を上記1つ以上のプロセッサに行わせるプログラムを実行するように更に構成される請求項1に記載の試験測定システム。
【請求項8】
被試験デバイス(DUT)を試験する方法であって、
上記DUTに適用される1つのチューニング・パラメータのセットに夫々対応する1つ以上のデジタル波形を1つ以上のアナログ・デジタル・コンバータ(ADC)から受信する処理と、
上記1つ以上のデジタル波形の1つ以上の画像テンソルを構築する処理と、
上記1つ以上のデジタル波形に関連するメタデータから1つ以上のテキスト文字列を生成すると共に、上記メタデータ及び上記1つ以上の画像テンソルを埋め込み表現ベクトルに変換する人工知能埋め込み表現モデルを使用する処理と、
ベクトル・データベースにアクセスして、上記埋め込み表現ベクトルを上記ベクトル・データベース内のベクトルと比較する処理と、
マッチングする個数に対応する個数のインデックスを有するインデックスのセットを上記ベクトル・データベースから受ける処理と、
上記インデックスのセットを使用して最適なチューニング・パラメータの配列にアクセスし、上記DUTの1つ以上の最適なチューニング・パラメータのセットを見つける処理と、
最適チューニング・パラメータの配列からの上記1つ以上の最適チューニング・パラメータ・セットの中の1つを使用して、上記DUTの動作を検証する処理と
を具える被試験デバイスの試験方法。
【請求項9】
上記DUTの動作を検証する処理は、
上記1つ以上の最適チューニング・パラメータのセットの中の1つのセットで上記DUTをチューニングする処理と、
試験測定装置を使用して、上記1つ以上の最適チューニング・パラメータのセットの中の上記1つのセットで上記DUTを試験する処理と、
上記DUTが試験に合格したかどうかを判断する処理と、
上記DUTが試験に不合格の場合に、上記1つ以上の最適なチューニング・パラメータのセットの中の別のセットを使用する処理と、
上記DUTが試験に合格するか又は上記1つ以上の最適なチューニング・パラメータのセットの中の全てのセットで試験されるかのいずれかまで反復する処理と
を有する請求項8に記載の被試験デバイスの試験方法。
【請求項10】
上記メタデータからチューニング・パラメータを読み出す処理と、
回帰分析を実行して上記チューニング・パラメータの最も可能性の高い値を決定し、回帰チューニング・パラメータ・セットを返す処理と、
上記ベクトル・データベースから返された上記インデックス又はユーザ試験プロセスのいずれかによって上記DUTをチューニングできない場合に、上記回帰チューニング・パラメータ・セットを使用する処理と
を更に具える請求項8に記載の被試験デバイスの試験方法。
(【請求項11】以降は省略されています)
発明の詳細な説明
【技術分野】
【0001】
本開示は、試験測定システム及び方法に関し、特に被試験デバイス(DUT)からの信号の測定に機械学習を適用することに関する。
続きを表示(約 2,800 文字)
【背景技術】
【0002】
2024年3月5日発行の米国特許第11,923,896号、発明の名称「機械学習を用いた光送信機のチューニング」(以下「'896特許」、その内容は、参照により本開示に援用される)、2024年3月5日発行の米国特許第11,923,895号、発明の名称「機械学習を用いた光送信機のチューニング及び参照パラメータ」(以下「'895特許」、その内容は参照により本開示に援用される)は、どちらも、学習済み機械学習システムを利用して、光トランシーバ(DUT)の最適なチューニング・パラメータを予測するためのシステムと方法について説明している。これらのシステムの実施形態は、本開示では、概してOptaMLやOptaML Proとも呼ぶことがある。
【0003】
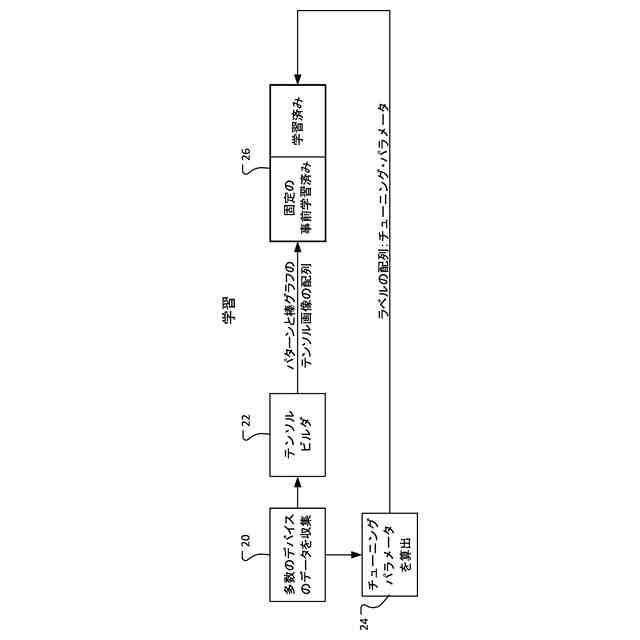
米国テクトロニクス社のその他の特許及び特許出願は、キーとなる特徴の解像度を向上させる方法、画像内に配置されるセグメントのレコード長を延長する方法、画像スペースをより効率的に使用して更に抽出された特徴のセットを使用する他の方法を記載している。例えば、2022年5月18日に出願された米国特許出願第17/747,954号、発明の名称「ショート・パターン波形データベースに基づく測定用機械学習」(以下「'954出願」と呼び、その内容は参照により本願に援用される)は、学習済み機械学習システムを利用して、被試験デバイス(DUT)から受信した信号の測定値を予測するためのシステム及び方法を説明している。信号測定値の一例としては、DUTが、例えば、光トランシーバの場合では、TDECQ(Transmitter and Dispersion Eye Closure Quaternary)がある。'954出願で説明されている機械学習システムへの入力は、学習(トレーニング)とランタイムの両方で、DUTから取得した長い波形データ内の特定のショート・パターン・セグメントのグラフィカル表現を使用して構築されたテンソル画像の形式である。
【0004】
別の例としては、2023年5月19日に出願された米国特許出願第18/199,846号、発明の名称「機械学習を用いたキャビティ・フィルタの自動チューニング」(以下「'846出願」と呼び、その内容は参照により本願に援用される)は、キャビティ・フィルタのようなチューニング可能な被試験デバイスにおいて、チューニング要素の最適な位置を予測するのに、学習済み機械学習システムを利用するシステム及び方法を説明している。'846出願で説明されている機械学習システムへの入力は、学習とランタイムの両方で、DUTの特性を表すSパラメータ又はその他のパラメータのグラフィカル表現を使用して構築されたテンソル画像の形式である。
【0005】
別の例として、2024年11月28日出願の米国特許第18/665,258号、発明の名称「機械学習に入力する画像を構築するためのテンソル・ビルダ用ユーザ・インタフェース」(以下「'258出願」と呼び、その内容は参照により本願に援用される)は、ユーザがテンソルの形式を選択し、DUTからのデータから、選択した形式のテンソルを構築するためのシステム及び方法を記載している。テンソルは、次いで、機械学習ネットワークに送信される。
【先行技術文献】
【特許文献】
【0006】
米国特許第11923896号明細書
米国特許出願公開第2022/0373598号明細書
米国特許出願公開第2023/0398694号明細書
米国特許出願公開第2024/0393918号明細書
【発明の概要】
【発明が解決しようとする課題】
【0007】
従来のシステムでは、ユーザの処理によってデバイスをチューニングすることはできたが、デバイスは新しいデータを予測できず、デバイスの新しいデータでニューラル・ネットワークの学習(トレーニング)を効率的にアップデートする方法は存在しなかった。これらの従来のシステムをアップデートするには、時間がかかり、面倒なニューラル・ネットワークの再トレーニングが必要である。また、従来のシステムには、特定の数のチューニング・パラメータを持つ1つのモデル又は1つのタイプのDUTについてのみ学習が行われるという欠点がある。異なる数のチューニング・パラメータを持つ別のモデルのDUTを使用する場合は、システムを再トレーニングする必要がある。
【0008】
任意の数のチューニング・パラメータを持つ全てのDUTで動作できるシステムが必要とされている。ユーザは、ニューラル・ネットワークに学習させる又は再学習させることなく、これらのシステムをアップデートして新しい種類(タイプ)のDUTをチューニングしたり、新しいDUTチューニング・データを追加したりできる必要がある。
【課題を解決するための手段】
【0009】
本願の実施形態は、波形画像テンソルをベクトル・データベース・システム内への埋め込み表現ベクトルにするための人工知能(AI)を含む。これにより、ニューラル・ネットワークの学習(トレーニング)が不要になる。これら実施形態は、事前学習済みニューラル・ネットワーク及びベクトル・データベース内のビジョン・トランスフォーマ及びテキスト・トランスフォーマの組み合わせを含む。これら実施形態は、被試験デバイス(DUT)の特定のモデルをサポートするのに、テンソルの構築及び特徴抽出に依存している。これらの機能は、テクトロニクス社のOptaML
TM
システム内に存在するため、このシステムのユーザは、これら実施形態をこれらシステムに統合することができる。更に、これら実施形態は、新しい回帰分類機能(regression classifier)があり、これも既存のシステムに統合できる。これらの機能は、本願に開示された実施形態を使うことで、新しいユーザが利用できるようになるであろう。
【0010】
本実施形態は、ベクトル・データベース・システムを採用し、これにより、ユーザは、複雑な情報のベクトルを記憶及び検索することができる。この特定の実装形態は、特定のベクトル・データベース・システムの使用に限定されるものではなく、また、画像をテキスト記述に関連付けるために使用されるモジュールも特定のものに限定されるものではなく、通常、ベクトル・データベース・システムの外部にあって、モジュールとデータベースの間で情報が伝達される。
(【0011】以降は省略されています)
この特許をJ-PlatPat(特許庁公式サイト)で参照する
関連特許
個人
メジャー文具
1か月前
日本精機株式会社
検出装置
16日前
個人
採尿及び採便具
22日前
個人
アクセサリー型テスター
1か月前
個人
高精度同時多点測定装置
1か月前
個人
計量機能付き容器
11日前
株式会社カクマル
境界杭
1日前
ユニパルス株式会社
ロードセル
1か月前
株式会社ミツトヨ
測定器
28日前
甲神電機株式会社
電流検出装置
16日前
アズビル株式会社
電磁流量計
1か月前
株式会社チノー
放射光測温装置
1か月前
株式会社ヨコオ
ソケット
1か月前
トヨタ自動車株式会社
監視装置
1か月前
ダイキン工業株式会社
監視装置
1か月前
株式会社ヨコオ
ソケット
1か月前
大成建設株式会社
風洞実験装置
11日前
双庸電子株式会社
誤配線検査装置
17日前
愛知時計電機株式会社
ガスメータ
28日前
ローム株式会社
半導体装置
1か月前
ローム株式会社
半導体装置
1か月前
TDK株式会社
ガスセンサ
1か月前
日本特殊陶業株式会社
ガスセンサ
9日前
個人
システム、装置及び実験方法
1か月前
TDK株式会社
磁気センサ
1か月前
個人
計量具及び計量機能付き容器
11日前
日本信号株式会社
距離画像センサ
14日前
個人
非接触による電磁パルスの測定方法
14日前
愛知電機株式会社
軸部材の外観検査装置
25日前
長崎県
形状計測方法
1か月前
大和製衡株式会社
組合せ計量装置
25日前
大和製衡株式会社
組合せ計量装置
25日前
株式会社不二越
X線測定装置
14日前
日本特殊陶業株式会社
センサ
28日前
個人
液位検視及び品質監視システム
9日前
TDK株式会社
電磁波センサ
1か月前
続きを見る
他の特許を見る