TOP
|
特許
|
意匠
|
商標
特許ウォッチ
Twitter
他の特許を見る
公開番号
2025169927
公報種別
公開特許公報(A)
公開日
2025-11-14
出願番号
2025076157
出願日
2025-05-01
発明の名称
部品抜取り装置
出願人
コマーシャル デ ウティレス イ モルデス,エス.ア.
代理人
弁理士法人TNKアジア国際特許事務所
主分類
B29C
33/70 20060101AFI20251107BHJP(プラスチックの加工;可塑状態の物質の加工一般)
要約
【課題】部品の抜取りが簡便、迅速、そして安全に行える部品抜取り装置を提供する。
【解決手段】抜取り装置は、部品(2)を収容する筐体(1)と、保持位置と抜取り位置との間を移動可能な保持部材(3)と、保持部材(3)が、当該保持部材(3)を収容するためのスリーブ(4)の凹部の内部に配置される保持位置と、保持部材(3)がスリーブ(4)の凹部の外部に配置される抜取り位置との間を移動可能なスリーブ(4)とを備えている。筐体(1)は空気吸入口(6)を有し、空気吸入口(6)を通じて注入される空気によってスリーブ(4)が移動する。これにより、部品(2)の抜取りが簡便、迅速、そして安全に行える部品抜取り装置が提供される。
【選択図】図1
特許請求の範囲
【請求項1】
部品(2)を収容する筐体(1)と、
少なくとも一つの保持部材(3)を備え、当該保持部材(3)は前記部品(2)に押し付けられて前記部品(2)を保持する保持位置と、当該保持部材(3)が前記部品(2)に押し付けられてはいない抜取り位置との間を移動可能であり、
スリーブ(4)を備え、当該スリーブ(4)は、前記少なくとも一つの保持部材(3)が、当該少なくとも一つの保持部材(3)を収容するための当該スリーブ(4)の少なくとも一つの凹部(5)の内部に位置している保持位置と、前記少なくとも一つの保持部材(3)が、当該スリーブ(4)の前記少なくとも一つの凹部(5)の外部に位置している抜取り位置との間を移動可能であり、
前記筐体(1)は空気吸入口(6)を有し、当該空気吸入口(6)を通じて注入される空気によって前記スリーブ(4)が移動する構成とされた、部品抜取り装置。
続きを表示(約 370 文字)
【請求項2】
前記少なくとも一つの保持部材(3)を収容する把持部材(7)をさらに備える、請求項1に記載の部品抜取り装置。
【請求項3】
前記スリーブ(4)と前記把持部材(7)との間に配置されて、前記スリーブ(4)を保持位置に向けて付勢するばね(8)をさらに備える、請求項2に記載の部品抜取り装置。
【請求項4】
前記少なくとも一つの保持部材(3)は球体である、請求項1に記載の部品抜取り装置。
【請求項5】
前記スリーブ(4)はその内部に軸部(9)を有し、当該軸部(9)は前記スリーブ(4)の内部を移動可能である、前記請求項のいずれかに記載の部品抜取り装置。
【請求項6】
前記筐体(1)はその外周面にねじ溝が形成されている、前記請求項のいずれかに記載の部品抜取り装置。
発明の詳細な説明
【技術分野】
【0001】
本発明は、例えば日付スタンプや交換可能なインサートなどの成型品を抜き出す部品抜取り装置に関する。
続きを表示(約 2,700 文字)
【背景技術】
【0002】
金型では、一部の部品を定期的に交換する必要がある。これらの部品は筐体に収容されており、それらを筐体から取り出すために、通常、熟練した作業員が機械的な工具を使用している。
例えば、定期的に交換が必要な部品の一つに、当該金型で製造される製品の製造日を示す日付スタンプがあり、また別の例としては、当該金型で製造されるプラスティック製品にロゴマークやブランド名を形成するインサートが挙げられる。
これらの部品の交換には相当な時間を要するため、生産性に悪影響を及ぼすという課題がある。また、部品が予期せず落下することがあり、そのため部品が損傷して修理のために余分な時間がかかるという不便が重なることもある。
【発明の概要】
【0003】
従って、本発明の目的の一つは、部品の抜取りが簡便、迅速、そして安全に行える部品抜取り装置を提供することにある。
本発明の部品抜取り装置によれば、上記の課題が解決されるとともに、以下に述べる追加的な効果が得られる。
本発明にかかる部品抜取り装置は請求項1に記載され、従属項においてはオプションとしての他の特徴が記載されている。
具体的には、当該部品抜取り装置は、
部品を収容する筐体と、
少なくとも一つの保持部材を備え、当該保持部材は前記部品に押し付けられて前記部品を保持する保持位置と、当該保持部材が前記部品に押し付けられてはいない抜取り位置との間を移動可能であり、
スリーブを備え、当該スリーブは、前記少なくとも一つの保持部材が、当該少なくとも一つの保持部材を収容するための当該スリーブの少なくとも一つの凹部の内部に位置している保持位置と、前記少なくとも一つの保持部材が、当該スリーブの前記少なくとも一つの凹部の外部に位置している抜取り位置との間を移動可能であり、
前記筐体は空気吸入口を有し、当該吸入口を通じて注入される空気によって前記スリーブが移動する。
したがって、前記部品は空気の注入によって移動され、工具の使用を必要としない。さらに、空気が注入されたとき、前記部品は抜取り位置にとどまっているが、前記筐体から完全に離脱してはいないので、予期せぬ落下を防止でき、ユーザーは他の部品を取り外す必要なく、前記部品を手作業で取り出すことができる。
好ましくは、本発明にかかる部品抜取り装置は、前記少なくとも一つの保持部材を収容する把持部材と、前記スリーブと前記把持部材との間に配置されて、前記スリーブを保持位置に向けて付勢するばねとを、さらに備えてもよい。
好ましい実施形態によれば、前記少なくとも一つの保持部材は球体であって、前記スリーブはその内部に軸部を有し、当該軸部は前記スリーブ内部を移動可能である。
さらに、前記筐体はその外周面に、金型内部での取付位置を調整するためのねじ溝が形成されていてもよい。
【図面の簡単な説明】
【0004】
上記の説明のより良き理解のため、図面を添付する。当該図面は、具体的な実施形態を、模式的かつ非限定的な例として示すものである。
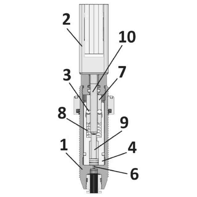
保持位置にある部品抜取り装置の長手方向の断面図である。
図1の部品抜取り装置の詳細を示す断面図である。
抜取り位置にある部品抜取り装置の長手方向の断面図である。
図3の部品抜取り装置の詳細を示す断面図である。
【発明を実施するための形態】
【0005】
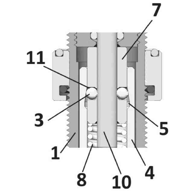
本発明にかかる部品抜取り装置は図示のとおり、部品(2)を収容する筐体(1)を備えている。この筐体(1)は、好ましくは当該筐体(1)の一端部に設けられた空気吸入口(6)を有している。
部品(2)は、例えば、日付スタンプやインサートといった成型用の部品であって、当該部品(2)の一部品として筐体(1)に収容されたシャフト(10)を有している。
本発明にかかる部品抜取り装置はまた、筐体(1)の内部に配置され、一つ以上の凹部が形成されたスリーブ(4)と、一つ以上の保持部材(3)を収容する貫通孔(11)もしくはスロットを有する把持部材(7)と、把持部材(7)とスリーブ(4)との間に配置されたばね(8)とを備えている。
さらに、本実施形態のスリーブ(4)は、その内部に配置された軸部(9)を有し、当該軸部(9)はスリーブ(4)内を移動可能である。
本実施形態の保持部材(3)は球体であって、その動作は以下のとおりである。
スリーブ(4)と保持部材(3)はいずれも、保持位置と抜取り位置との間を移動可能である。
保持位置は図1と図2に示されている。この状態では、保持部材(3)はスリーブ(4)によって部品(2)に押し付けられ、より具体的には部品(2)のシャフト(10)に押し付けられている。これは、保持部材(3)が凹部(5)の外部にあって、スリーブ(4)の内壁と接しているからである。
抜取り位置に移動する際は、空気吸入口(6)から圧縮空気が注入される。この空気の圧力によって、スリーブ(4)は、ばね(8)の付勢力に抗して図3の矢印の方向に移動する。
スリーブ(4)が移動し、それによって保持部材(3)が凹部(5)の正面に来ると、保持部材(3)は凹部(5)に入り込み、部品(2)のシャフト(10)を押圧しなくなる。軸部(9)がスリーブ(4)の内部で、部品(2)のシャフト(10)をわずかに押すように移動し、それによって部品(2)は筐体から露出して、予期せぬ落下の危険なく、手作業で取り出すことが可能となる。
新しい部品(2)とそれに付随するシャフト(10)を取り付ける場合は、スリーブ(4)が、ばね(8)の作用によって保持位置に戻り、保持部材(3)も戻って元の保持位置に配置される。
さらに、筐体(1)は、例えば金型に取り付ける際に位置を調節するためのねじ溝が、外表面に形成されている。したがって、例えばアーレンキーのような工具を筐体(1)内部に挿入することによって、金型内での筐体(1)の取付け位置を調整することが可能である。
本発明の具体的な実施形態を説明したが、上記の部品抜取り装置は、添付の請求項に定義された範囲を逸脱することなく、様々な変更や改変が可能であること、および詳細な構造はすべて、技術的に等価なものと代替可能であることは、当業者には自明である。
この特許をJ-PlatPat(特許庁公式サイト)で参照する
関連特許
個人
気泡緩衝材減容装置
1か月前
東レ株式会社
吹出しノズル
11か月前
豊田鉄工株式会社
金型
3か月前
CKD株式会社
型用台車
11か月前
シーメット株式会社
光造形装置
10か月前
東レ株式会社
フィルムの製造方法
4か月前
株式会社 型善
射出成形型
今日
東レ株式会社
フィルムの製造方法
4か月前
東レ株式会社
フィルムの製造方法
8か月前
グンゼ株式会社
ピン
11か月前
株式会社エフピコ
賦形シート
14日前
日機装株式会社
加圧システム
7か月前
東レ株式会社
フィルムの製造方法。
3か月前
株式会社カワタ
計量混合装置
6か月前
個人
樹脂可塑化方法及び装置
10か月前
株式会社FTS
ロッド
9か月前
東レ株式会社
複合成形体の製造方法
1か月前
NOK株式会社
樹脂ゴム複合体
2か月前
トヨタ自動車株式会社
射出装置
8か月前
株式会社FTS
成形装置
10か月前
株式会社漆原
シートの成形方法
5か月前
東レ株式会社
樹脂フィルムの製造方法
6か月前
株式会社不二越
射出成形機
7か月前
株式会社不二越
射出成形機
2か月前
株式会社FTS
セパレータ
9か月前
株式会社不二越
射出成形機
7か月前
株式会社不二越
射出成形機
7か月前
株式会社神戸製鋼所
混練機
9か月前
株式会社リコー
画像形成システム
11か月前
株式会社不二越
射出成形機
5か月前
東レ株式会社
炭素繊維シートの製造方法
7か月前
株式会社コスメック
射出成形装置
5か月前
トヨタ自動車株式会社
真空成形装置
6か月前
トヨタ自動車株式会社
3Dプリンタ
11か月前
足立建設工業株式会社
製管機
5日前
コイト電工株式会社
フレーム成形品
2か月前
続きを見る
他の特許を見る