TOP
|
特許
|
意匠
|
商標
特許ウォッチ
Twitter
他の特許を見る
公開番号
2025169097
公報種別
公開特許公報(A)
公開日
2025-11-12
出願番号
2024074114
出願日
2024-04-30
発明の名称
照明器具
出願人
コイズミ照明株式会社
代理人
弁理士法人矢野内外国特許事務所
主分類
F21V
29/10 20150101AFI20251105BHJP(照明)
要約
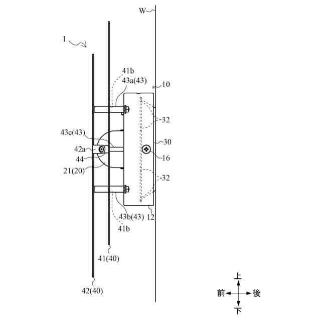
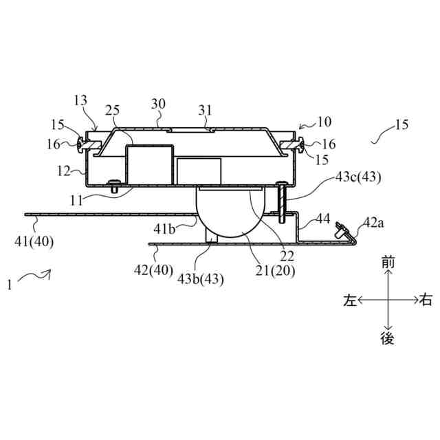
【課題】照明器具について、光源部と電源部とが各々から生じる熱によって互いに影響が生じることを抑制しつつ、器具本体が大型化することを抑制することができる。
【解決手段】照明器具1において、壁部11を有する器具本体10と、光源を有する光源部20と、光源部20に給電して光源を点灯させる電源部25と、を備え、光源部20は、器具本体10の壁部11の一方側の面に設けられ、電源部25は、器具本体10の壁部11の他方側の面に設けられ、光源部20と電源部25とは、器具本体10の壁部11の一方側から視て重ならない位置に配置され、光源部20は、器具本体10の壁部11の中心から偏在した位置に配置される。
【選択図】図4
特許請求の範囲
【請求項1】
壁部を有する器具本体と、LED素子からなる光源を有する光源部と、前記光源部に給電して前記光源を点灯させる電源部と、を備える照明器具であって、
前記光源部は、前記器具本体の前記壁部の一方側の面に設けられ、
前記電源部は、前記器具本体の前記壁部の他方側の面に設けられ、
前記光源部と前記電源部とは、前記壁部の一方側から視て重ならない位置に配置され、
前記光源部は、前記器具本体の壁部の中心から偏在した位置に配置される、照明器具。
続きを表示(約 460 文字)
【請求項2】
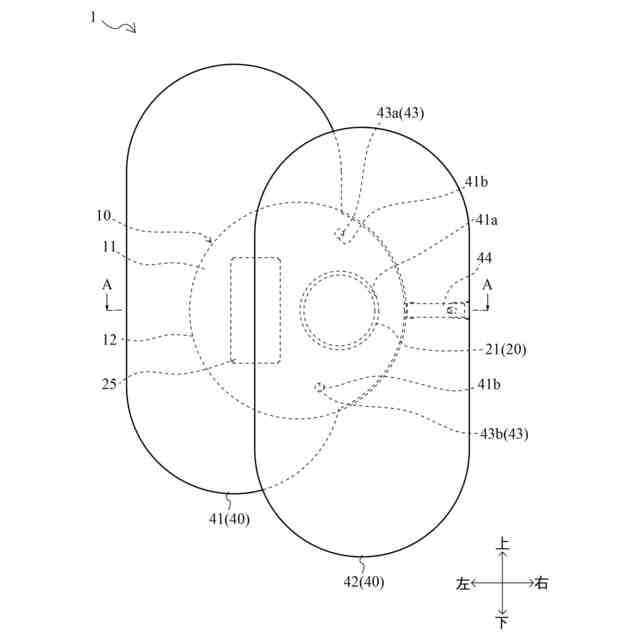
前記器具本体は、軸方向の一端が前記壁部に接続される円筒状の側部を有し、前記側部の軸方向の他端が前記取付部材に固定されることによって、前記取付部材に取り付けられ、
前記器具本体は、取付部材に対する前記側部の周方向の角度を任意の角度にして前記取付部材に取り付け可能に構成される、請求項1に記載の照明器具。
【請求項3】
前記光源部は、前記光源を覆う拡散カバーを有し、
前記器具本体は、前記壁部よりも前記光源部の光の照射方向側に複数のセードを備え、
複数の前記セードは、前記壁部から離間するように並べて配置され、
前記拡散カバーの先端部は、複数の前記セードのうち隣り合う二つのセードの間に位置する、請求項2に記載の照明器具。
【請求項4】
前記セードは、前記側部の径方向外側に延出する部分を有し、
前記壁部の中心と前記セードの中心とは、前記壁部の一方側から視て重ならない位置に配置される、
請求項3に記載の照明器具。
発明の詳細な説明
【技術分野】
【0001】
本発明は、照明器具の技術に関する。
続きを表示(約 1,600 文字)
【背景技術】
【0002】
従来、灯具と、器具本体と、光源部と、電源部と、を備え、壁面等の被取付面に取付けられる、照明器具の技術は公知となっている。
【0003】
また、特許文献1には、例えば、集合住宅の共用部の廊下や、階段の踊り場の壁に設置される照明器具について記載されている。この照明器具は、前壁を有する箱型の器具本体と、前壁の前方に向けて照明光を放射する光源ユニットと、前壁に設置されて周囲の状況を検出するセンサと、前壁の前方に設けられ器具本体の前方から見て光源ユニット及びセンサを覆うカバーと、商用の電力系統等の常用電源から供給される常用電力で光源ユニットの光源を点灯させる常用点灯装置と、を備える。
【先行技術文献】
【特許文献】
【0004】
特開2020-161421号公報
【発明の概要】
【発明が解決しようとする課題】
【0005】
特許文献1の照明器具では、常用点灯装置が器具本体における前壁の後面に設けられ、光源ユニットが器具本体における前壁の前面の中央部分に設けられる。ここで、光源ユニットと常用点灯装置とは、各々から生じる熱によって互いに影響を与えないようにするために、前方または後方から視て重ならないようにして、互いの距離ができるだけ遠くなるように配置されることが好ましい。そして、特許文献1の照明器具のように、光源ユニットが器具本体における前壁の前面の中央部分に設けられる構成では、光源ユニットと常用点灯装置とが前方または後方から視て重ならない位置に配置すると、器具本体を前方または後方から視たときのサイズが大型化する場合があった。
【0006】
本発明は以上の如き状況に鑑みてなされたものであり、光源部と電源部とが各々から生じる熱によって互いに影響が生じることを抑制しつつ、器具本体が大型化することを抑制することができる照明器具を提供することを課題とする。
【課題を解決するための手段】
【0007】
本発明の解決しようとする課題は以上の如くであり、次にこの課題を解決するための手段を説明する。
【0008】
即ち、本願に開示する照明器具は、
壁部を有する器具本体と、LED素子からなる光源を有する光源部と、前記光源部に給電して前記光源を点灯させる電源部と、を備える照明器具であって、
前記光源部は、前記器具本体の前記壁部の一方側の面に設けられ、
前記電源部は、前記器具本体の前記壁部の他方側の面に設けられ、
前記光源部と前記電源部とは、前記壁部の一方側から視て重ならない位置に配置され、
前記光源部は、前記器具本体の壁部の中心から偏在した位置に配置されるものである。
【0009】
本願に開示する照明器具は、上記構成を基本として、以下のような態様をとることができる。
本願に開示する照明器具においては、
前記器具本体は、軸方向の一端が前記壁部に接続される円筒状の側部を有し、前記側部の軸方向の他端が取付部材に固定されることによって、前記取付部材に取り付けられ、
前記器具本体は、前記取付部材に対する前記側部の周方向の角度を任意の角度にして前記取付部材に取り付け可能に構成されることが好ましい。
【0010】
本願に開示する照明器具においては、
前記光源部は、前記光源を覆う拡散カバーを有し、
前記器具本体は、前記壁部よりも前記光源部の光の照射方向側に複数のセードを備え、
複数の前記セードは、前記壁部から離間するように並べて配置され、
前記拡散カバーの先端部は、複数の前記セードのうち隣り合う二つのセードの間に位置することが好ましい。
(【0011】以降は省略されています)
この特許をJ-PlatPat(特許庁公式サイト)で参照する
関連特許
コイズミ照明株式会社
照明器具
8日前
コイズミ照明株式会社
照明器具
8日前
コイズミ照明株式会社
照明器具
22日前
コイズミ照明株式会社
照明器具
1か月前
個人
室外機器
5か月前
個人
照明装置
13日前
個人
照明システム
4か月前
個人
車載機器の通気構造
2か月前
個人
気泡を用いた遊具。
7か月前
個人
消火器設置表示装置
24日前
株式会社遠藤照明
照明装置
2か月前
株式会社遠藤照明
照明器具
6か月前
能美防災株式会社
表示灯
2か月前
株式会社小糸製作所
車両用灯具
1か月前
株式会社小糸製作所
車両用灯具
1か月前
個人
LEDライト
4か月前
デンカ株式会社
照明装置
5か月前
デンカ株式会社
道路用照明
5か月前
株式会社小糸製作所
誘導装置
1か月前
フルトラム株式会社
光学機器
1か月前
アクア株式会社
冷蔵庫
3か月前
スタンレー電気株式会社
照射用光源
1か月前
株式会社小糸製作所
投光装置
2か月前
株式会社小糸製作所
投光装置
2か月前
株式会社小糸製作所
車両用灯具
1か月前
株式会社小糸製作所
車両用灯具
4か月前
株式会社小糸製作所
車両用灯具
27日前
株式会社小糸製作所
表示用灯具
1か月前
株式会社小糸製作所
車両用灯具
27日前
株式会社小糸製作所
車両用灯具
16日前
株式会社小糸製作所
車両用灯具
28日前
株式会社小糸製作所
車両用灯具
5か月前
株式会社小糸製作所
表示用灯具
1か月前
株式会社小糸製作所
車両用灯具
4か月前
株式会社小糸製作所
車両用灯具
7か月前
株式会社小糸製作所
車両用灯具
5か月前
続きを見る
他の特許を見る