TOP
|
特許
|
意匠
|
商標
特許ウォッチ
Twitter
他の特許を見る
公開番号
2025169094
公報種別
公開特許公報(A)
公開日
2025-11-12
出願番号
2024074110
出願日
2024-04-30
発明の名称
照明器具
出願人
コイズミ照明株式会社
代理人
弁理士法人矢野内外国特許事務所
主分類
F21V
1/00 20060101AFI20251105BHJP(照明)
要約
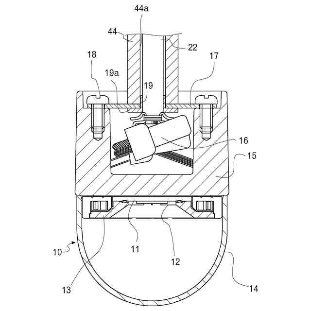
【課題】、簡易な構造で容易に光源部をカバーの所望の位置に配置することができる照明器具を提供する。
【解決手段】光源部10と、光源部10を覆うカバー40と、を備える照明器具において、カバー40は、光源部10を覆う笠部41と、光源部10を笠部41における笠部41の内側面と当接しない位置である所定の位置に配置可能な位置決め部44と、を有し、位置決め部44は、笠部41と一体的に形成される。また、カバー40は、光透過性の樹脂材料から形成されている。
【選択図】図1
特許請求の範囲
【請求項1】
光源部と、前記光源部を覆うカバーと、を備える照明器具において、
前記カバーは、前記光源部を覆う笠部と、前記光源部を前記笠部における所定の位置に配置可能な位置決め部と、を有し、
前記位置決め部は、前記笠部と一体的に形成される、照明器具。
続きを表示(約 440 文字)
【請求項2】
前記カバーは、光透過性の樹脂材料から形成されている、
請求項1に記載の照明器具。
【請求項3】
前記光源部を吊り下げて保持する吊下部材を設け、
前記カバーは、貫通孔を備え、
前記位置決め部は、前記吊下部材を前記貫通孔に挿通して、前記カバーを前記光源部に近接させたときに、前記光源部を前記笠部における所定の位置に配置する、
請求項1に記載の照明器具。
【請求項4】
前記位置決め部は、前記吊下部材を挿通する挿通部を有する筒状に形成される、
請求項3に記載の照明器具。
【請求項5】
前記笠部は、前記光源部を吊り下げた状態において、下方に向かうにつれて拡径し、下方端部が開放された形状である、
請求項4に記載の照明器具。
【請求項6】
前記光源部は、前記笠部と接触しない位置に配置される、
請求項1から4のいずれか一項に記載の照明器具。
発明の詳細な説明
【技術分野】
【0001】
本発明は、照明器具の技術に関する。
続きを表示(約 1,100 文字)
【背景技術】
【0002】
従来、樹脂製のカバーを備えた照明器具が開示されている(例えば特許文献1参照)。従来の照明器具は、支柱に取り付けられた位置調節具によって、LED光源をカバー内の所望の位置に配置する。このような構造の場合、カバーに対して位置調節具を別途設け、位置調節具の位置を調節して、LED光源を適切な位置まで配置する操作が必要であり、取付作業が煩雑になる虞があった。また、従来の照明器具のように、位置調節具をカバーと別体で設けた場合には、部品点数が増加するとともに、照明器具の組立工程が増大していた。
【先行技術文献】
【特許文献】
【0003】
特開2009-123546号公報
【発明の概要】
【発明が解決しようとする課題】
【0004】
本発明は以上の如き状況に鑑みてなされたものであり、簡易な構造で容易に光源ユニットをカバーの所望の位置に配置可能な照明器具を提供することを課題とする。
【課題を解決するための手段】
【0005】
本発明の解決しようとする課題は以上の如くであり、次にこの課題を解決するための手段を説明する。
【0006】
即ち、本願に開示する照明器具は、光源部と、前記光源部を覆うカバーと、を備える照明器具において、
前記カバーは、前記光源部を覆う笠部と、前記光源部を前記笠部における所定の位置に配置可能な位置決め部と、を有し、
前記位置決め部は、前記笠部と一体的に形成されるものである。
【0007】
本願に開示する照明器具は、上記構成を基本として、以下のような態様をとることができる。
本願に開示する照明器具においては、前記カバーは、光透過性の樹脂材料から形成されていることが好ましい。
【0008】
本願に開示する照明器具においては、前記光源部を吊り下げて保持する吊下部材を設け、
前記カバーは、貫通孔を備え、
前記位置決め部は、前記吊下部材を前記貫通孔に挿通して、前記カバーを前記光源部に近接させたときに、前記光源部を前記笠部における所定の位置に配置することが好ましい。
【0009】
本願に開示する照明器具においては、前記位置決め部は、前記吊下部材を挿通する挿通部を有する筒状に形成されることが好ましい。
【0010】
本願に開示する照明器具においては、前記笠部は、前記光源部を吊り下げた状態において、下方に向かうにつれて拡径し、下方端部が開放された形状であることが好ましい。
(【0011】以降は省略されています)
この特許をJ-PlatPat(特許庁公式サイト)で参照する
関連特許
コイズミ照明株式会社
照明器具
9日前
コイズミ照明株式会社
照明器具
9日前
コイズミ照明株式会社
照明器具
23日前
コイズミ照明株式会社
照明器具
1か月前
個人
照明装置
14日前
個人
室外機器
5か月前
個人
照明システム
4か月前
個人
LED光源基盤
9か月前
個人
気泡を用いた遊具。
7か月前
個人
車載機器の通気構造
2か月前
個人
消火器設置表示装置
25日前
株式会社遠藤照明
照明装置
2か月前
株式会社遠藤照明
照明器具
6か月前
デンカ株式会社
照明装置
5か月前
個人
LEDライト
4か月前
株式会社小糸製作所
車両用灯具
1か月前
株式会社小糸製作所
車両用灯具
1か月前
能美防災株式会社
表示灯
2か月前
デンカ株式会社
道路用照明
5か月前
株式会社小糸製作所
投光装置
2か月前
瀧住電機工業株式会社
ダクトレール
8か月前
株式会社小糸製作所
投光装置
2か月前
株式会社小糸製作所
誘導装置
1か月前
スタンレー電気株式会社
照射用光源
1か月前
アクア株式会社
冷蔵庫
3か月前
フルトラム株式会社
光学機器
1か月前
株式会社小糸製作所
車両用灯具
4か月前
株式会社小糸製作所
車両用灯具
7か月前
株式会社小糸製作所
車両用灯具
9か月前
株式会社小糸製作所
車両用灯具
7か月前
株式会社小糸製作所
車両用灯具
6か月前
株式会社小糸製作所
表示用灯具
1か月前
株式会社小糸製作所
車両用灯具
29日前
常盤電業株式会社
表示機
9か月前
株式会社小糸製作所
車両用灯具
7か月前
株式会社小糸製作所
車両用灯具
28日前
続きを見る
他の特許を見る