TOP
|
特許
|
意匠
|
商標
特許ウォッチ
Twitter
他の特許を見る
公開番号
2025168838
公報種別
公開特許公報(A)
公開日
2025-11-12
出願番号
2024073637
出願日
2024-04-30
発明の名称
イベントシステム、アプリケーションプログラム、及び織物
出願人
新東工業株式会社
代理人
弁理士法人 HARAKENZO WORLD PATENT & TRADEMARK
主分類
G06Q
50/10 20120101AFI20251105BHJP(計算;計数)
要約
【課題】応援対象に対する応援度を認識し易くする。
【解決手段】織物に縫い込まれた導電性糸間の静電容量の変化を検知する静電容量式センサであるセンサ(10)と、センサ(10)から出力された出力信号、又は、前記出力信号に基づき生成した制御信号を制御装置(50)に送信する端末装置(30)と、を含み、制御装置(50)は、前記出力信号、又は前記制御信号に基づいて、前記会場設備の状態を変化させる。
【選択図】図1
特許請求の範囲
【請求項1】
イベント会場の会場設備を制御する制御装置と、
織物に縫い込まれた導電性糸間の静電容量の変化を検知する静電容量式センサと、
前記静電容量式センサから出力された出力信号、又は、前記出力信号に基づき生成した制御信号を前記制御装置に送信する端末装置と、を含み、
前記制御装置は、
前記出力信号又は前記制御信号に基づいて、前記会場設備の状態を変化させる、
イベントシステム。
続きを表示(約 610 文字)
【請求項2】
前記制御装置は、前記イベント会場に設置されたディスプレイ、音響装置、及び照明装置の少なくともいずれかを制御する、
請求項1に記載のイベントシステム。
【請求項3】
端末装置のコンピュータを機能させるためのアプリケーションプログラムであって、
織物に縫い込まれた導電性糸間の静電容量の変化を検知する静電容量式センサから出力された出力信号を受信する受信処理と、
前記出力信号、又は前記出力信号に基づき生成した制御信号を、前記出力信号又は前記制御信号に基づいてイベント会場の会場設備の状態を変化させる制御装置に送信する送信処理と、をコンピュータに実行させる、
アプリケーションプログラム。
【請求項4】
導電性糸が縫い込まれた織物であって、
導電性糸が縫い込まれた領域は、導電性糸間の静電容量の変化を検知する静電容量式センサとして機能し、
前記静電容量式センサは、前記静電容量式センサから出力された出力信号又は前記出力信号に基づき生成した制御信号を、前記出力信号又は前記制御信号に基づいてイベント会場の会場設備の状態を変化させる制御装置に送信する端末装置と接続可能である、織物。
【請求項5】
前記端末装置と前記制御装置とを接続するための情報を符号化したコードが付されている、
請求項4に記載の織物。
発明の詳細な説明
【技術分野】
【0001】
本開示は、イベントシステム、アプリケーションプログラム、及び織物に関する。
続きを表示(約 1,300 文字)
【背景技術】
【0002】
例えば、特許文献1には、ゲームの視聴者が応援により主体的にゲームの展開に影響を与えることが可能な情報処理装置について記載されている。
【先行技術文献】
【特許文献】
【0003】
特開2023-155358号公報
【発明の概要】
【発明が解決しようとする課題】
【0004】
ところで、例えば、スポーツ観戦の場合、観客は、声出し等により選手又は対象チームの応援を行う。しかしながら、大勢いる観客の中では、その応援がどの選手、又はどの対象チームに対しての応援か不明になってしまう場合がある。
【0005】
本開示の一態様は、応援対象に対する応援度を認識し易くすることを目的とする。
【課題を解決するための手段】
【0006】
上記の課題を解決するために、本開示の一態様に係るイベントシステムは、イベント会場の会場設備を制御する制御装置と、織物に縫い込まれた導電性糸間の静電容量の変化を検知する静電容量式センサと、前記静電容量式センサから出力された出力信号、又は、前記出力信号に基づき生成した制御信号を前記制御装置に送信する端末装置と、を含み、前記制御装置は、前記出力信号又は前記制御信号に基づいて、前記会場設備の状態を変化させる。
【0007】
上記の課題を解決するために、本開示の一態様に係るアプリケーションプログラムは、端末装置のコンピュータを機能させるためのアプリケーションプログラムであって、織物に縫い込まれた導電性糸間の静電容量の変化を検知する静電容量式センサから出力された出力信号を受信する受信処理と、前記出力信号、又は前記出力信号に基づき生成した制御信号を、前記出力信号又は前記制御信号に基づいてイベント会場の会場設備の状態を変化させる制御装置に送信する送信処理と、をコンピュータに実行させる。
【0008】
上記の課題を解決するために、本開示の一態様に係る織物は、導電性糸が縫い込まれた織物であって、導電性糸が縫い込まれた領域は、導電性糸間の静電容量の変化を検知する静電容量式センサとして機能し、前記静電容量式センサは、前記静電容量式センサから出力された出力信号又は前記出力信号に基づき生成した制御信号を、前記出力信号又は前記制御信号に基づいてイベント会場の会場設備の状態を変化させる制御装置に送信する端末装置と接続可能である。
【発明の効果】
【0009】
本開示の一態様によれば、応援対象に対する応援度を認識し易くすることができる。
【図面の簡単な説明】
【0010】
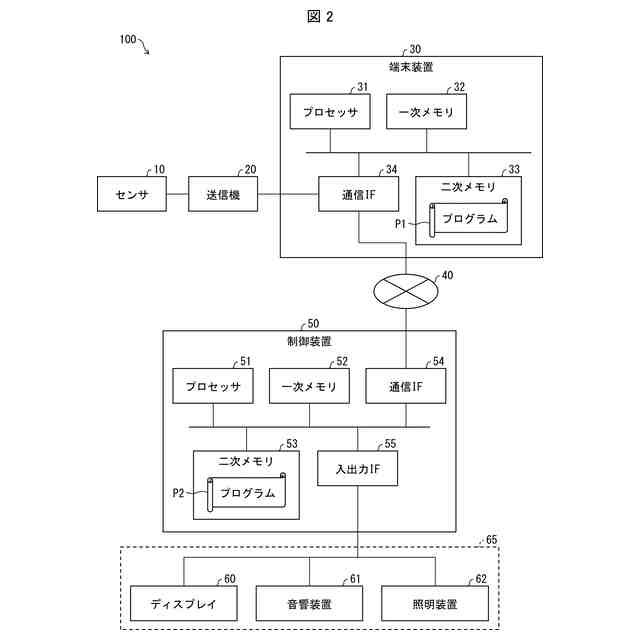
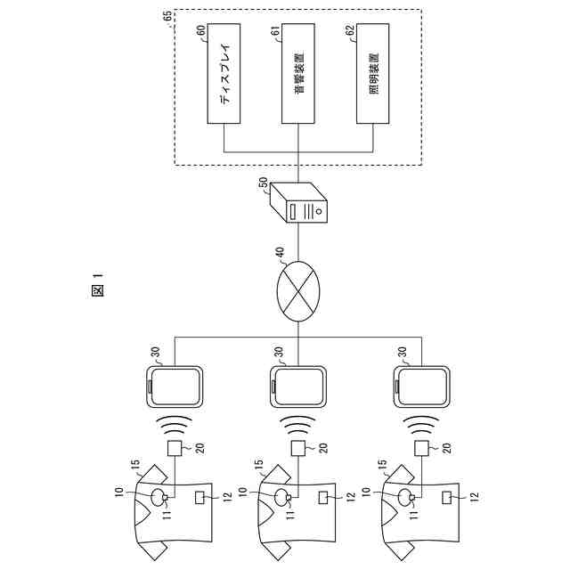
本開示の実施形態に係るイベントシステムの一例を示す概略構成図である。
イベントシステムに含まれる各部の内部構成を示すブロック図である。
本開示のイベントシステムにより実行される処理の流れを示すシーケンス図である。
ディスプレイに表示される画像の一例を示す図である。
【発明を実施するための形態】
(【0011】以降は省略されています)
この特許をJ-PlatPat(特許庁公式サイト)で参照する
関連特許
新東工業株式会社
体感システム
1か月前
新東工業株式会社
培養システム
1か月前
新東工業株式会社
粉体供給装置
4か月前
新東工業株式会社
ベルトクリーナ
2か月前
新東工業株式会社
集塵装置及び集塵システム
1か月前
新東工業株式会社
集塵システム及び報知システム
1か月前
新東工業株式会社
情報処理装置、及び監視システム
26日前
新東工業株式会社
力覚センサ、及びセンサシステム
1か月前
新東工業株式会社
ワークの加工方法、及び測定システム
2か月前
新東工業株式会社
鉄基アモルファス合金、その粉粒体、及びその圧粉材
1か月前
新東工業株式会社
イベントシステム、アプリケーションプログラム、及び織物
11日前
新東工業株式会社
試験システム
24日前
新東工業株式会社
アルミニウム合金部材の製造方法、及び、ショットピーニング装置
24日前
個人
詐欺保険
1か月前
個人
縁伊達ポイン
1か月前
個人
5掛けポイント
16日前
個人
RFタグシート
27日前
個人
職業自動販売機
9日前
個人
QRコードの彩色
1か月前
個人
地球保全システム
1か月前
個人
ペルソナ認証方式
24日前
個人
自動調理装置
26日前
個人
情報処理装置
19日前
個人
表変換編集支援システム
2か月前
個人
農作物用途分配システム
1か月前
個人
残土処理システム
1か月前
個人
知的財産出願支援システム
1か月前
個人
タッチパネル操作指代替具
1か月前
個人
サービス情報提供システム
11日前
個人
インターネットの利用構造
23日前
個人
パスワード管理支援システム
2か月前
個人
携帯端末障害問合せシステム
1か月前
個人
スケジュール調整プログラム
1か月前
株式会社キーエンス
受発注システム
1か月前
個人
システム及びプログラム
2か月前
株式会社キーエンス
受発注システム
1か月前
続きを見る
他の特許を見る