TOP
|
特許
|
意匠
|
商標
特許ウォッチ
Twitter
他の特許を見る
10個以上の画像は省略されています。
公開番号
2025135667
公報種別
公開特許公報(A)
公開日
2025-09-19
出願番号
2024033539
出願日
2024-03-06
発明の名称
ベルトクリーナ
出願人
新東工業株式会社
代理人
弁理士法人クスノキ特許事務所
主分類
B65G
45/16 20060101AFI20250911BHJP(運搬;包装;貯蔵;薄板状または線条材料の取扱い)
要約
【課題】正逆転するベルトコンベア用の清掃性に優れたベルトクリーナを提供する。
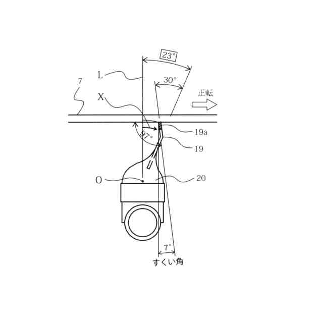
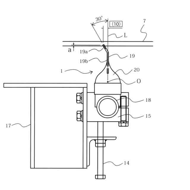
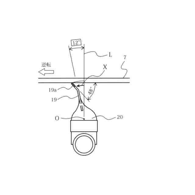
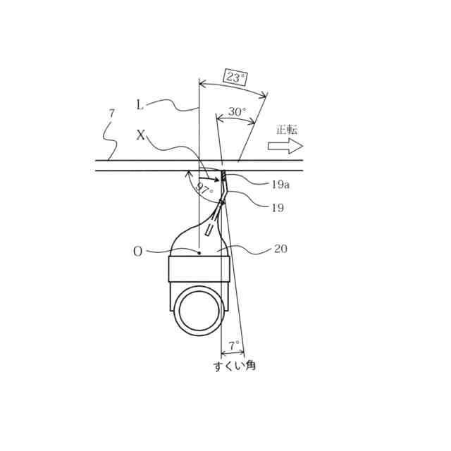
【解決手段】正逆転するベルトコンベア用のベルトクリーナであり、平板状のスクレーパ19と、このスクレーパの基部を弾性的に保持するゴムばね20とからなる。スクレーパの先端部19aを、コンベアベルト7の清掃すべき走行方向の上流側に折り曲げてすくい角を形成するとともに、スクレーパの先端部19aを、ゴムばね20の中心軸に対してコンベアベルト7の清掃すべき走行方向の上流側にオフセットする。
【選択図】図7
特許請求の範囲
【請求項1】
正逆転するベルトコンベアのコンベアベルト表面の付着物を清掃するベルトクリーナであって、
平板状のスクレーパと、このスクレーパの基部を弾性的に保持するゴムばねとからなり、
前記スクレーパの先端部を、コンベアベルトの清掃すべき走行方向の上流側に折り曲げてすくい角を形成するとともに、
前記スクレーパの先端部を、前記ゴムばねの中心軸に対してコンベアベルトの清掃すべき走行方向の上流側にオフセットし、
コンベアベルトの走行方向により、前記スクレーパのコンベアベルトへの押付力を変更した、ベルトクリーナ。
続きを表示(約 690 文字)
【請求項2】
前記スクレーパのコンベアベルトへの押付力について、
清掃すべき走行方向については、スクレーパのコンベアベルトへの押付力が大きくなる取り合いとし、
清掃すべき走行方向と逆の走行方向については、スクレーパのコンベアベルトへの押付力が小さくなる取り合いとし、
前記コンベアベルトの走行方向に関わらず、異物を噛み込んだ場合、前記ゴムばねの変形により、前記スクレーパの先端部が前記コンベアベルトから遠ざかる取り合いとした、請求項1に記載のベルトクリーナ。
【請求項3】
正逆転するベルトコンベアのコンベアベルト表面の付着物を清掃するベルトクリーナであって、
平板状のスクレーパと、このスクレーパの基部を弾性的に保持するゴムばねとからなり、
前記スクレーパは2つの先端部を備え、
一方の先端部は、コンベアベルトの清掃すべき走行方向の上流側に折り曲げてすくい角を形成するとともに、その先端部をコンベアベルトの清掃すべき走行方向の上流側にオフセットした形状であり、
他方の先端部は前記一方の先端部と同一形状であるが、前記ゴムばねの中心軸に対して左右対称になるように、前記一方の先端部と背中合わせに配置されたものであり、
コンベアベルトの走行方向により、前記スクレーパの何れかの先端部をコンベアベルトに押付ける、ベルトクリーナ。
【請求項4】
前記ゴムばねに保持される前記基部と、すくい角を形成する前記先端部を、分割構造とした、請求項1から3の何れかに記載のベルトクリーナ。
発明の詳細な説明
【技術分野】
【0001】
本発明は、正逆転するベルトコンベアのコンベアベルト表面の付着物を清掃するベルトクリーナに関するものである。
続きを表示(約 2,100 文字)
【背景技術】
【0002】
正転、逆転を切り換えて使用するベルトコンベア用のベルトクリーナは、特許文献1から特許文献5に示されるように、従来から知られている。これら従来のベルトクリーナは、ゴムのような弾性体で上向きに保持した平板状のスクレーパを、リターン側のコンベアベルトの表面に下側から直角に押し付けた構造であった。
【0003】
上記の従来構造は、正転、逆転の両方向で同じ掻き取り性を得ることができるように設計されたものである。しかし正転時、逆転時ともにスクレーパはコンベアベルトの下流方向に逃げ、付着物をコンベアベルトに撫で付ける取り合いとなる問題点があった。
【0004】
特許文献6には、1方向搬送用ベルトコンベアのためのベルトクリーナが記載されている。これはヘッドプーリの表面とほぼ平行に延びるアームの先端に、掻き落しチップを取り付けたものであり、1方向搬送時にはコンベアベルトの表面から掻き取られた付着物をアームの外側に沿って落下させることができる。しかしコンベアベルトの走行方向を逆転させた場合には、アームとコンベアベルト表面で形成される空隙が小さい為、掻き取られた付着物がアームの内側に固着、成長して掻き落しチップをコンベアベルトの表面から浮き上がらせてしまう。このため正逆転するベルトコンベア用のベルトクリーナとしては用いることができない。
【0005】
また特許文献7にも、1方向搬送用ベルトコンベアのためのベルトクリーナが記載されている。特許文献7では、クリーナヘッドとコンベアベルト表面で形成される逃がし角度が小さい為、特許文献6と同様に、ベルトコンベアを逆転させた場合には、掻き取られた付着物がクリーナヘッドの内側に固着、成長して掻き取り部がコンベアベルトの表面から浮き上がらせてしまう。よってこれも、正逆転するベルトコンベアのベルトクリーナとしては用いることができないものであった。
【先行技術文献】
【特許文献】
【0006】
実開昭56-36628号公報
実公昭57-51219号公報
実公昭58-11772号公報
実公昭61-36498号公報
特許第3080308号公報
特開昭63-247214号公報
特許第4012208号公報
【発明の概要】
【発明が解決しようとする課題】
【0007】
本発明の目的は上記した従来の問題点を解決し、正逆転するベルトコンベア用の清掃性に優れたベルトクリーナを提供することである。
【課題を解決するための手段】
【0008】
上記の課題を解決するためになされた第1の発明は、正逆転するベルトコンベアのコンベアベルト表面の付着物を清掃するベルトクリーナであって、平板状のスクレーパと、このスクレーパの基部を弾性的に保持するゴムばねとからなり、前記スクレーパの先端部を、コンベアベルトの清掃すべき走行方向の上流側に折り曲げてすくい角を形成するとともに、前記スクレーパの先端部を、前記ゴムばねの中心軸に対してコンベアベルトの清掃すべき走行方向の上流側にオフセットし、コンベアベルトの走行方向により、前記スクレーパのコンベアベルトへの押付力を変更したことを特徴とするものである。なお、前記スクレーパのコンベアベルトへの押付力について、清掃すべき走行方向については、スクレーパのコンベアベルトへの押付力が大きくなる取り合いとし、清掃すべき走行方向と逆の走行方向については、スクレーパのコンベアベルトへの押付力が小さくなる取り合いとし、前記コンベアベルトの走行方向に関わらず、異物を噛み込んだ場合、前記ゴムばねの変形により、前記スクレーパの先端部が前記コンベアベルトから遠ざかる取り合いとすることが好ましい。
【0009】
また上記の課題を解決するためになされた第2の発明は、正逆転するベルトコンベアのコンベアベルト表面の付着物を清掃するベルトクリーナであって、平板状のスクレーパと、このスクレーパの基部を弾性的に保持するゴムばねとからなり、前記スクレーパは2つの先端部を備え、一方の先端部は、コンベアベルトの清掃すべき走行方向の上流側に折り曲げてすくい角を形成するとともに、その先端部をコンベアベルトの清掃すべき走行方向の上流側にオフセットした形状であり、他方の先端部は前記一方の先端部と同一形状であるが、前記ゴムばねの中心軸に対して左右対称になるように、前記一方の先端部と背中合わせに配置されたものであり、コンベアベルトの走行方向により、前記スクレーパの何れかの先端部をコンベアベルトに押付けることを特徴とするものである。
【0010】
何れの発明のベルトクリーナも、前記ゴムばねに保持される前記基部と、すくい角を形成する前記先端部を、分割構造とすることができる。
【発明の効果】
(【0011】以降は省略されています)
この特許をJ-PlatPat(特許庁公式サイト)で参照する
関連特許
新東工業株式会社
体感システム
1か月前
新東工業株式会社
培養システム
1か月前
新東工業株式会社
ベルトクリーナ
2か月前
新東工業株式会社
集塵装置及び集塵システム
1か月前
新東工業株式会社
集塵システム及び報知システム
1か月前
新東工業株式会社
情報処理装置、及び監視システム
27日前
新東工業株式会社
力覚センサ、及びセンサシステム
1か月前
新東工業株式会社
鉄基アモルファス合金、その粉粒体、及びその圧粉材
1か月前
新東工業株式会社
イベントシステム、アプリケーションプログラム、及び織物
12日前
新東工業株式会社
試験システム
25日前
新東工業株式会社
アルミニウム合金部材の製造方法、及び、ショットピーニング装置
25日前
個人
収容箱
4か月前
個人
束ね具
13日前
個人
コンベア
6か月前
個人
容器
10か月前
個人
段ボール箱
7か月前
個人
段ボール箱
8か月前
個人
ゴミ収集器
7か月前
個人
バンド
3か月前
個人
土嚢運搬器具
9か月前
個人
テープ引出機
13日前
個人
宅配システム
7か月前
個人
楽ちんハンド
5か月前
個人
角筒状構造体
6か月前
個人
お薬の締結装置
6か月前
個人
閉塞装置
11か月前
個人
廃棄物収容容器
3か月前
個人
棒状体収容容器
17日前
個人
コード類収納具
9か月前
個人
包装容器
2か月前
個人
蓋閉止構造
4か月前
個人
積み重ね用補助具
3か月前
個人
蓋閉止構造
4か月前
株式会社コロナ
梱包材
6か月前
株式会社和気
包装用箱
27日前
株式会社和気
包装用箱
9か月前
続きを見る
他の特許を見る