TOP
|
特許
|
意匠
|
商標
特許ウォッチ
Twitter
他の特許を見る
公開番号
2025154818
公報種別
公開特許公報(A)
公開日
2025-10-10
出願番号
2024058020
出願日
2024-03-29
発明の名称
集塵装置及び集塵システム
出願人
新東工業株式会社
代理人
個人
,
個人
,
個人
主分類
B23K
26/16 20060101AFI20251002BHJP(工作機械;他に分類されない金属加工)
要約
【課題】効率良く、かつ、適切に集塵できる装置及びシステムを提供する。
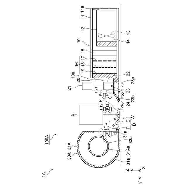
【解決手段】集塵装置は、ワークを載置可能な載置部の側方に設けられ、載置部上のワークが加工されることによって生じるダストを集塵する集塵部と、集塵部との間に載置部が位置するように載置部の側方に設けられ、集塵部に向けて送気する送気口が形成され、第1気流を生成する送気部と、載置部と送気部との間に設けられ、集塵部に向けて気体を噴射する噴射口が送気口より下方に形成され、第1気流より速度の速い第2気流を生成する噴射部と、を備える。
【選択図】図2
特許請求の範囲
【請求項1】
その上面にワークを載置可能な載置部の側方に設けられ、前記載置部上の前記ワークが加工されることによって生じるダストを集塵する集塵部と、
前記集塵部との間に前記載置部が位置するように前記載置部の側方に設けられ、前記集塵部に向けて送気する送気口が形成され、第1気流を生成する送気部と、
前記載置部と前記送気部との間に設けられ、前記集塵部に向けて気体を噴射する噴射口が前記送気口より下方に形成され、前記第1気流より速度の速い第2気流を生成する噴射部と、
を備える、集塵装置。
続きを表示(約 800 文字)
【請求項2】
前記集塵部は、
前記送気部及び前記噴射部に向かって開口している第1開口と、前記第1気流及び前記第2気流の流下方向に交差する方向に向かって開口している複数の第2開口とが形成されている中空の収容部を有し、
前記第1気流及び前記第2気流は、前記第1開口を通じて前記収容部内の空間に流れ、
前記収容部内の空間に収容された気体及び前記ダストは、前記第2開口を通じて排出される、請求項1に記載の集塵装置。
【請求項3】
前記送気部は、
前記第1気流の流下方向に交差する方向に沿って配置された複数のファンと、
前記第1気流の流下方向において前記複数のファンと前記集塵部との間に配置され、前記複数のファンから送られた気体を整流する整流部と、
を有する、請求項1又は2に記載の集塵装置。
【請求項4】
前記噴射部には、下方に向かって開口している前記噴射口と、前記噴射口に向けてその一部が前記載置部の上面に対して傾斜し、気体を導く流路と、が形成されている、請求項1又は2に記載の集塵装置。
【請求項5】
その上面にワークを載置可能な載置部と、
前記載置部上の前記ワークをレーザ加工するレーザ加工部と、
前記載置部の側方に設けられ、前記載置部上の前記ワークがレーザ加工されることによって生じるダストを集塵する集塵部と、
前記集塵部との間に前記載置部が位置するように前記載置部の側方に設けられ、前記集塵部に向けて送気する送気口が形成され、第1気流を生成する送気部と、
前記載置部と前記送気部との間に設けられ、前記集塵部に向けて気体を噴射する噴射口が前記送気口より下方に形成され、前記第1気流より速度の速い第2気流を生成する噴射部と、
を備える、集塵システム。
発明の詳細な説明
【技術分野】
【0001】
本開示は、集塵装置及び集塵システムに関する。
続きを表示(約 1,500 文字)
【背景技術】
【0002】
特許文献1は、レーザスクライバを開示する。このレーザスクライバは、セラミック基板に対向する集光レンズと、集光レンズを覆うレンズフードと、セラミック基板へ向かって気体を噴射するためにレンズフード内に気体を供給する気体噴射装置とを備える。
【先行技術文献】
【特許文献】
【0003】
特開平11-58050号公報
【発明の概要】
【発明が解決しようとする課題】
【0004】
ワーク(被処理物)をレーザ等によって加工する加工部においては、加工の際に生じるダストがワークや加工部内に付着することを抑制するために、ダストを効率良く、確実に外部に排出することが求められている。ダストを外部に排出する手法としては、気体を供給することが考えられる。しかしながら、気体を供給することでダストを外部に排出する場合、生成される気流が乱流となり、ダストが適切に排出されない可能性がある。本開示は、効率良く、かつ、適切に集塵できる集塵装置及び集塵システムを提供する。
【課題を解決するための手段】
【0005】
本開示の一側面に係る集塵装置は、その上面にワークを載置可能な載置部の側方に設けられ、載置部上のワークが加工されることによって生じるダストを集塵する集塵部と、集塵部との間に載置部が位置するように載置部の側方に設けられ、集塵部に向けて送気する送気口が形成され、第1気流を生成する送気部と、載置部と送気部との間に設けられ、集塵部に向けて気体を噴射する噴射口が送気口より下方に形成され、第1気流より速度の速い第2気流を生成する噴射部と、を備える。
【発明の効果】
【0006】
本開示によれば、効率良く、かつ、適切に集塵できる。
【図面の簡単な説明】
【0007】
図1は、実施形態に係る集塵システムを概略的に示す斜視図である。
図2は、実施形態に係る集塵システムを概略的に示す部分断面図である。
図3は、集塵システムにおける送気部を概略的に示す図である。
図4は、変形例に係る集塵システムを概略的に示す部分断面図である。
【発明を実施するための形態】
【0008】
[本開示の実施形態の例示]
以下、図面を参照しながら本開示の実施形態が詳細に説明される。図面の説明において同一要素には同一符号が付され、重複する説明は省略される。図面の寸法比率は、説明のものと必ずしも一致していない。「上」「下」「左」「右」の語は、図示する状態に基づくものであり、便宜的なものである。
【0009】
以下の説明におけるX軸方向、Y軸方向及びZ軸方向は、3次元空間の直交座標系における互いに直交する軸方向である。第1気流及び第2気流の流れる方向をY軸方向といい、Y軸方向に垂直な水平方向をX軸方向といい、X軸方向及びY軸方向に垂直な方向をZ軸方向という。X軸方向及びY軸方向は水平方向であり、Z軸方向は鉛直方向である。「上流」及び「下流」の用語は、第1気流及び第2気流の流下方向を基準として使用される。例えば、「上流」の領域は、「下流」の領域に対して、Y軸の負方向側の領域を意味する。
【0010】
[集塵システムの概要]
集塵システムは、ダストを集塵する集塵装置を備えるシステムである。集塵システムにおいて、集塵する対象となるダストは、特定の業態の装置により生成されるダストに限定されない。集塵システムは、工場においてダストが排出される箇所に配置されてもよい。
(【0011】以降は省略されています)
この特許をJ-PlatPat(特許庁公式サイト)で参照する
関連特許
新東工業株式会社
培養システム
27日前
新東工業株式会社
体感システム
27日前
新東工業株式会社
粉体供給装置
3か月前
新東工業株式会社
ベルトクリーナ
1か月前
新東工業株式会社
中子セット装置
4か月前
新東工業株式会社
集塵装置及び集塵システム
26日前
新東工業株式会社
集塵システム及び報知システム
27日前
新東工業株式会社
情報処理装置、及び監視システム
8日前
新東工業株式会社
力覚センサ、及びセンサシステム
26日前
新東工業株式会社
ワークの加工方法、及び測定システム
2か月前
新東工業株式会社
ブラシ研磨装置、及びウエハ保持装置の製造方法
3か月前
新東工業株式会社
鉄基アモルファス合金、その粉粒体、及びその圧粉材
26日前
新東工業株式会社
試験システム
6日前
新東工業株式会社
アルミニウム合金部材の製造方法、及び、ショットピーニング装置
6日前
個人
タップ
6か月前
個人
フライス盤
1か月前
個人
加工機
5か月前
麗豊実業股フン有限公司
ラクトバチルス・パラカセイNB23菌株及びそれを筋肉量の増加や抗メタボリック症候群に用いる用途
5か月前
株式会社北川鉄工所
回転装置
4か月前
株式会社不二越
ドリル
5か月前
日東精工株式会社
ねじ締め機
1か月前
株式会社不二越
ドリル
6か月前
日東精工株式会社
ねじ締め機
2か月前
日東精工株式会社
ねじ締め機
5か月前
日東精工株式会社
ねじ締め機
27日前
株式会社ダイヘン
溶接電源装置
3か月前
日東精工株式会社
ねじ締め装置
4か月前
株式会社ダイヘン
溶接電源装置
3か月前
株式会社ダイヘン
溶接電源装置
3か月前
日東精工株式会社
ねじ締め装置
1か月前
ダイニチ工業株式会社
配膳治具
1日前
個人
切削油供給装置
2か月前
株式会社FUJI
工作機械
26日前
株式会社FUJI
工作機械
4か月前
株式会社FUJI
工作機械
4か月前
株式会社FUJI
工作機械
1か月前
続きを見る
他の特許を見る